Texas Instruments TPS92830-Q1 Constant Current LED Driver

Texas Instruments TPS92830-Q1 Constant Current LED Driver is an advanced automotive-grade high-side constant-current linear LED controller that delivers high current using external N-channel MOSFETs. The device is compatible with a wide selection of N-channel MOSFETs and has a full set of features for automotive applications.

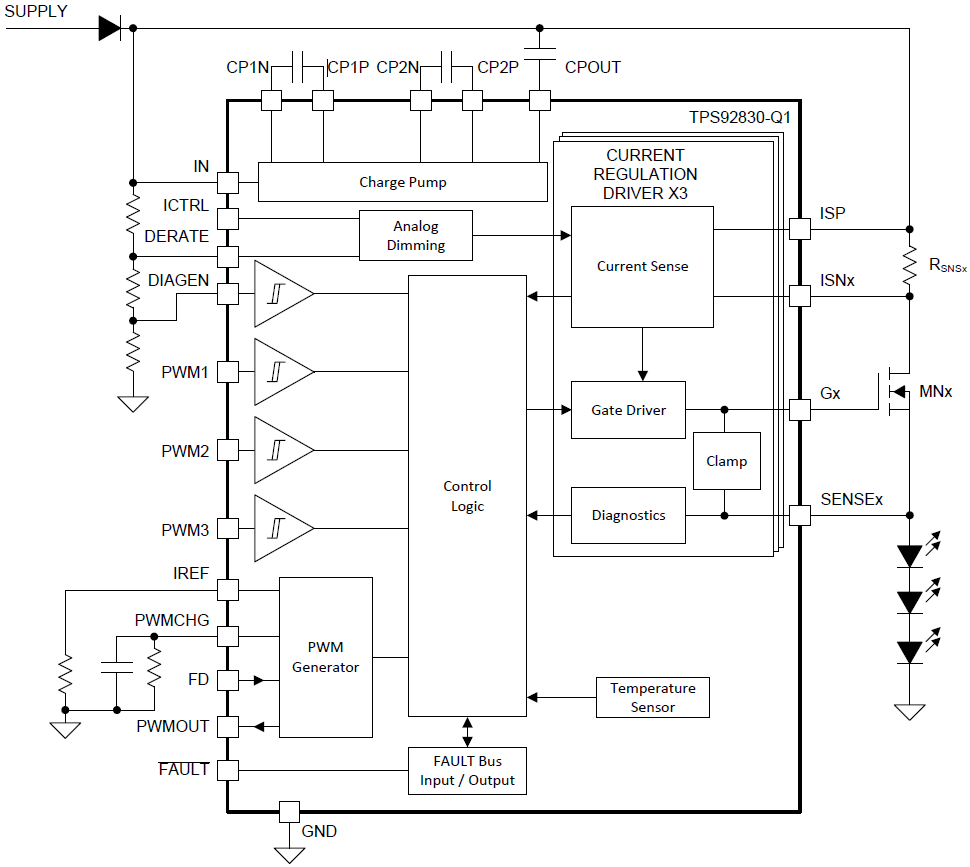
Each channel of the TPS92830-Q1 sets the channel current independently by the sense-resistor value. An internal precision constant-current regulation loop senses the channel current by the voltage across the sense resistor and controls the gate voltage of the N-channel MOSFET accordingly. The device integrates a two-stage charge pump for low-dropout operation. The charge-pump voltage is high enough to support various N-channel MOSFETs. PWM dimming allows multiple sources for flexibility—external PWM inputs, internal PWM generators, or power supply dimming. Various protection and diagnostics features are specially designed for automotive applications to help improve system robustness and ease of use. A one-fails–all-fail fault bus supports the Texas Instruments TPS92830-Q1 operation with the TPS92630-Q1, TPS92638-Q1, and TPS9261x-Q1 family to fulfill various fault-handling requirements.

Features

  • AEC-Q100 qualified
    • Device temperature Grade 1 (–40°C to 125°C ambient operating temperature range)
    • Device HBM ESD Classification Level H2
    • Device CDM ESD Classification Level C4B
  • Wide voltage input range from 4.5V to 40V
  • 3-channel high-side current driving and sensing
    • Channel-independent current setting
    • Channel-independent PWM inputs
    • PWM dimming via both PWM inputs and power supply
    • Optimized slew rate for EMC
  • High-precision LED driving
    • Precision current regulation with external N-channel MOSFET (2.5% tolerance)
    • 20:1 analog dimming profile with off-board bin resistor support
    • Precision PWM generator with full duty-cycle mask (2% tolerance)
    • Open-drain PWM output for synchronization
  • Protection and diagnostics
    • Adjustable output current derating for external MOSFET thermal protection
    • Diagnostics for LED-string open circuit or short circuit with auto-recovery
    • Diagnostic-enable with an adjustable threshold for low-voltage operation
    • Fault bus up to 15 devices, configurable as either one-fails–all-fail or only-failed-channel-off
    • Low quiescent current in fault mode (< 0.75mA per device)
  • –40°C to 150°C operating junction temperature range 
  • TSSOP 28 package (PW)

Applications

  • Rear light
    • Tail and stop light
    • Rear turn indicator
    • Fog light
    • Reverse light
  • Front light
    • Position light
    • Daytime running light
    • Front turn indicator
    • Low beam

Videos

Functional Block Diagram

Block Diagram - Texas Instruments TPS92830-Q1 Constant Current LED Driver
Publié le: 2018-01-23 | Mis à jour le: 2022-10-20