Texas Instruments can audio PCM6140-Q1
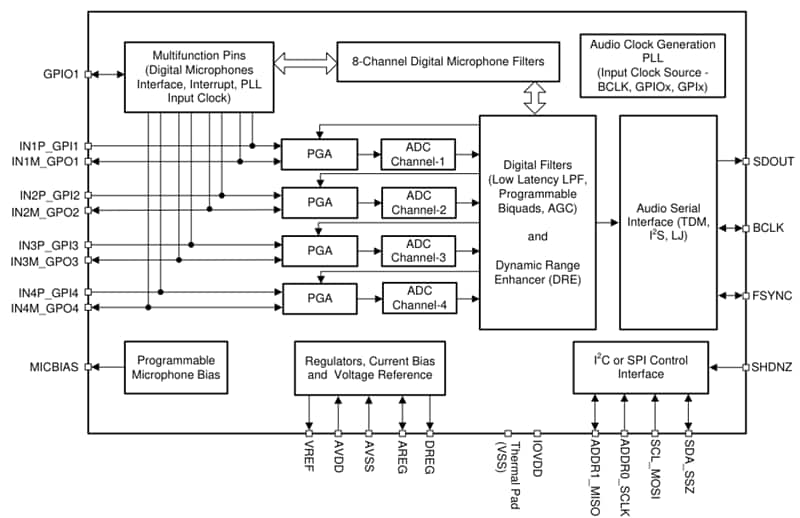
Les CAN audio de Texas Instruments PCM6140-Q1 sont des ADC multicanaux de haute performance avec la technologie Burr-Brown™. Ces CAN sont dotés d'une fréquence d'échantillonnage de 8 kHz à 768 kHz et d'un rapport signal/bruit (SNR) de 122 dB . L'appareil prend en charge les entrées de ligne et de microphone et permet des configurations d'entrée simple ou différentielle. Ces CAN intègrent un gain de canal programmable, un contrôle de volume numérique, une tension de polarisation du microphone, une boucle à verrouillage de phase (PLL), un filtre passe-haut programmable, des filtres biquad et des modes de filtrage à faible latence. NLes dispositifs PCM6140-Q1 sont qualifiés par l'AEC pour les applications automobiles.Les CAN audio PCM6140-Q1 sont intégrés avec des caractéristiques haute performance et peuvent être alimentés à partir d'une source de 3,3 V ou 1,8 V. Cela rend le composant excellent pour les systèmes audio sensibles aux contraintes d’espace dans des applications d’enregistrement de microphone à champ lointain. Ces CAN audio fonctionnent dans une plage de température de -40 °C à 125 °C et sont disponibles dans un boîtier VQFN à 24 broches. Systèmes réseau de microphones CAN audio PCM6140-Q1, assistants numériques à commande vocale, systèmes de téléconférence et systèmes de surveillance et de sécurité.
Caractéristiques
- CAN multicanaux à haute performance :
- Microphones analogiques à 4 canaux ou entrée de ligne
- Microphones numériques PDM à 8 canaux ou une combinaison de microphones analogiques et numériques
- Performances des entrées différentielles des lignes CAN et des microphones :
- Gamme dynamique (DR) :
- Activé avec un étendue dynamique de 123 dB
- DRE désactivé : 113 dB
- THD+N : -98 dB
- Gamme dynamique (DR) :
- Mode de sommation des canaux CAN, performance DR :
- DRE désactivé, sommation à 2 canaux : 116 dB
- DRE désactivé, sommation à 4 canaux : 119 dB
- Tension d'entrée CAN :
- Entrées 2 VRMS pleine échelle, différentielles
- Entrées 1 VRMS pleine échelle, asymétriques
- Taux d’échantillonnage CAN (fS) = de 8 kHz à 768 kHz
- Paramètres de canaux programmables :
- Gain du canal : 0 dB à 42 dB, par étapes de 1 dB
- Contrôle numérique du volume : -100 dB à 27 dB
- Étalonnage du gain avec une résolution de 0,1 dB
- Étalonnage de phase avec une résolution de 163 ns
- Génération de polarisation de microphone programmable ou de tension d'alimentation
- Sélection du filtre de traitement du signal à faible latence
- Filtre passe-haut (HPF) et filtres numériques biquad programmables
- Contrôleur de gain automatique (AGC)
- Contrôles I2C ou SPI
- PLL audio haute performance intégré
- Configurations de réglage automatique du diviseur d'horloge
- Interface de données série audio :
- Format : TDM, I2S ou justifié à gauche (LJ)
- Longueur du mot : 16 bits, 20 bits, 24 bits ou 32 bits
- Interface du contrôleur ou de la cible
- Fonctionnement à alimentation unique : 3,3 V ou 1,8 V
- Fonctionnement de l'alimentation des E/S : 3,3 V ou 1,8 V
- Consommation d’énergie de l’alimentation AVDD de 1,8 V :
- 8.5mW/channel à un taux d'échantillonnage de16 kHz
- 9.2mW/channel à un taux d'échantillonnage 48 kHz
Applications
- Systèmes de réseaux de microphones
- Assistants numériques à commande vocale
- Systèmes de téléconférence
- Systèmes de sécurité et de surveillance
Schéma fonctionnel
Ressources supplémentaires
Publié le: 2024-04-24
| Mis à jour le: 2025-05-08
