Texas Instruments can audio PCM5140-Q1
Les CAN audio PCM5140-Q1 de Texas Instruments sont des CAN multicanaux haute performance avec la technologie Burr-Brown™. Ces CAN disposent d’un taux d’échantillonnage de 8 kHz à 768 kHz et d’un rapport signal sur bruit (SNR) de 120 dB. Les CAN audio PCM5140-Q1 prennent en charge les entrées de ligne et de microphone, permettant des configurations d’entrée asymétriques et différentielles. Ces CAN intègrent un gain de canal programmable, un contrôle numérique du volume, une tension de polarisation du microphone, une boucle à verrouillage de phase (PLL), un filtre passe-haut programmable, des filtres biquad et des modes de filtre à faible latence. Les dispositifs PCM5140-Q1 sont qualifiés par l'AEC pour les applications automobiles.Les CAN audio PCM5140-Q1 sont intégrés avec des caractéristiques haute performance et peuvent être alimentés par une alimentation de 3,3 V ou 1,8 V. Cela rend le composant excellent pour les systèmes audio sensibles aux contraintes d’espace dans des applications d’enregistrement de microphone à champ lointain. Ces CAN audio fonctionnent dans une plage de température de -40 °C à 125 °C et sont disponibles dans un boîtier VQFN à 24 broches. Les systèmes de réseau de microphones audio CAN PCM5140-Q1, les assistants numériques à commande vocale, les systèmes de téléconférence et les systèmes de sécurité et de surveillance.
Caractéristiques
- CAN multicanaux à haute performance :
- Microphones analogiques à 4 canaux ou entrée de ligne
- Microphones numériques PDM à 8 canaux ou une combinaison de microphones analogiques et numériques
- Performances des entrées différentielles des lignes CAN et des microphones :
- Gamme dynamique (DR) :
- DRE activé avec une plage dynamique de 120 dB
- DRE désactivé 108 dB
- THD+N : -98 dB
- Gamme dynamique (DR) :
- Mode de sommation des canaux CAN, performance DR :
- 111 dB, DRE désactivé, sommation à 2 canaux
- 114 dB, DRE désactivé, sommation à 4 canaux
- Tension d'entrée CAN :
- Entrées 2 VRMS pleine échelle, différentielles
- Entrées 1 VRMS pleine échelle, asymétriques
- Taux d’échantillonnage CAN (fS) = de 8 kHz à 768 kHz
- Paramètres de canaux programmables :
- Gain du canal : 0 dB à 42 dB, par étapes de 1 dB
- Contrôle numérique du volume : -100 dB à 27 dB
- Étalonnage du gain avec une résolution de 0,1 dB
- Étalonnage de phase avec une résolution de 163 ns
- Génération de polarisation de microphone programmable ou de tension d'alimentation
- Sélection du filtre de traitement du signal à faible latence
- Filtre passe-haut (HPF) et filtres numériques biquad programmables
- Contrôleur de gain automatique (AGC)
- Contrôles I2C ou SPI
- PLL audio intégrée à hautes performances
- Configurations de réglage automatique du diviseur d'horloge
- Interface de données série audio :
- Format : TDM, I2S ou justifié à gauche (LJ)
- Longueur du mot : 16 bits, 20 bits, 24 bits ou 32 bits
- Interface du contrôleur ou de la cible
- Fonctionnement à alimentation unique : 3,3 V ou 1,8 V
- Fonctionnement de l'alimentation des E/S : 3,3 V ou 1,8 V
- Consommation d’énergie de l’alimentation AVDD de 1,8 V :
- 8.5mW/channel à un taux d'échantillonnage de16 kHz
- 9.2mW/channel à un taux d'échantillonnage 48 kHz
Applications
- Systèmes de réseaux de microphones
- Assistants numériques à commande vocale
- Systèmes de téléconférence
- Systèmes de sécurité et de surveillance
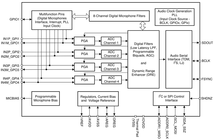
Schéma fonctionnel
Ressources supplémentaires
Publié le: 2024-04-23
| Mis à jour le: 2025-05-08
