STMicroelectronics CI lecteur RFID NFC/HF ST25R200
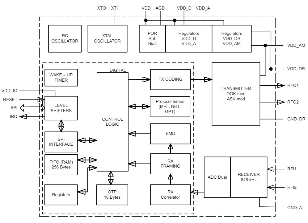
Le CI de lecteur de RFID NFC/HF ST25R200 STMicroelectronics fournit des performances haut de gamme dans un petit boîtier TQFN à 24 broches de 4 mm x 4 mm. Ce CI lecteur offre une puissance de sortie élevée avec une sortie de puissance dynamique (DPO) permettant une intégration facile dans des applications avec de petites antennes. Le CI lecteur ST25R200 comprend un oscillateur RC et un minuteur programmable pour scanner automatiquement des cartes ou d’autres dispositifs compatibles NFC tout en étant dans le mode WU. Les caractéristiques clés incluent le traitement EMD intégré et la mise en forme active de l’onde (AWS) avec une protection contre les dépassements ou les sous-dépassements. Ce CI lecteur dispose d’interfaces de communication externe, à savoir une interface périphérique série (SPI), avec des vitesses de transfert de données allant jusqu’à 10 Mbit/s.Le CI lecteur ST25R200 est conçu pour fonctionner dans la zone à large plage alimentation électrique de2,7 V à 5,5 V et dans une large plage de température zone de -40 °C à 85 °C. Les applications typiques comprennent la beauté et le style de vie, la protection des marques, la reconnaissance des accessoires, le paramétrage automatique, l’identification, les soins de santé et le contrôle d’accès.
Caractéristiques
- Meilleure détection de carte faible puissance basée sur un réveil inductif
- Puissance de sortie élevée avec la sortie de puissance dynamique (DPO)
- Possibilité de connecter deux antennes indépendantes à un seul canal
- Profondeur de modulation ASK réglable
- Traitement intégré des EMD
- Mise en forme active de l’onde (AWS) avec protection contre les dépassements et les sous-dépassements
- Contrôle de gain automatique et caractéristique d’élimination de bruit de fond pour maximiser le rapport signal-bruit
- Régulateurs intégrés pour stimuler le PSRR du système
- Mesure des caractéristiques d’antenne (canaux I/Q)
- PEPS 256 octets
Caractéristiques techniques
- Interface périphérique série (SPI) à vitesses de transfert de données jusqu’à 10 Mbit/s
- Plage de tensions de pilotes d’antenne jusqu’à 6 VP
- Large plage d'alimentation électrique de 2,7 à 5,5 V
- Large plage de température ambiante de -40 °C à 85 °C
- Boîtier TQFN à 24 broches de 4 mm x 4 mm
Applications
- Santé
- Contrôle d'accès
- Beauté et style de vie
- Appareils électroménagers et de cuisine
- Jeux et éducation
- Domotique et divertissement
- Industriel et outils
- IoT
- Protection de marque
- Détection des accessoires
- Paramétrage automatique
- Identification
- Compteurs
- Transport et billetterie
- Interaction avec l’utilisateur et engagement des consommateurs
Schéma fonctionnel
Description de la broche et du signal
Publié le: 2024-06-26
| Mis à jour le: 2024-11-20
