STMicroelectronics CI lecteur RFID NFC/HF RFID ST25R100
Le CI de lecteur de RFID NFC/HF ST25R100 STMicroelectronics a des performances haut de gamme dans un petit boîtier TQFN à 24 broches de 4 mm x 4 mm. Ce CI lecteur offre une puissance de sortie élevée avec une sortie de puissance dynamique (DPO) permettant une intégration facile dans des applications avec de petites antennes. Le CI lecteur ST25R100 comprend un oscillateur RC et un minuteur programmable pour scanner automatiquement des cartes ou d’autres dispositifs compatibles NFC lorsque vous êtes en mode WU. Ce CI lecteur présente des interfaces de communication externe, c’est-à-dire une interface périphérique série (SPI), avec des vitesses de transfert de données allant jusqu’à 6 Mbit/s. Le CI lecteur ST25R100 est conçu pour fonctionner dans la large plage d’alimentation électrique de 2,7 V à 5,5 V et dans une large plage de température de -25 °C à 85 °C. Les applications typiques comprennent la beauté et le style de vie, la protection des marques, la reconnaissance des accessoires, le paramétrage automatique, l’identification, les soins de santé et le contrôle d’accès.Caractéristiques
- Meilleure détection de carte faible puissance basée sur un réveil inductif
- Puissance de sortie élevée avec la sortie de puissance dynamique (DPO)
- Possibilité de connecter deux antennes indépendantes à un seul canal
- Profondeur de modulation ASK réglable
- Contrôle de gain automatique et caractéristique d’élimination de bruit de fond pour maximiser le rapport signal-bruit
- Régulateurs intégrés pour stimuler le PSRR du système
- Mesure des caractéristiques d’antenne (canaux I/Q)
- PEPS 256 octets
Applications
- Santé
- Contrôle d'accès
- Beauté et style de vie
- Appareils électroménagers et de cuisine
- Jeux et éducation
- Domotique et divertissement
- Industriel et outils
- IoT
- Protection de marque
- Détection des accessoires
- Paramétrage automatique
- Identification
- Compteurs
- Transport et billetterie
- Interaction avec l’utilisateur et engagement des consommateurs
Caractéristiques techniques
- Interface périphérique série (SPI) avec vitesses de transfert de données jusqu’à 6 Mbit/s
- Plage de tension de pilote d'antenne jusqu'à 6 VP
- Large plage d’alimentation électrique de 2,7 V à 5,5 V
- Large plage de température ambiante de -25 °C à 85 °C
- Boîtier TQFN à 24 broches de 4 mm x 4 mm
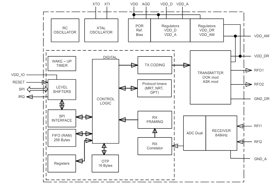
Schéma fonctionnel
Description des broches et des signaux
Publié le: 2024-06-26
| Mis à jour le: 2024-11-04
