STMicroelectronics Biocapteur ST1VAFE3BX avec vAFE
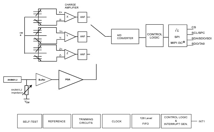
Le biocapteur ST1VAFE3BX de STMicroelectronics avec un frontal analogique vertical (vAFE) détecte les signaux biopotentiels et dispose d'un accéléromètre numérique 3 axes hautes performances pour le suivi des mouvements. Le ST1VAFE3BX de STMicroelectronics est conçu pour être compact, peu bruyant et faible puissance, avec une impédance d'entrée configurable. Le vAFE lit les signaux analogiques qui complètent les données de mouvement, synchronisant les signaux pour une analyse de pointe à faible latence et sensible au contexte. Son intégration facile permet au vAFE et à l'accéléromètre de traiter les données de manière indépendante dans le capteur MEMS, en se chargeant des tâches du microcontrôleur. Les fonctionnalités avancées incluent une machine à états finis (FSM), une auto-configuration adaptative (ASC) et un noyau d'apprentissage automatique (MLC) pour le traitement du signal et les filtres IA exportables.Caractéristiques
- Canaux doubles pour la détection de signal de biopotentiel et le suivi de mouvement
- Plage de tension d’alimentation range de 1,62 V à 3,6 V
- Alimentation indépendante des entrées/sorties (de 1,62 V à 3,6 V) pour les interfaces I2C et SPI
- Alimentation indépendante des entrées/sorties (plage étendue de 1,08 V à 3,6 V) pour l’interface MIPI I3C®
- Courant d’alimentation ultra faible à 50 µA (std.) avec mise hors tension à 2,2 µA
- Canal de détection de signal biopotentiel avec concentrateur analogique
- Amplificateur d'entrée différentielle (vAFE) monocanal
- Gain et impédance d'entrée programmables
- Résolution CAN à 12 bits
- ODR jusqu'à 3 200 Hz lors de l'utilisation du concentrateur analogique / canal vAFE uniquement
- Canal d'accéléromètre
- Faible bruit pouvant descendre à 220 µg/√Hz
- Pleine échelle programmable ±2g/±4g/±8g/±16g
- ODR de 1,6 Hz à 800 Hz
- Cœur d'apprentissage automatique intégré pour les données de concentrateur analogique / vAFE jusqu'à 1,6 kHz
- Machine à états finis programmable pour les données de concentrateur analogique / vAFE jusqu'à 1,6 kHz
- Auto-configuration adaptative (ASC) basée sur la sortie de traitement du capteur (FSM/MLC)
- PEPS intégré pouvant contenir jusqu’à 128 échantillons de données de l’accéléromètre et du concentrateur analogique / vAFE ou 256 échantillons de données de l’accéléromètre à faible résolution
- Interface de sortie numérique haute vitesse I2C/SPI/MIPI I3C
- Podomètre avancé, détecteur étape et compteur étape
- Auto-test
- Boîtier LGA à 12 fils de 2,0 mm x 2,0 mm x 0,74 mm (max)
- Résistance aux chocs élevée de 10 000 g
- ECOPACK et conforme à la directive RoHS
Applications
- Détection de signal biopotentiel (ENG, ECG, EEG)
- Appareils portables et portables
- Suivi des activités et bien-être
Vidéos
Schéma fonctionnel
Publié le: 2024-09-06
| Mis à jour le: 2025-05-08
