NXP Semiconductors CI et pilotes MC33HB2002
Les CI et pilotes MC33HB2002 de NXP Semiconductors sont des CI à pont en H monolithiques SMARTMOS améliorés avec des capacités de diagnostic et de configuration SPI. Ces CI de puissance sont capables de contrôler des charges inductives avec des courants de crête supérieurs à 10 A et le courant de charge moyen nominal continu est de 3 A. Les CI MC33HB2002 sont conçus pour répondre aux exigences de sécurité ISO26262, et ils remplissent les exigences strictes des applications automobiles et sont homologués AEC-Q100. Ces CI de puissance sont très précis en matière de rétroaction de courant temps réel grâce à un signal de sortie miroir de courant avec moins de 5 % d'erreur. Les CI MC33HB2002 fonctionnent sur une plage de tension de 5 V à 28 V. Ces CI d'alimentation sont idéaux pour une utilisation dans le contrôle électronique du papillon des gaz, le contrôle de la recirculation des gaz d'échappement (EGR), les pompes électriques, les turbocompresseurs et le contrôle des clapets anti-retour.Caractéristiques
- Rapports de diagnostic avancés via une interface périphérique série :
- Sous-tension, surtension de pompe de charge et sous-tension sur VPWR
- Court-circuit à la terre et court-circuit vers VPWR pour chaque sortie
- Charge ouverte, avertissement de température et arrêt en cas de surchauffe
- Trois tailles de boîtier disponibles en SOIC, PQFN et HVQFN
- Pilote des charges inductives en configuration pont en H ou demi-pont
- La protection contre les surtensions place la charge en mode de recirculation côté haut avec notification en mode pont en H
- Homologué AEC-Q100 classe 1
Caractéristiques techniques
- Plage de tension de fonctionnement : 5 V à 28 V
- Vitesse de balayage par défaut 2 V/μs
- Seuil de limite de courant : 7 A
- Erreur >5 %
Applications
- Commande électronique du papillon des gaz
- Contrôle de recirculation des gaz d'échappement (EGR)
- Contrôle turbo, des tourbillons et de la rotation et de clapets anti-retour
- Pompes électriques, commandes de moteur et auxiliaires
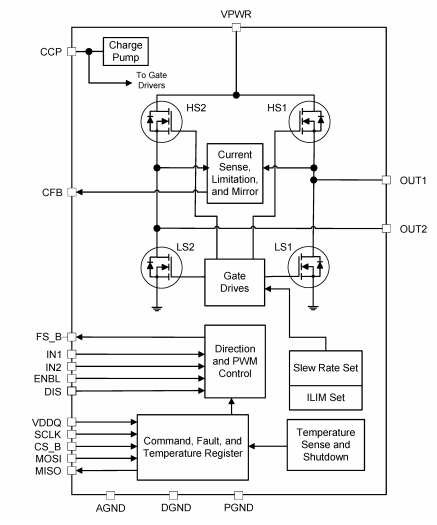
Schéma fonctionnel
Schéma d'application
Schéma fonctionnel
Schéma des états de mode de fonctionnement
Le MC33HB2000 fonctionne dans les modes suivants :
• Mode veille profonde :
les fonctions MC33HB2002 sont désactivées. La consommation de courant ne dépasse pas les caractéristiques de courant de l'état de veille.
• Mode veille
la logique du MC33HB2002 est pleinement opérationnelle avec les sorties en état d'impédance élevée.
• Mode normal :
les fonctions du MC33HB2002 sont pleinement opérationnelles. Toute erreur détectée fait passer l'appareil en mode défaillance.
• Mode défaut :
certaines fonctions sont mises à l'arrêt forcé et le signal FS_B est verrouillé à la logique [0] indiquant un défaut
Publié le: 2020-06-09
| Mis à jour le: 2022-03-11
