NXP Semiconductors CI de puissance et pilotes MC33HB2000
Les CI et pilotes de puissance MC33HB2000 NXP Semiconductors sont des CI à pont en H monolithiques SMARTMOS améliorés avec des capacités de diagnostic et de configuration SPI. Ces CI de puissance peuvent contrôler des charges inductives avec des courants de crête supérieurs à 10 A et le courant de charge moyen nominal continu est 3 A. Les CI MC33HB2000 NXP sont conçus pour répondre aux exigences de sécurité ISO26262, répondre aux exigences strictes des applications automobiles et sont homologués AEC-Q100. Ces CI de puissance sont hautement précis en retour de courant en temps réel via un signal de sortie miroir de courant avec une erreur inférieure à 5 %. Les CI MC33HB2000 fonctionnent sur une plage de tension de 5 V à 28 V. Ces CI de puissance sont idéaux pour le contrôle électronique du papillon, le contrôle de recirculation des gaz d’échappement (EGR), les pompes électriques, le contrôle du turbo et du clapet de déchets.Caractéristiques
- Rapports de diagnostic avancés via une interface périphérique série :
- Sous-tension, surtension de pompe de charge et sous-tension sur VPWR
- Court-circuit à la terre et court-circuit vers VPWR pour chaque sortie
- Charge ouverte, avertissement de température et arrêt en cas de surchauffe
- Tailles de boîtier SOIC, PQFN et HVQFN
- Pilote des charges inductives en configuration à pont en H ou demi-pont complet
- La protection contre les surtensions place la charge en mode de recirculation côté haut avec notification en mode pont en H
- Homologué AEC-Q100 classe 1
Applications
- Commande électronique de papillon
- Contrôle de recirculation des gaz d'échappement (EGR)
- Contrôle turbo, des tourbillons et de la rotation et de clapets anti-retour
- Pompes électriques, commande de moteur et auxiliaires
Caractéristiques techniques
- Plage de tension de fonctionnement de 5 V à 28 V
- Vitesse de balayage par défaut 2 V/μs
- Seuil de limite de courant : 7 A
- Erreur >5 %
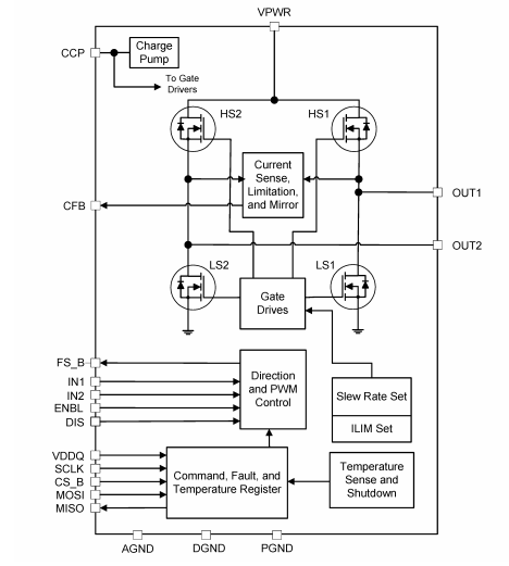
Schéma fonctionnel
Schéma de principe fonctionnel
Schéma des états de mode de fonctionnement
Modes de fonctionnement
• Mode veille : les fonctions du MC33HB2000 sont désactivées. La consommation de courant ne dépasse pas la spécification de courant en état de veille.
• Mode veille : la logique MC33HB2000 est pleinement opérationnelle avec les sorties en état d’impédance élevée.
• Mode normal : les fonctions du MC33HB2000 sont pleinement opérationnelles. Toute erreur détectée passe le dispositif en mode défaillance.
• Mode défaut : certaines fonctions sont mises à l'arrêt forcé et le signal FS_B est verrouillé à la logique [0] indiquant un défaut
Publié le: 2020-06-09
| Mis à jour le: 2024-10-17
