Diodes Incorporated Contrôleur USB PD DRP AP53782 avec interface I2C
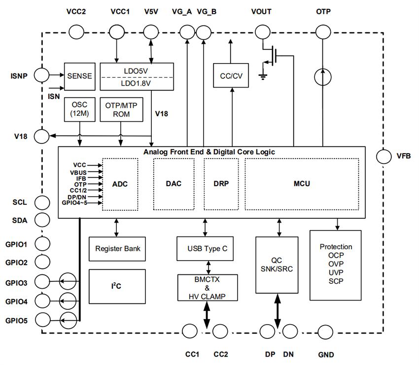
Le Contrôleur DRP (alimentation à double rôle) USB PD (Power Delivery) AP53782 de Diodes Inc. est un contrôleur DRP PD3.1 USB Type-C® à haute intégration et à interface l2C, pour une commande flexible de système. L'AP53782 de Diodes Inc. prend en charge la plage d’alimentation étendue (EPR)/alimentation à tension réglable (AVS) jusqu’à 28 V et la plage d’alimentation standard (SPR)/alimentation programmable (PPS) jusqu’à 21 V, ce qui est idéal pour les applications nécessitant une négociation dynamique de la tension et du courant.Conçu pour fonctionner avec un microcontrôleur externe via l2C (SCL, SDA) et des broches d'interruption, l'AP53782 permet une commande précise de rôles d'alimentations électriques. Par le biais des commandes l2C, le microcontrôleur hôte peut configurer le dispositif comme dissipateur pour demander des RDO (objets de données de requête) spécifiques à une source compatible PD3.1, ou comme source pour fournir des PDO (objets de données de puissance) aux dispositifs équipés d'un connecteur de Type-C.
L'AP53782 prend en charge les protocoles QC2.0/3.0, le mode batterie vide et fournit une rétroaction VFB pour les contrôleurs CC/CC externes pendant la négociation d'alimentation. Le contrôleur intègre des résistances de terminaison Rp/Rd et des commutateurs de commande DRP, et fonctionne de 3,6 V à 28 V avec une topologie de détection de courant côté bas. La consommation en mode arrêt est aussi faible que 50 µA, ce qui permet de répondre aux besoins des dispositifs alimentés par batterie.
Construit sur un processus haute tension, l'AP53782 comprend des fonctionnalités de protection avancées telles qu'une protection contre les courts-circuits sur les broches CC jusqu'à 34 V et sur les broches DP/DN jusqu'à 24 V. Le micrologiciel intelligent offre des mécanismes de sécurité complets, y compris une protection contre les surtensions (OVP), une protection contre les sous-tensions (UVP), une protection contre les surintensités (OCP), ainsi qu'une fonction de détection d'humidité pour le connecteur USB. Les fonctionnalités supplémentaires comprennent des pilotes de grille doubles pour les commutateurs VBUS nMOS, des voies de décharge VBUS/VOUT et un redémarrage automatique après des conditions de défaillance.
Certifié USB PD3.1 v1.8 (TID : 11689), l’AP53782 est entièrement conforme à la directive RoHS et sans halogène, ce qui en fait une solution fiable et respectueuse de l’environnement pour les applications d'alimentation USB Type-C modernes.
Caractéristiques
- Certifié USB PD3.1 v1.8 avec TID : 11689
- Prend en charge le contrôle DRP autonome
- Prend en charge l'EPR/AVS jusqu'à 28 V avec 100 mV/incrément
- Prend en charge le SPR jusqu’à 21 V avec 20 mV/incrément et 50 mA/incrément
- Consommation d’énergie aussi faible que 50 µA en mode veille
- Prend en charge le registre d'état pour la surveillance et le contrôle du système
- Prend en charge des commandes par l2C, pour des sélections de PDO et de RDO
- Prend en charge des commandes par l2C, pour qu'un microcontrôleur externe puisse surveiller et contrôler
- Prend en charge les contrôles de dissipateur/source QC2.0/3.0
- Prend en charge les commandes de grilles doubles pour les commutateurs VBUS nMOS
- Prend en charge la rétroaction VFB via le CNA de courant pour le CC/CC externe
- Plage de tension d'exploitation de 3,6 V à 28 V avec détection de courant côté bas
- Prend en charge les voies de décharge VBUS et VOUT
- Prend en charge le mode batterie vide
- Prend en charge les protections OVP/UVP/OCP avec redémarrage automatique
- Prend en charge la détection d’humidité pour le connecteur USB
- Protection contre les courts-circuits VBUS jusqu’à 34 V sur les broches CC1/CC2, jusqu’à 24 V sur les broches DP/DN
- Boîtier WQFN-24 pour montage en surface
- Totalement sans plomb et conforme à la directive RoHS
- Dispositif écologique, sans halogène ni antimoine
Applications
- Bancs de charge
- Outils électriques
- Haut-parleurs sans fil
- Vélos électriques
- Bornes POS
- Écrans portables
Caractéristiques techniques
- Plage de tension d'alimentation de 3,6 V à 28 V
- Courant d'alimentation d'exploitation de 2,5 mA
- Tension d'alimentation de fonctionnement de 3 V
- La chaleur
- Résistance jonction-ambiance 29,6°C/W
- Résistance jonction-boîtier (haut) 20,6°C/W
- Résistance jonction-carte 11,2°C/W
- Paramètre de caractérisation jonction-haut 0,4°C/W
- Paramètre de caractérisation jonction-haut 11,4°C/W
- Résistance jonction-boîtier (bas) 6,0 °C/W
- Valeurs DES
- Modèle corps humain (HBM) maximum de 2 kV
- Modèle d’appareil chargé (CDM) maximum de 750 V
- Plage de température ambiante de fonctionnement de -40 °C à +85 °C
- Plage de température de jonction de fonctionnement de -40 °C à +125 °C
- Température maximale de soudage au plomb de +300 °C pendant 10 s
Outil de développement
Circuit d'applications typiques
Schéma fonctionnel
