Analog Devices Inc. Atténuateurs numériques en silicium ADRF5715
Les atténuateurs numériques en silicium ADRF5715 d'Analog Devices Inc. sont des atténuateurs numériques 1 bit avec affaiblissement de 16 dB. Ces atténuateurs fonctionnent sur une plage de fréquence ultra-large bande de 1 MHz à 30 GHz avec un affaiblissement d’insertion supérieur à 1,15 dB et une excellente précision d’affaiblissement. Les atténuateurs en silicium ADRF5715 disposent de ports ATTIN et ATTOUT qui offrent une capacité de traitement de puissance d’entrée RF de 30 dBm en moyenne et de 33 dBm en crête. Ces atténuateurs disposent d’une double tension d’alimentation de -3,3 V et 3,3 V et prennent en charge un fonctionnement à alimentation simple. Les applications standard incluent les scanners industriels, l’infrastructure cellulaire à ondes millimétriques 5G, les radios militaires, les radars, les radios micro-ondes et les contre-mesures électroniques (ECM).Les atténuateurs en silicium ADRF5715 sont compatibles avec les semi-conducteurs complémentaires à oxyde métallique (CMOS) et la logique transistor-transistor basse tension (LVTL). Ces atténuateurs sont disponibles en boîtier LGA 2,25 mm x 2,25 mm à 12 bornes et sont conformes à la directive RoHS.
Caractéristiques
- Plage de fréquence ultra-large bande de 1 MHz à 30 GHz
- Pas d’affaiblissement simple de 16 dB
- Affaiblissement d’insertion faible :
- De 0,6 dB à 8 GHz
- De 0,8 dB à 18 GHz
- De 1,15 dB à 30 GHz
- Précision d’affaiblissement :
- ±0,15 dB standard jusqu’à 18 GHz
- ±0,20 dB standard de 18 GHz jusqu’à 30 GHz
- Grande linéarité d'entrée
- État d'affaiblissement d’insertion P0.1dB standard de 33 dBm
- État d'affaiblissement 16 dB P0.1dB standard de 30 dBm
- État d'affaiblissement d’insertion IP3 standard de 51 dBm
- État d'affaiblissement IP3 16 dB standard de 49 dBm
- Traitement de la puissance RF élevée
- Données aux ports ATTIN et ATTOUT
- Moyenne d'état stable standard 30 dBm
- Pic d’état stable standard 33 dBm
- Données aux ports ATTIN et ATTOUT
- Temps de stabilisation d’amplitude RF standard de 6,5 µs (0,1 dB de RFOUTfinale)
- Fonctionnement à alimentation simple pris en charge
- Distribution étroite en phase relative
- Aucun signal parasite à basse fréquence
- Compatible CMOS/LVTTL
- Boîtier Land Grid Array [LGA] à 12 bornes, 2,25 mm x 2,25 mm
Applications
- Lecteurs industriels
- Test et instrumentation
- Infrastructure cellulaire à ondes millimétriques 5G
- Radios et radars militaires
- Contre-mesures électroniques (ECM)
- radios micro-ondes
- Bornes à très petite ouverture (VSAT)
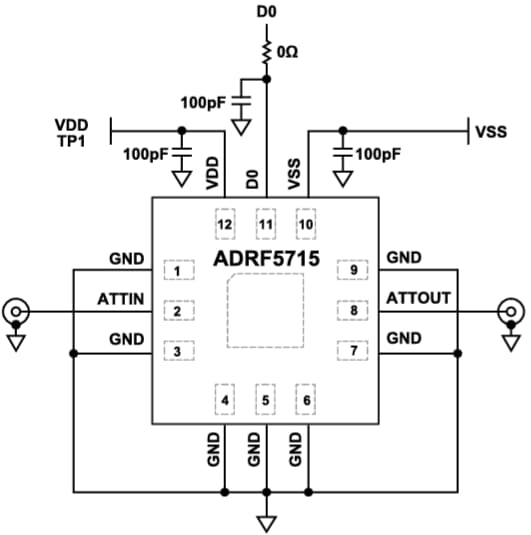
Circuit d’application simplifié
Schéma fonctionnel
Publié le: 2024-01-31
| Mis à jour le: 2024-03-06
