Analog Devices / Maxim Integrated Régulateurs de tension de commutation ADPL12010
Les régulateurs de tension de commutation Analog Devices / Maxim Integrated ADPL12010 sont des convertisseurs Buck entièrement intégrés de 20 V, 8 A/10 A, avec un courant de repos de 20μA et une capacité biphasée. Ces dispositifs sont des convertisseurs Buck synchrones hautement intégrés avec des commutateurs internes côté haut et côté bas. Les régulateurs ADPL12010 peuvent fonctionner en mode perte de niveau en fonctionnant à un rapport cyclique très élevé, ce qui les rend idéaux pour les applications d'automatisation d'usine. Ces IC ADPL12010 sont disponibles dans un boîtier de petite taille, 3,5 mm x 3,75 mm, quadruple à 17 broches, sans plomb (FC2QFN). Les convertisseurs Buck ADPL12010 sont compatibles avec la famille de dispositifs ADPL12005/ADPL12006 (5 A à 6 A). Ces convertisseurs Buck sont idéaux pour l'automatisation d'usine, le point de charge, les systèmes d'alimentation CC distribués, l'infrastructure de communication et les tests et mesures.Caractéristiques
- Convertisseur CC/CC haute puissance dans une petite taille de solution :
- Plage de fonctionnement VIN de 3 V à 20 V
- Convertisseur CC-CC synchrone avec FET intégrés
- Courant de sortie maximal de 8/10 A
- Options de fréquence fixe : 400 kHz et 1,5 MHz
- Temps de démarrage progressif fixe :
- 2,5 ms pour 400 kHz
- 3,5 ms pour 1,5 MHz
- 36 ns de temps d'allumage minimum
- Tensions de sortie programmables :
- 0,8 V à 10 V pour 400 kHz
- 0,8 V à 6 V pour 1,5 MHz
- Placement de brochage SUP et PGND symétrique et équilibré pour de meilleures performances de brouillage électromagnétique (EMI)
- Boîtier FC2QFN de 3,5 mm x 3,75 mm, 17 broches, amélioré thermiquement
- Haute efficacité dans toutes les plages de charge :
- Courant de repos de 20 μA en mode saut
- Efficacité jusqu'à 95,6 % à 12 VIN/3,3 VOUT/400 kHz
- Efficacité jusqu'à 93,9 % à 12 VIN/3,3 VOUT/1,5 MHz
- Exploitation biphasée jusqu'à la capacité de charge de 20 A :
- Synchronisation de fréquence entrée/sortie
- Déphasage de 180 ° entre le contrôleur et la cible
- Partage de courant dynamique
- Exploitation en mode PWM forcé et en mode saut
- Exploitation avec faible perte de niveau
- Indicateur de bonne alimentation
- Protection contre les surchauffes et les courts-circuits
- Plage de température de fonctionnement de jonction de -40 °C à 150 °C
- Solution d'alimentation évolutive
- Empreinte compatible avec ADPL12005/ADPL12006
Applications
- Automatisation d'usine
- Point de charge
- Systèmes d’alimentation CC distribués
- Infrastructure de communication
- Test et mesure
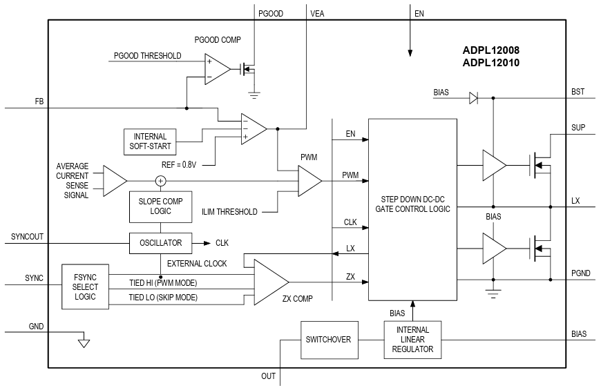
Schéma fonctionnel
Configuration des broches
Publié le: 2025-09-15
| Mis à jour le: 2025-10-02
