Analog Devices Inc. Plateforme de développement rapide en robotique GMSL ADI AD-GMSL522-SL
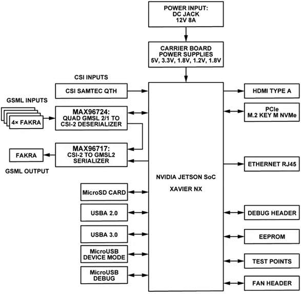
Les plateformes de développement rapide en robotique GMSL AD-GMSL522-SL d'Analog Devices sont des solutions logicielles et cartes porteuses basées sur NX NVIDIA Jetson Xavier™ avec GMSL qui permettent une conversion simple caméra-écran. Ces solutions créent une plateforme GMSL évolutive et conviviale pour la réception et la transmission de données. Les plateformes permettent des démonstrations et le développement d’écosystèmes en servant de plateforme matérielle pour le développement de logiciels. La conception intègre le désérialiseur quadruple de tunnel GMSL2/1 vers CSI-2 MAX96724GTN/VY+ et le sérialiseur CSI-2 vers GMSL2 MAX96717GTJ/VY+ et fournit une plateforme fiable pour évaluer le GMSL à large bande passante. Ces cartes sont utilisées dans les ECU de fusion de capteur, l'infodivertissement en cabine et les solutions de caméra de système d'aide à la conduite (ADAS).La série AD-GMSL522-SL d'Analog Devices prend en charge deux formes d'entrée de caméra : des données CSI provenant directement d'un connecteur Samtec ou via des modules de caméra utilisant la technologie GMSL2 ou GMSL1 pour se connecter au MAX96724 embarqué via des connecteurs COAX. Les kits d'évaluation GMSL ou toute caméra utilisant le connecteur standard de 15 ou 22 broches Raspberry Pi peuvent être connectés à l'aide de la carte adaptateur AD-GMSLCAMRPI-SL.
Le boîtier AD-GMSL522-SL comprend des outils logiciels pour permettre au client de développer des applications GMSL. Ces outils comprennent des noyaux L4T modifiés qui prennent en charge certains modules de caméra et la documentation permettant aux utilisateurs de mettre à jour ces noyaux pour des besoins matériels spécifiques.
Caractéristiques
- Système de prototypage GMSL2 prenant en charge les SoC Jetson™ NVIDIA
- Le MAX96724 embarqué permet 4 entrées de caméra GMSL2/1 fournissant le lancement, le débogage et le streaming vidéo du module de caméra
- MAX96717 embarqué qui peut être utilisé pour l’émulation de caméra et le débogage de l’unité principale
- Permet le développement d’applications GMSL avec le SoC Jetson NVIDIA
- Connecteur Samtec qui permet la connexion de tout kit d’évaluation DPHY GMSL au NVIDIA Jetson
- Entrées de carte USB, Ethernet, PCIe et microSD supplémentaires
Applications
- Solutions de caméra ADAS
- ECU de fusion de capteurs
- Surveillance du conducteur et de l'occupant
- Info-divertissement en cabine
Vidéos
Architecture système
| Numéro de pièce | Fiche technique | Description |
|---|---|---|
| AD-GMSL522-SOM-SL | Outils de développement d'interface Nvidia SoC based dev't platform + SOM | |
| AD-GMSL522-SL | Outils de développement d'interface Nvidia SoC based development platform |
