YAGEO Résistances série NT AEC-Q200 au nitrure de tantale
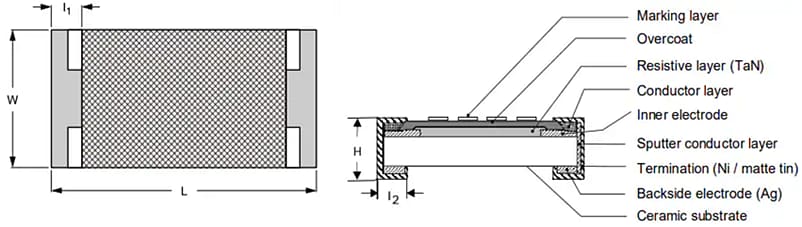
Les résistances de la série NT nitrure de tantale (TaN) AEC-Q200 YAGEO sont idéales pour l'électronique automobile, les équipements industriels/médicaux et les applications de test et de mesure. Ces résistances ont pour caractéristique une résistance supérieure aux environnements contenant du soufre et des performances à haute température, garantissant une fiabilité à long terme. Un corps céramique de haute qualité compose ces résistances, ainsi que des électrodes internes métalliques qui sont ajoutées à chaque extrémité, connectées par une couche résistive. Les couches résistives sont ajustées à leur valeur nominale, et, à leurs deux extrémités, un contact est réalisé, assurant une soudabilité optimale. Les résistances YAGEO TaN AEC-Q200 offrent une plage de température de fonctionnement de -55°C à +155°C.Caractéristiques
- Homologué AEC-Q200
- Résistance accrue aux environnements contenant du soufre
- Sans plomb sans exemption
- Époxy sans halogènes
- Réduction des risques environnementaux
- Fabriquées à partir de matériaux non soumis à des interdictions
Applications
- Électronique pour automobiles
- Équipements médicaux et industriels
- Équipement de test et de mesure
- Télécommunications
Caractéristiques techniques
- Tailles 0402, 0603, 0805 et 1206
- Tolérance: ±0,1 %
- Corps en céramique de haute qualité
- Tension de fonctionnement maximale de 75 V à 200 V
- Plage de température de fonctionnement de -55 °C à +155 °C
Vidéos
Profil de boîtier
Comparaison de la fiabilité
Publié le: 2024-03-04
| Mis à jour le: 2025-10-31
