Texas Instruments SN75LVDS83B Flatlink™ Transmitters
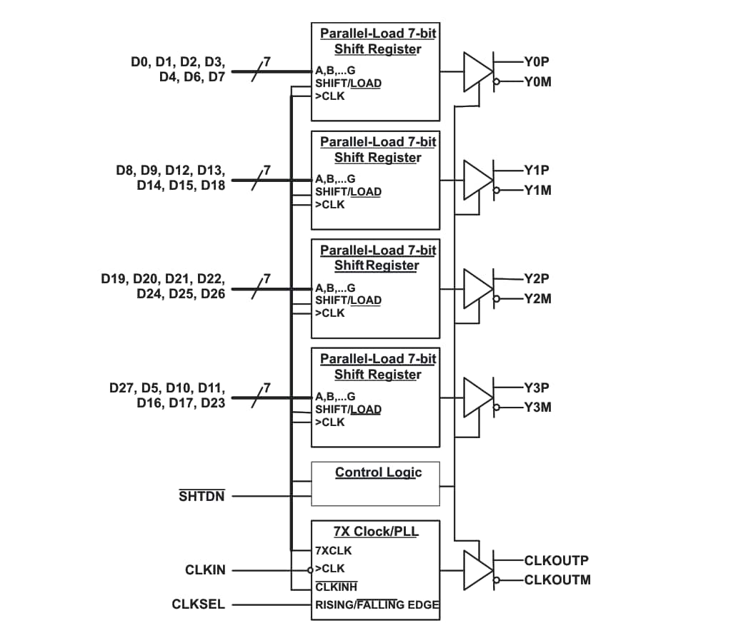
Texas Instruments SN75LVDS83B FlatLink™ Transmitter is the first LVDS serializer that connects directly to 1.8V powered processors, eliminating a costly level shifter, lowering cost, and reducing board space by up to 83 percent. This TI device contains four 7-bit parallel-load serial-out shift registers, a 7X clock synthesizer, and five Low-Voltage Differential Signaling (LVDS) line drivers in a single integrated circuit. The SN76LVDS83B FlatLink transmitter allows 28 bits of single-ended LVTTL data to be synchronously transmitted over five balanced-pair conductors for receipt by a compatible receiver or LCD panels with integrated LVDS receiver. This Texas Instruments FlatLink transmitter provides a Transfer Rate up to 135Mpps and a Pixel Clock Frequency Range of 10MHz to 135MHz. The SN75LVDS83B operates from a single 3.3V supply and 170mW at 75MHz. It is ideal for LCD Display Panel Drive, UMPC and Netbook PC, and a digital picture frame.Features
- LVDS Display Series Interfaces Directly to LCD
- Display Panels With Integrated LVDS
- Package Options: 4.5mm × 7mm BGA, and 8.1mm × 14mm TSSOP
- 1.8V Up to 3.3V Tolerant Data Inputs to Connect
- Directly to Low-Power, Low-Voltage Application, and Graphic Processors
- Transfer Rate up to 135Mpps (Mega Pixel Per Second);
- Pixel Clock Frequency Range 10MHz to 135MHz
- Suited for Display Resolutions Ranging From HVGA up to HD With Low EMI
- Operates From a Single 3.3V Supply and 170mW (Typ.) at 75MHz
- 28 Data Channels Plus Clock in Low-Voltage TTL to 4
- Data Channels Plus Clock Out Low-Voltage Differential
- Consumes Less Than 1mW When Disabled
- Selectable Rising or Falling Clock Edge Triggered Inputs
- ESD: 5kV HBM
- Support Spread Spectrum Clocking (SSC)
- Compatible with all OMAP™ 2x, OMAP™ 3x, and DaVinci™ Application Processors
Applications
- LCD Display Panel Driver
- UMPC and Netbook PC
- Digital Picture Frame
Videos
FlatLink Transmitter Diagram
Block Diagram
Publié le: 2009-06-17
| Mis à jour le: 2022-03-11
