Texas Instruments Pilote de grille isolé monocanal UCC21756-Q1
Le pilote de grille isolé monocanal UCC21756-Q1 de Texas Instruments est conçu pour MOSFET SiC et IGBT jusqu’à une tension d’exploitation de 2 121 V CC avec des fonctionnalités de protection avancées, la meilleure performance dynamique de sa catégorie et la robustesse. L’UCC21756-Q1 a un courant de source et de dissipateur de crête pouvant atteindre ±10 A. Le côté entrée est isolé du côté sortie avec la technologie d’isolation capacitive SiO2 prenant en charge une tension de fonctionnement jusqu’à 1,5 kVRMS, une immunité aux surtensions de 12,8 kVPK avec une durée de vie de la barrière d’isolation supérieure à 40 ans, et offrant une faible distorsion de pièce à pièce, et une immunité au bruit en mode commun (CMTI) > 150 V/nsL'UCC21756-Q1 de Texas Instruments comprend des caractéristiques de protection de pointe, telles que la détection rapide des courts-circuits et de surintensité, le signalement des défauts et la pince Miller active. Il fournit également une alimentation électrique côté entrée et sortie UVLO pour optimiser le comportement de commutation SiC et IGBT et la robustesse. Le capteur isolé analogique à MLI peut être utilisé pour une détection plus facile de la température ou de la tension, augmentant la polyvalence des pilotes et simplifiant l’effort de conception, la taille et le coût du système.
Caractéristiques
- Pilote de grille isolé monocanal de 5,7 kVRMS
- Homologué AEC-Q100 avec les résultats suivants
- Plage de température de fonctionnement ambiante de -40 °C à +150 ºC (température de dispositif de classe 0)
- Niveau de classification 3A des dispositifs HBM DES
- Niveau 6 de classification d'appareil CDM ESD
- Sécurité fonctionnelle gérée par la qualité
- Documentation disponible pour aider à la conception de systèmes de sécurité fonctionnels
- MOSFET SiC et IGBTs jusqu’à 2 121 Vpk
- Tension de sortie maximale du pilote de 33 V (VDD-VEE)
- Force d'entraînement et sortie divisée ±10 A
- CMTI minimum 150 V/ns
- Protection DESAT rapide à temps de réponse de 200 ns avec un seuil de 5 V
- Pince Miller active interne 4 A
- Arrêt progressif de 900 mA en cas de défaut
- Capteur analogique isolé avec sortie PWM pour
- Détection de température avec diode NTC, PTC ou thermique
- Liaison CC haute tension ou tension de phase
- Alarme FLT sur surintensité et réinitialisation à partir de RST/EN
- Réponse activation/désactivation rapide sur RST/EN
- Rejettent les transitoires de bruit < 40 ns="" et="" l'impulsion="" sur="" les="" broches="">
- UVLO de 12 V VDD avec bonne alimentation sur RDY
- Entrées/sorties avec immunité de tension transitoire supérieure/inférieure jusqu’à 5 V
- Délai de propagation de 130 ns (maximum) et inclinaison d'impulsion/de pièce de 30 ns (maximum)
- Boîtier SOIC-16 DW avec ligne de fuite et distance d'isolement > 8 mm
- Température de fonctionnement de jonction de –40 °C à 150 °C
Applications
- Convertisseurs de traction pour véhicules électriques
- Chargeurs embarqués et piles de chargement
- Convertisseurs CC/CC pour véhicules HEV/VE
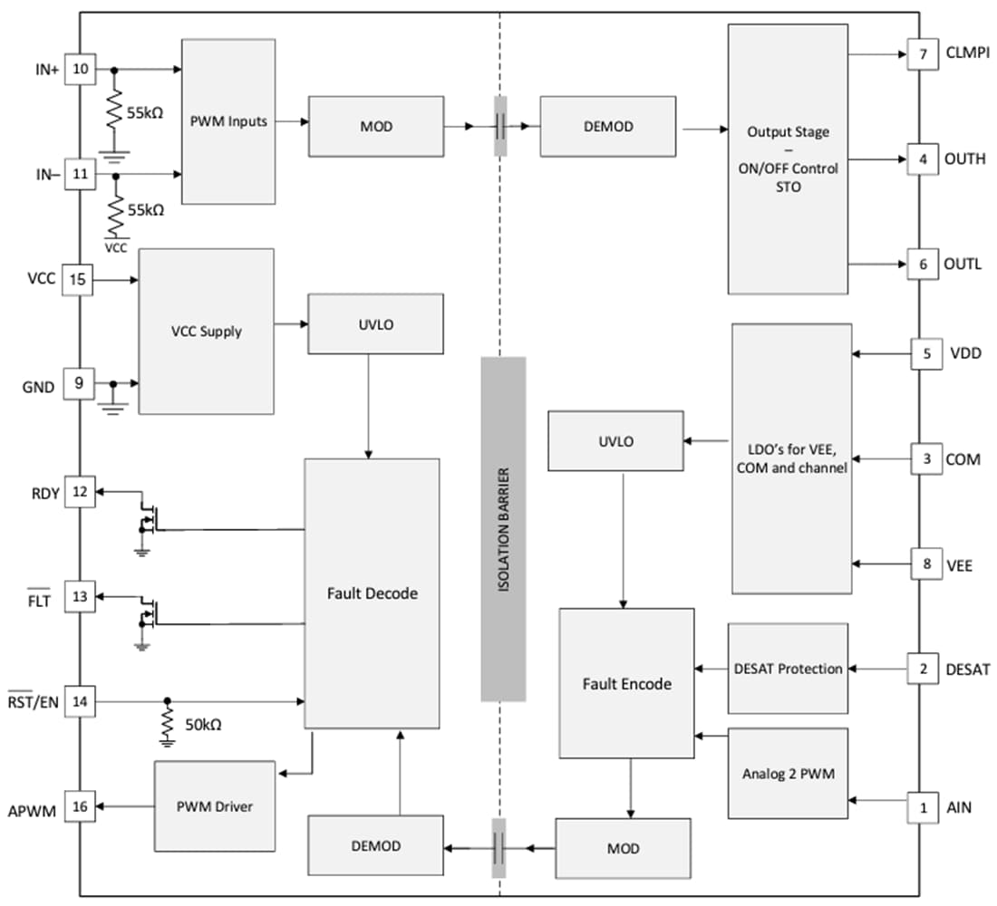
Schéma fonctionnel
Ressources supplémentaires
Publié le: 2023-05-05
| Mis à jour le: 2025-03-06
