Texas Instruments Pilote de grille monocanal isolé UCC21717-Q1
Le pilote de grille monocanal isolé UCC21717-Q1 de Texas Instruments est conçu pour piloter des IGBT et MOSFET SiC jusqu'à 1 700 V. Il dispose d'une protection intégrée avancée, de performances dynamiques supérieures et d'une grande robustesse. L'UCC21717-Q1 a un courant de source et de dissipateur de pointe pouvant atteindre ±10 A. Le côté entrée est isolé du côté sortie avec la technologie d'isolation capacitive SiO2 prenant en charge jusqu'à 1,5 kVRMS de tension de fonctionnement, une immunité aux surtensions 12,8 kVPK avec une durée de vie de barrière d'isolation supérieure à 40 ans, ainsi qu'une faible distorsion de pièce à pièce et une immunité au bruit en mode commun (CMTI) > 150 V/ns.L'UCC21710 Texas Instruments comprend des caractéristiques de protection de pointe, telles que la détection rapide de surintensité et de court-circuit, le support de détection de courant de shunt, le signalement de défaut, une pince Miller active, et l'alimentation électrique d’entrée et de sortie côté UVLO pour optimiser le comportement de commutation SiC et IGBT et sa robustesse. Le capteur isolé analogique à MLI peut être utilisé pour une détection de la tension ou de la température plus facile, augmentant la polyvalence des pilotes et simplifiant l'effort de conception du système, la taille et le coût.
Caractéristiques
- Pilote de grille isolé monocanal de 5,7 kVRMS
- Homologué AEC-Q100 pour les applications automobiles
- Température du dispositif de classe 0 : plage de température de fonctionnement ambiante de -40 °C à +150 °C
- Niveau de classification 3A des dispositifs HBM DES
- Niveau 6 de classification d'appareil CDM ESD
- Sécurité fonctionnelle gérée par la qualité
- Documentation disponible pour aider à la conception de systèmes de sécurité fonctionnels
- MOSFET et IGBT SiC jusqu'à 2 121 Vpk
- Tension de sortie maximale de commande de 33 V (VDD-VEE)
- Force d'entraînement et sortie divisée ±10 A
- CMTI minimum 150 V/ns
- Protection rapide contre les surintensités avec un temps de réponse de 270 ns
- Pince Miller active interne 4 A
- Arrêt progressif de 400 mA en cas de défaillance
- Capteur analogique isolé avec sortie PWM pour
- Détection de température avec diode NTC, PTC ou thermique
- Liaison CC haute tension ou tension de phase
- Alarme FLT sur surintensité et réinitialisation à partir de RST/EN
- La désactivation du dispositif avec RST/EN déclenche un arrêt progressif
- Rejette < 40="" ns="" en="" bruit="" transitoire="" et="" impulsions="" sur="" les="" broches="">
- UVLO VDD de 12 V avec alimentation correcte sur RDY
- Entrées/sorties avec immunité aux tensions transitoires de surdépassement/sous-dépassement jusqu'à 5 V
- Délai de propagation de 130 ns (maximum) et inclinaison d'impulsion/de pièce de 30 ns (maximum)
- Boîtier SOIC-16 DW avec ligne de fuite et distance d'isolement > 8 mm
- Température de jonction de fonctionnement de -40° C à 150° C
Applications
- Inverseur de traction pour EVs
- Chargeur embarqué et pile de chargement
- Convertisseur CC-CC pour HEV/EVs
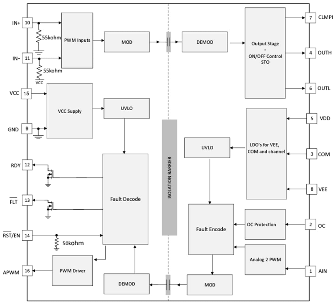
Schéma fonctionnel
Publié le: 2023-08-28
| Mis à jour le: 2025-03-06
