Texas Instruments Convertisseurs de tension 4 bits TXS0104V/TXS0104V-Q1
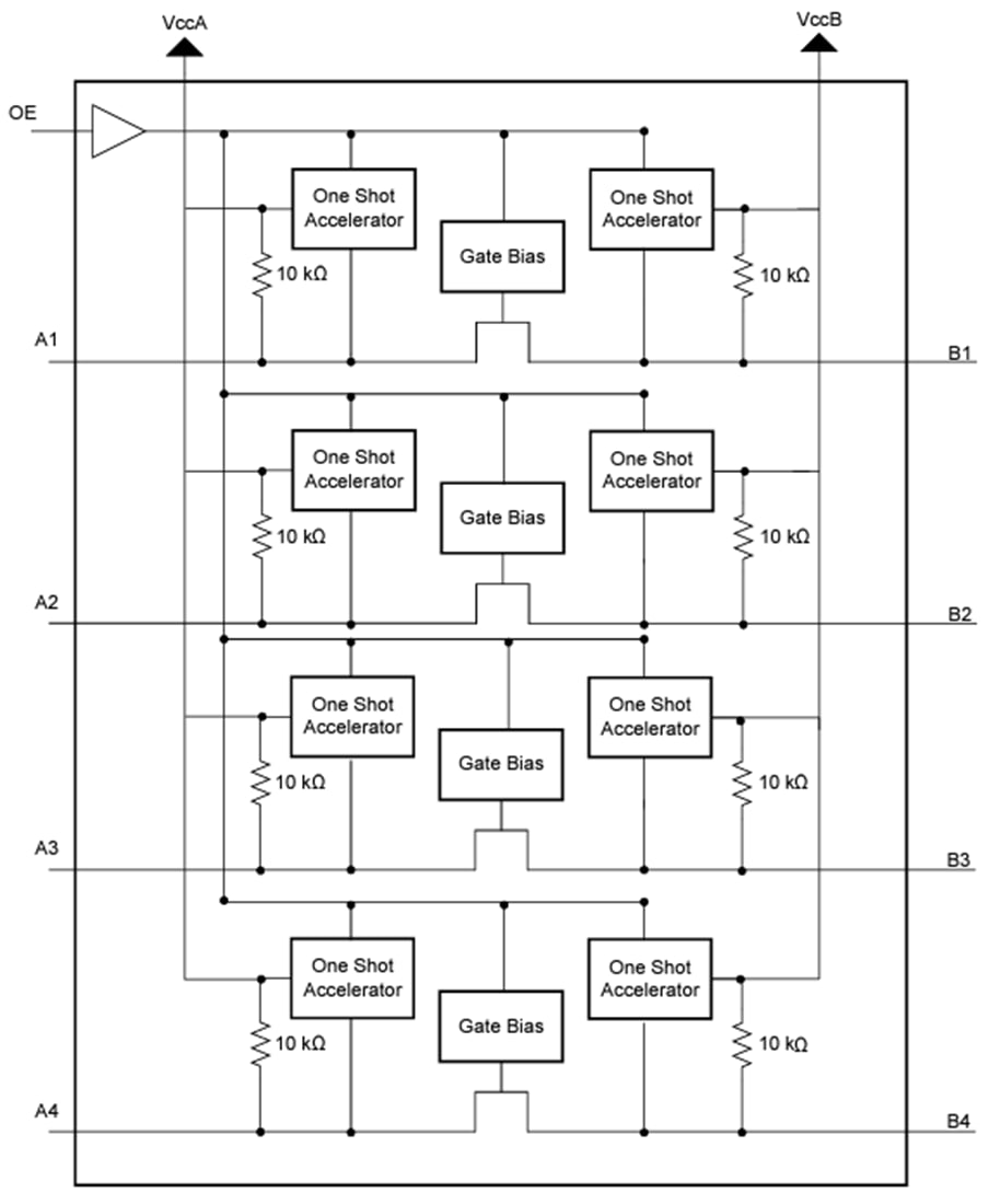
Les convertisseurs de tension de décalage de niveau 4 bits TXS0104V/TXS0104V-Q1 de Texas Instruments sont des translateurs non inverseurs qui utilisent deux rails d'alimentation configurables séparés. Le port A est conçu pour suivre VCCA, qui accepte toute tension d'alimentation de 1,65 V à 3,6 V et doit être inférieure ou égale à VCCB. Le port B est conçu pour suivre VCCB, qui accepte toute tension d'alimentation de 2,3 V à 5,5 V. Cette caractéristique permet une conversion bidirectionnelle basse tension entre les nœuds de tension 1,8 V, 2,5 V, 3,3 V et 5 V.Lorsque l'entrée d'activation de la sortie (OE) est basse, toutes les sorties sont placées dans un état d'impédance élevée. Le TXS0104V/TXS0104V-Q1 est conçu de manière à ce que le circuit d'entrée OE soit alimenté par VCCA. Pour l'état d'impédance élevée pendant le démarrage ou l'arrêt, reliez OE à GND via une résistance de rappel ; la capacité de fourniture de courant du pilote détermine la valeur minimale de la résistance. Les dispositifs TXS0104V-Q1 sont qualifiés AEC-Q100 pour les applications automobiles.
Caractéristiques
- Aucun signal de contrôle de direction n'est nécessaire
- Débits de données maximum
- 24 Mbps (push-pull)
- 2 Mbps (drain ouvert)
- 1,65 V à 3,6 V sur le port A et 2,3 V à 5,5 V sur le port B (VCCA ≤ VCCB)
- Aucun séquencement d'alimentation n'est requis : soit VCCA soit VCCB peut être augmenté en premier.
- La performance de verrouillage dépasse 100 mA selon la norme JESD 78, classe II
- La protection DES dépasse les exigences de la norme JESD 22
- Port A
- Modèle de corps humain 2000 V (A114-B)
- Modèle de dispositif chargé 500 V (C101)
- Port B
- Modèle de corps humain 5000 V (A114-B)
- Modèle de dispositif chargé 500 V (C101)
- Port A
Applications
- Combiné
- Smartphone
- Tablettes
- PC de bureau
Schéma fonctionnel
Ressources supplémentaires
Publié le: 2024-11-07
| Mis à jour le: 2025-05-09
