Texas Instruments Contrôleur de gestion de système TPS99001-Q1
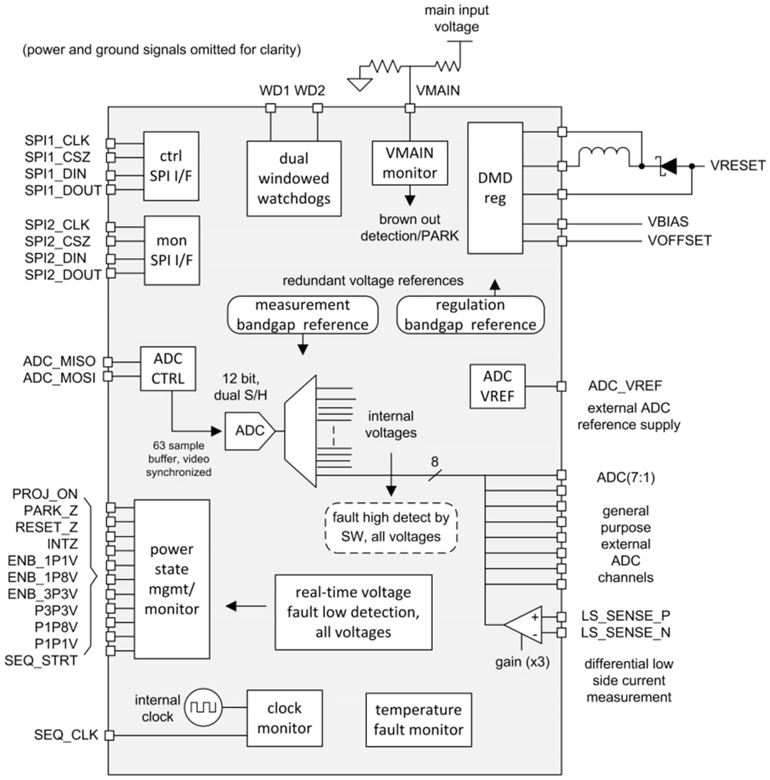
Le contrôleur de gestion système TPS99001-Q1 de Texas Instruments fait partie du chipset DLP5531-Q1, qui comprend également le contrôleur d'affichage DLPC230-Q1 Digital Micromirror Device (DMD). Un régulateur à haute tension DMD intégré fournit des tensions de référence miroir DMD, satisfaisant les tolérances étroites requises. Le séquenceur d'alimentation et le moniteur fournissent une coordination fiable des événements de mise sous tension et de mise hors tension pour l'ensemble du chipset.Le contrôleur TPS99001-Q1 de Texas Instruments intègre un CAN 12 bits comme l'un des composants centraux du système de contrôle. Le CAN est capable d'échantillonner automatiquement jusqu'à 63 événements par image vidéo.
Les circuits de surveillance avancée de l'état du système fournissent une visibilité en temps réel des conditions de fonctionnement du sous-système. Ces conditions comprennent deux circuits de surveillance de processeur, deux moniteurs de température de puce et une surveillance complète de l'alimentation pour la détection de surtension et de sous-tension. Les conditions supplémentaires incluent la protection de la somme de contrôle et du registre de mot de passe avec la parité au niveau des octets sur les transactions de bus SPI et d'autres fonctions de test intégrées.
Caractéristiques
- Qualifié pour les applications en automobile
- Certifiés AEC-Q100 avec les résultats suivants
- Température de fonctionnement ambiante de –40°C à + 105 C (classe de température 2)
- Niveau 2 de classification d'appareil HBM ESD H2
- Niveau de classification d'appareil CDM ESD C4B
- Dispositif de gestion de système automobile pour les produits DLP ®
- Circuits de protection, de séquençage et de surveillance d'alimentation avancés
- Deux moniteurs de température sur puce, horloge watchdog externe MCU, moniteur de fréquence d'horloge
- Port SPI avec protection par parité, somme de contrôle et registre de mot de passe
- Deuxième port SPI pour la surveillance indépendante du système
- Régulateurs de tension miroir DMD sur puce
- Génère des tensions de contrôle DMD de +16 V, +8,5 V et –10 V
- CAN 12 bits avec jusqu'à 63 échantillons de séquence par image
Applications
- Applications d'éclairage automobile avancées (phare haute résolution)
- Faisceau de route adaptatif (ADB)
Schéma de principe fonctionnel
