Texas Instruments Pilotes LED Boost/Buck-Boost TPS92365x
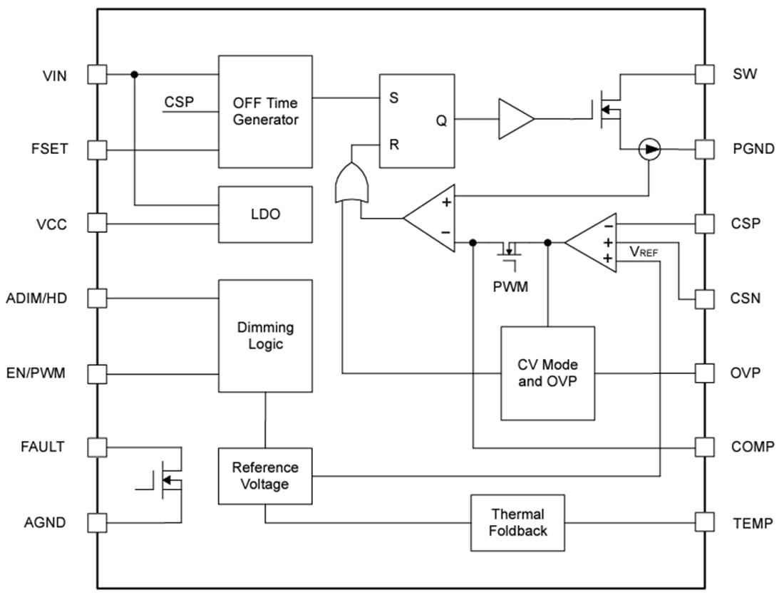
Les pilotes LED Boost/Buck-Boost non synchronisés TPS92365x de Texas Instruments ont une large plage d'entrée de 4,5 V à 65 V. En intégrant le commutateur NMOS côté bas, ces dispositifs peuvent piloter les LED et charger des batteries avec une densité de haute puissance et une haute efficacité. Ces dispositifs sont disponibles avec des limites de courant standard de 1,5 A (TPS922650), 3 A (TPS922651, TPS922652 et TPS922653) et 6,5 A (TPS922654 et TPS922655). Le TPS92365x prend en charge également la connexion à anode commune et la conception de PCB monocouche. Le fréquence de commutation est configurable de 100 kHz à 2,2 MHz avec une fonction de spectre étalé en option pour une meilleure performance EMI.Le TPS92365x prend en charge quatre options de gradation : analogique, PWM, hybride et flexible. Chaque méthode de gradation peut être configurée via les broches d’entrée PWM et ADIM à l’aide de signaux simples haut et bas. Le TPS92365x adopte un contrôle adaptatif du mode courant d’inactivité et un échantillonnage intelligent et précis pour permettre une gradation inductive rapide (IFD) et obtenir une haute précision de gradation.
Le TPS92365x de Texas Instruments fournit plusieurs protections systématiques, notamment contre les LED ouvertes et les courts-circuits, les résistances de détection ouvertes et les courts-circuits ainsi que le repli thermique configurable et l’arrêt thermique. Une sortie de défaut envoie des signaux de reconnaissance dès qu’une condition de défaut est détectée.
Caractéristiques
- Large plage d’entrée de 4,5 V à 65 V
- Connexion à anode commune LED
- MOSFET de 150 mΩ intégré avec limite de courant de 3 A/6,5 A standard
- Fréquence de commutation en option de 100 kHz à 2,2 MHz
- Spectre étalé pour TPS923653 et TPS923655
- Options de gradation avancées
- Gradation analogique (256:1)
- Gradation PWM rapide (largeur d’impulsion de 150 ns)
- Gradation hybride et flexible (2 000:1 à PWM de 20 kHz, 10 000:1 à PMW de 4 kHz, 1 000 000:1 à PMW de 120 Hz)
- Mode de chargement CC/CV
- Caractéristiques de protection complète
- Protection contre les LED ouvertes et les courts-circuits
- Protection contre les FET de commutation ouverts et les courts-circuits
- Protection contre les défaillances de composants externes
- Limite de courant cycle par cycle
- Coupure thermique
- Sortie défaut (drain ouvert)
- Courbe de repli thermique configurable
- Options de boîtier VSON, WSON et SOT-23
Applications
- Éclairage constant
- Éclairage intérieur, extérieur et professionnel
- Éclairage médical, chirurgical
- Projecteur, téléviseur laser, imprimante, caméra IP
- Éclairage instantané
- Vision industrielle, flash d'appareil photo
- Alarme incendie, stroboscope
- Source CC et CV
- Rétro-éclairage LCD
- Charge de batterie
- Contrôle TEC
Schéma fonctionnel
