Texas Instruments Pilote de rétroéclairage à LED TPS92360
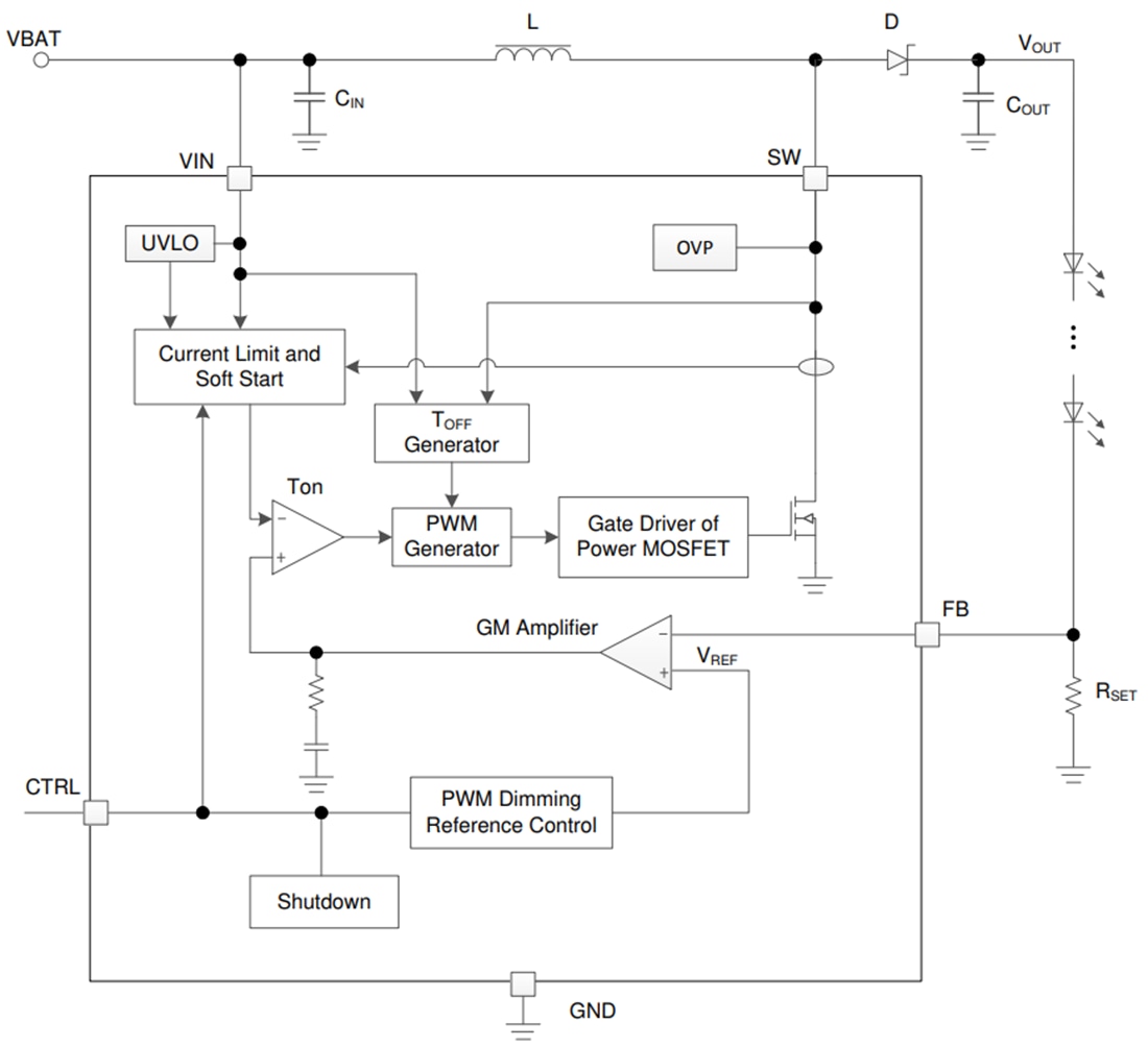
Le pilote de rétroéclairage LED TPS92360 de Texas Instruments est fourni avec un commutateur intégré FET de classe 40 V et est un convertisseur Boost qui pilote les LED en série. Le convertisseur boost dispose d'un MOSFET interne de 40 V et 1,8 A avec une limite de courant minimale de 1,2 A; il peut ainsi piloter des chaînes de LED simples ou parallèles pour un rétroéclairage de panneau de petite à grande taille. Le courant de la LED blanche par défaut est réglé avec la résistance de capteur externe, RSET et la tension de rétroaction est régulée à 204 mV. Pendant le fonctionnement, le courant de la LED peut être contrôlé à l'aide d'un signal de modulation de largeur d'impulsion (PWM) appliqué à la broche CTRL, via lequel le cycle de fonctionnement détermine la tension de référence de rétroaction. Le TPS92360 ne fait pas éclater le courant de la LED ; il ne génère donc pas de bruits sonores sur le condensateur de sortie. Pour une protection maximale, le dispositif dispose d'une protection LED ouverte intégrée qui désactive le TPS92360 pour empêcher la tension de sortie de dépasser les tensions nominales maximales absolues du dispositif en situation de LED ouvertes. Le TPS92360 de Texas Instruments est disponible en boîtier SC70 à 5 broches pour gagner de la place.Caractéristiques
- Tension d'entrée : 2,7 à 5,5 V
- MOSFET 40 V, 1,8 A intégré
- Pilote de chaîne de LED jusqu'à 38 V
- Limite de courant de commutation minimale de 1,2 A
- Fréquence de commutation de 1,2 MHz
- Tension de référence de 204 mV
- Compensation interne
- Contrôle de la luminosité PWM
- Protection de LED ouverte
- Protection de sous-tension
- Démarrage progressif intégré
- Arrêt thermique
- Rendement jusqu’à 90 %
Applications
- Rétroéclairage de smartphone
- Rétroéclairage de tablette
- PDA, ordinateurs portables, récepteurs GPS
- Lecteurs multimédia portables, téléviseurs portables
- Rétroéclairage à LED blanche pour les écrans de petite taille et à facteur de forme média
- Bornes de données portables (EPOS)
- Équipement médical portatif
- Affichage du thermostat
- Moniteurs de glucose dans le sang
- Lampes torches
- Réfrigérateurs et fours
Schéma de principe fonctionnel
Publié le: 2021-05-20
| Mis à jour le: 2022-03-11
