Texas Instruments Pilotes LED non synchrones TPS92205x
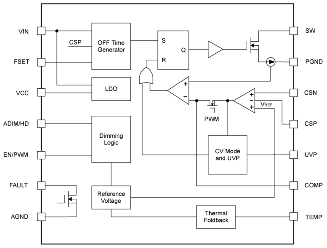
Les pilotes LED non synchrones TPS92205x de Texas Instruments ont une plage d'entrée large de 4,5 V à 65 V. En intégrant le commutateur NMOS côté bas, le dispositif peut piloter des LED et charger des batteries / piles avec une densité haute puissance et une haute efficacité. Ces dispositifs sont disponibles avec des limites de courant standard de 1,5 A (TPS922050), 3 A (TPS922051, TPS922052 et TPS922053) et 6 A (TPS922054 et TPS922055). Le TPS92205x prend également en charge la connexion d'anode commune et la conception de PCB monocouche. La fréquence de commutation est configurable de 100 kHz à 2,2 MHz avec une fonction de spectre étalé en option pour de meilleures performances EMI.Le TPS92205x prend en charge quatre options de gradation : analogique, PWM, hybride et flexible. Chaque méthode de gradation peut être configurée via les broches d’entrée PWM et ADIM à l’aide de signaux simples haut et bas. Le TPS92205x adopte un contrôle adaptatif du mode courant d’inactivité et un échantillonnage intelligent et précis pour permettre une gradation rapide inductive (IFD) et obtenir une haute précision de gradation.
Le TPS92205x de Texas Instruments fournit plusieurs protections systématiques, notamment contre les LED ouvertes et les courts-circuits, les résistances de détection ouvertes et les courts-circuits ainsi que le repli thermique configurable et l’arrêt thermique. Une sortie défaut envoie des signaux de reconnaissance dès qu’une condition de défaut est détectée.
Caractéristiques
- Large plage d’entrée de 4,5 V à 65 V
- Connexion à anode commune LED
- MOSFET de 150 mΩ intégré avec limite de courant standard de 3 A/6 A
- Fréquence de commutation en option de 100 kHz à 2,2 MHz
- Spectre étalé pour TPS922053 et TPS922055
- Options de gradation avancées
- Gradation analogique (256:1)
- Gradation PWM rapide (largeur d’impulsion de 150 ns)
- Gradation hybride et flexible (2 000:1 à PWM de 20 kHz, 10 000:1 à PMW de 4 kHz, 1 000 000:1 à PMW de 120 Hz)
- Mode de chargement CC/CV
- Caractéristiques de protection complète
- Protection contre les LED ouvertes et les courts-circuits
- Protection contre les FET de commutation ouverts et les courts-circuits
- Protection contre les défaillances de composants externes
- Limite de courant cycle par cycle
- Coupure thermique
- Sortie défaut (drain ouvert)
- Courbe de repli thermique configurable
- Options de boîtier VSON, WSON et SOT-23
Applications
- Éclairage constant
- Éclairage intérieur, extérieur et professionnel
- Éclairage médical, chirurgical
- Projecteur, téléviseur laser, imprimante, caméra IP
- Éclairage instantané
- Vision industrielle, flash d'appareil photo
- Alarme incendie, stroboscope
- Source CC et CV
- Rétro-éclairage LCD
- Charge de batterie
- Contrôle de TEC
Schéma fonctionnel
