Texas Instruments Alimentation électrique multi-rail TPS653851A-Q1
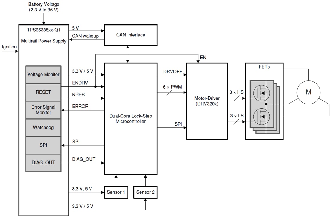
L'alimentation électrique multi-rail TPS653850A-Q1/TPS653852A-Q1 de Texas Instruments est conçue pour alimenter les microcontrôleurs dans les applications de sécurité, telles que celles que l'on trouve dans le secteur automobile. Le dispositif prend en charge les microcontrôleurs de sécurité fonctionnelle avec un verrouillage (LS) à double cœur et d'autres architectures multi-cœurs. Le TPS653851A-Q1 intègre plusieurs rails d'alimentation pour alimenter le microcontrôleur (MCU), le CAN ou le FlexRay et les capteurs externes. Un convertisseur Buck-Boost, avec FET internes, convertit la tension de la batterie d'entrée entre 2,3 V et 36 V en sortie de pré-régulateur 6 V qui alimente les autres régulateurs. Une pompe de charge intégrée fournit une tension de suralimentation pour les régulateurs internes et peut également être utilisée pour piloter un FET NMOS externe comme protection de batterie inverse. Le dispositif prend en charge le réveil à partir d'un signal d'amorçage (broche IGN) ou le réveil à partir d'un émetteur-récepteur CAN ou d'un autre signal (broche CAN_WU).Une unité de surveillance de tension indépendante à l'intérieur du dispositif surveille la sous-tension et la surtension sur tous les rails d'alimentation internes et les sorties du régulateur de l'alimentation de la batterie. Les limites de courant du régulateur et les protections de température sont également mises en œuvre. Le TPS653851A-Q1 dispose d'un watchdog de questions-réponses, d'un moniteur de signal d'erreur de microcontrôleur (MCU), d'une surveillance d'horloge sur l'oscillateur interne, d'un moniteur d'horloge auto-vérifié, d'un contrôle de redondance cyclique (CRC) sur une mémoire non volatile et d'une communication SPI. Il dispose également d'une broche de sortie de diagnostic permettant au microcontrôleur (MCU) d'observer les signaux analogiques et numériques internes du dispositif, d'un circuit de réinitialisation pour le MCU (broche NRES) et d'une sortie de sécurité (broche ENDRV) pour désactiver les étages de puissance externes sur toute défaillance système détectée. Le dispositif exécute automatiquement un autotest intégré (BIST) au démarrage et le microcontrôleur (MCU) peut réexécuter le BIST pendant le temps d'exécution du système via un contrôle logiciel si nécessaire. Un état de DIAGNOSTIC dédié permet au microcontrôleur (MCU) de vérifier la fonctionnalité des TPS653851A-Q1.
Le TPS653851A-Q1 dispose également d'une capacité de rapport d'erreur via le registre SPI. Le dispositif dispose de bits d'état séparés dans le registre SPI pour chaque erreur spécifique au niveau du système ou du dispositif. Lorsque le dispositif détecte une condition d'erreur particulière, il définit le bit d'état approprié et maintient ce bit d'état défini jusqu'à ce que le microcontrôleur (MCU) affiche le registre SPI dans lequel ce bit d'état a été défini. En fonction du bit d'état défini, le microcontrôleur (MCU) peut décider s'il doit maintenir le système en état de sécurité ou s'il peut reprendre le fonctionnement du système. Les dispositifs TPS653851A-Q1 de Texas Instruments sont qualifiés AEC-Q100 pour les applications automobiles.
Caractéristiques
- Homologué pour les applications automobiles
- Certifiés AEC-Q100 avec les résultats suivants
- Composant grade de température 1 (-40 °C to +125 °C ambient température de fonctionnement)
- Composant d'un niveau de classification ESD de HBM 2
- Niveau de classification d'appareil CDM ESD C4B
- Plages de tension d'entrée
- 7 à 36 V pour la mise sous tension initiale de la batterie
- Fonctionnalité complète de 4 à 36 V après la mise sous tension initiale de la batterie
- 2,3 V minimum en fonctionnement après réveil
- Rails d'alimentation (avec FET internes)
- Pré-régulateur Buck-Boost synchrone 6 V
- LDO 5 V, 285 mA (CAN, périphériques ou REF CAN 1 % de précision avec une charge de 20 à 120 mA)
- LDO (microcontrôleur (MCU)) 3,3 V ou 5 V, 350 mA TPS653851A-Q1
- 2 LDO protégés pour alimentation de capteur ou périphériques
- 120 mA pour l'alimentation du capteur 1 (VSOUT1), 100 mA pour l'alimentation du capteur 2 (VSOUT2)
- Mode de suivi configurable (broche d'entrée de suivi) ou tension de sortie fixe de 3,3 V ou 5 V
- Protection contre les courts-circuits à la terre et la batterie
- Pompe de charge avec un minimum de 6 V, un maximum de 11 V au-dessus de la tension de la batterie
- Surveillance et protection
- Surveillance indépendante de la sous-tension et de la surtension sur toutes les sorties du régulateur, la tension de la batterie et les alimentations internes
- Circuiterie de surveillance de tension, y compris une référence de bande interdite indépendante, fournie à partir d'une broche d'entrée de tension de batterie séparée
- Auto-vérification de la surveillance de toutes les tensions (pendant la mise sous tension et après la mise sous tension initiée par un microcontrôleur (MCU) externe)
- Toutes les alimentations sont protégées par unelimite du courant et par un système de pré-alerte et d'arrêt en cas de surchauffe.
- Interface du microcontrôleur
- Ouvrir et fermer la fenêtre ou fonction de question-réponse au watchdog
- Moniteur pour la sortie de défaut du microcontrôleur (MCU) de sécurité fonctionnelle (MLI ou niveau), moniteur de signal d'erreur du microcontrôleur (MCU)
- État de diagnostic pour effectuer des auto-tests de dispositif et des diagnostics de système
- État de sécurité pour la protection du dispositif et du système en cas de défaillance système détectée
- Moniteur d'horloge pour l'oscillateur interne
- Auto-test intégré analogique et logique
- CRC sur mémoire non volatile ainsi que des registres de configuration de dispositif et de système et des communications SPI
- Circuit de réinitialisation pour microcontrôleur (MCU)
- Broche de sortie de diagnostic
- SPI avec CRC sur les données Command Plus
- Signalement des erreurs via les registres SPI pour les erreurs au niveau du système et du dispositif
- Sortie d'activation du pilote pour désactiver les étages de puissance externes en cas de défaillance système détectée
- Réveil via la broche IGN (amorçage) ou la broche CAN_WU (émetteur-récepteur ou autre fonction)
- Boîtier CI PowerPAD™ HTSSOP 48 broches
Applications
- Applications liées à la sécurité automobile
- Applications liées à la sécurité industrielle
Schéma d'application standard
