Texas Instruments Convertisseurs abaisseurs synchrones TPS62830x
Les convertisseurs abaisseurs synchrones TPS62830x de Texas Instruments sont des convertisseurs CC/CC faciles à utiliser avec un faible courant de repos et une précision de 1 %. Ces convertisseurs fournissent une réponse transitoire rapide avec une petite capacité de sortie basée sur la topologie DCS-Control™. Les convertisseurs TPS62830x disposent d'une référence interne qui permet de réguler la tension de sortie jusqu'à 0,5 V avec une précision de tension de rétroaction élevée de 1 %. Ces convertisseurs fonctionnent dans une plage de températures de -40 °C à 125 °C et sont disponibles en deux boîtiers compatibles broche à broche. Les convertisseurs TPS62830x se composent d'une broche MODE pour contrôler le mode de fonctionnement de l'appareil et le mode d'économie d'énergie afin de maintenir un rendement élevé et de prolonger l'autonomie de la batterie du système.Les convertisseurs TPS62830x offrent une protection contre les courts-circuits HICCUP et un arrêt thermique pour la protection contre les pannes. Ces convertisseurs sont disponibles dans un boîtier QFN à 8 broches de 1 mm x 2 mm et dans un boîtier SOT583 à 8 broches de 1,6 mm x 2,1 mm. Les applications typiques incluent les disques SSD, l'électronique portable, la sécurité analogique, les caméras réseau IP, les PC industriels, l'automatisation et le contrôle d'usine, les ASIC, les SoC, l'alimentation MCU et les points de charge génériques.
Caractéristiques
- Disponible sous forme de module de puissance à inductance intégré
- Plage de tension d'entrée de 2,25 V à 5,5 V
- Tension de sortie réglable de 0,5 V à 4,5 V
- 1 % précision de la tension FB (-40 °C à 125 °C TJ)
- Fréquence de commutation 2MHz
- MOSFET de puissance interne 35 mΩ et 18 mΩ
- Topologie DCS-control
- Performances EMI optimisées
- Facilite la conformité à la norme CISPR 11/32 :
- Condensateurs de filtrage du bruit intégrés sur puce
- Des mesures selon CISPR sont disponibles
- Excellente réponse transitoire
- Broche MODE pour la sélection du mode de conduction
- Prend en charge des broches GPIO de 1,2 V
- Rapport cyclique de 100 % pour un faible décrochage
- Décharge de sortie active
- Sortie de puissance suffisante (power-good)
- Protection contre les coupures thermiques
- Hoquet ou verrouillage OCP/OVP
- PSpice et SIMPLIS sont des modèles disponibles
Applications
- Disque SSD
- Produits électroniques portables
- Caméras de sécurité analogiques et réseau IP
- Ordinateur industriel
- Automatisation et contrôle d'usine
- Alimentation ASIC, SoC et MCU
- Point de charge générique
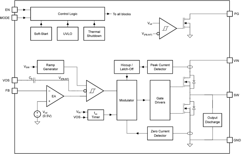
Schéma fonctionnel
Schéma d'application standard
Publié le: 2024-01-19
| Mis à jour le: 2024-05-29
