Texas Instruments TPS563231 Step-Down Voltage Regulator
Texas Instruments TPS563231 Step-Down Voltage Regulator is a simple, easy-to-use, 3A synchronous step-down converter in a SOT563 package. The device is optimized to operate with minimum external component counts and achieve a low standby current. These switch mode power supply (SMPS) devices employ D-CAP3 mode control, providing a fast transient response. These devices also support low-equivalent series resistance (ESR) output capacitors such as specialty polymer and ultra-low ESR ceramic capacitors with no external compensation components. During a light load operation, TPS563231 operates in pulse skip mode (PSM), which maintains high efficiency. The Texas Instruments TPS563231 is available in a 6-pin 1.6mm x 1.6mm SOT563 (DRL) package and specified from a –40°C to 125°C junction temperature.Features
- 3A converter integrated 95mΩ and 55mΩ FETs
- D-CAP3™ mode control with fast transient response
- Input voltage range: 4.5V to 17V
- Output voltage range: 0.6V to 7V
- Pulse skip mode
- 600kHz switching frequency
- Low shutdown current less than 12µA
- 2% feedback voltage accuracy (25°C)
- Startup from a pre-biased output voltage
- Cycle-by-cycle over current limit
- Hiccup-mode overcurrent protection
- Non-latch UVP and TSD protections
- 6-Pin SOT563 package
Applications
- Digital TV power supply
- High definition Blu-ray™ disc players
- Networking home terminal
- Digital set-top box (STB)
- Surveillance
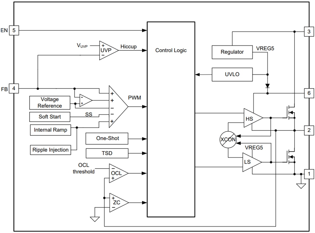
Functional Block Diagram
Publié le: 2019-04-04
| Mis à jour le: 2023-08-17
