Texas Instruments Convertisseur Buck D-CAP+ 40 A TPS548D26
Le convertisseur Buck D-CAP+ 40 A TPS548D26 de Texas Instrument est un convertisseur Buck hautement intégré avec une topologie de contrôle D-CAP+ pour une réponse transitoire rapide. Le dispositif est facile à utiliser et nécessite peu de composants externes car la compensation externe n'est pas requise. Il est bien conçu pour les applications de centres de données où l'espace est limité.Le dispositif TPS548D26 dispose d'une véritable détection différentielle à distance, de MOSFET intégrés haute performance et d'une référence de 0,6 V précise à ±1 %, sur toute la plage de température de fonctionnement de jonction. Le dispositif offre une réponse transitoire de charge rapide, une régulation précise de charge et de ligne, une exploitation en mode saut ou FCCM, et un temps de démarrage progressif programmable. Les protections contre les surintensités, les surtensions, les sous-tensions et les surchauffes sont fournies avec une réponse de hoquet ou de verrouillage sélectionnable.
Le dispositif TPS548D26 de Texas Instruments est sans plomb et conforme à la directive RoHS sans exemption.
Caractéristiques
- MOSFET intégrés de 4,0 mΩ et 1,0 mΩ pour une exploitation en courant continu de 40 A
- Prend en charge la polarisation externe de 5 V, améliorant l'efficacité et permettant une tension d'entrée minimale de 2,7 V
- Plage de tensions de sortie de 0,6 V à 5,5 V
- Tension de référence de précision et détection différentielle à distance pour une grande précision de sortie
- Tolérance de ±0,5 % VOUT de 0 °C à 85 °C TJ
- Tolérance de ±1 % VOUT de -40 °C à 125 °C TJ
- Topologie de contrôle D-CAP+™ avec une réponse transitoire rapide, prenant en charge tous les condensateurs de sortie céramique
- Compensation de boucle interne sélectionnable via la broche SS
- Limite du courant de creux cycle par cycle sélectionnable
- Fréquence de fonctionnement sélectionnable de 0,6 MHz à 1,2 MHz avec fonctionnement DCM ou FCCM
- Démarrage sûr en sorties pré-polarisées
- Temps de démarrage progressif programmable de 0,75 ms à 6 ms
- Sortie power good (PG) à drain ouvert
- Protections contre les surintensités, les surtensions, les sous-tensions et les surchauffes avec une réponse de hoquet ou de verrouillage sélectionnable.
- Boîtier WQFN-FCRLF à 37 broches de 5 mm x 6 mm
Applications
- Serveur et POL de cloud computing
- Accélérateur matériel
- Commutateurs de centre de données
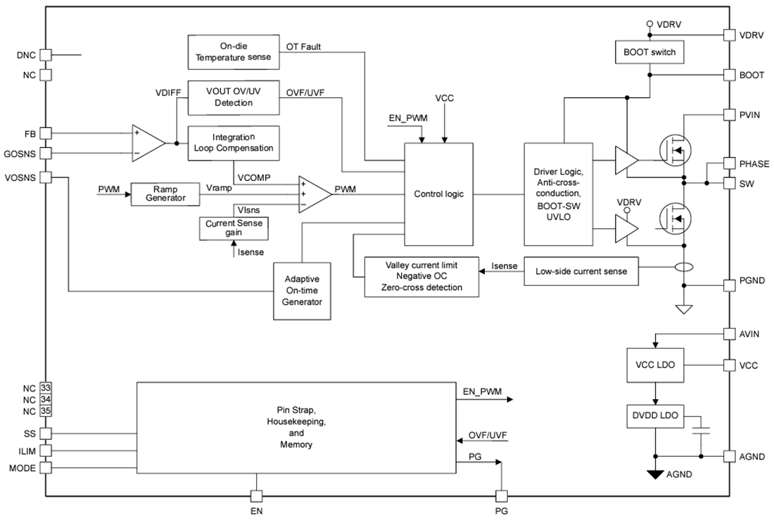
Schéma fonctionnel
Publié le: 2024-04-22
| Mis à jour le: 2024-05-06
