Texas Instruments Convertisseur Buck synchrone TPS544C26
Le convertisseur Buck synchrone TPS544C26 de Texas Instruments est un convertisseur Buck hautement intégré avec une topologie de contrôle D-CAP+ pour une réponse transitoire rapide. Tous les paramètres programmables peuvent être configurés par l'interface I2C et peuvent être stockés dans NVM en tant que nouvelles valeurs par défaut pour minimiser le nombre de composants externes. Ces caractéristiques rendent le composant bien adapté aux applications à espace restreint. Le composant TPS544C26 est conçu pour fonctionner avec les UCT/CPU d'Intel et s'adapte bien aux rails SVID monophasés à courant faible à moyen dans les plateformes de SoC et de serveurs Intel.Des rapports d'état et de gestion des défaillances pour la limite de surintensité, VOUT OVF/UVF et OTF sont fournis sur le composant. Le composant TPS544C26 offre un ensemble complet de télémétrie, dont VOUT, IOUT et la température du CI. De plus, la surveillance de l'alimentation d'entrée via une résistance de détection externe est fournie pour la gestion de l'alimentation au niveau de la carte. Le composant TPS544C26 de Texas Instruments est sans plomb et conforme à la directive RoHS sans exemption.
Caractéristiques
- Alimentation à puce unique pour rails SVID
- Conforme SVID Intel VR13
- Interface I2C avec NVM pour la configuration, la télémétrie (V/I/T) et le signalement des défauts
- Surveillance de l'alimentation d'entrée pour le RAPL de mémoire DDR5
- MOSFET intégrés de 4,0 mΩ et 1,0 mΩ pour un fonctionnement à courant continu de 35 A
- Prend en charge une polarisation externe de 5 V améliorant l'efficacité et permettant une tension d'entrée minimale de 2,7 V
- VOUT programmable de 0,25 V à 3,04 V
- Référence de tension de précision et détection à distance différentielle pour une haute précision de sortie
- Tolérance VOUT de ±0,5 % de 0 °C à 85 °C TJ
- Tolérance VOUT de ±1 % de –40 °C à + 125 ºC TJ
- Topologie de contrôle D-CAP+™ avec une réponse transitoire rapide, prenant en charge tous les condensateurs de sortie céramique
- Compensation de boucle interne programmable, y compris la chute
- Limite du courant de creux cycle par cycle sélectionnable
- Fréquence de fonctionnement sélectionnable de 0,6 MHz à 1,2 MHz avec fonctionnement DCM ou FCCM
- Démarrage en sorties pré-polarisées sécurisé
- Temps de démarrage progressif programmable de 1 ms à 16 ms
- Temps d'arrêt progressif programmable de 0,5 ms à 4 ms
- Sortie power good à drain ouvert (VRRDY) et indicateur de défaillance catastrophique (CAT_FAULT#)
- Protections programmables contre les surintensités, les surtensions, les sous-tensions et les surchauffes
- Boîtier WQFN-FCRLF à 37 broches de 5 mm × 6 mm
Applications
- Serveur et POL de cloud computing
- Accélérateur matériel
- Carte d'interface réseau
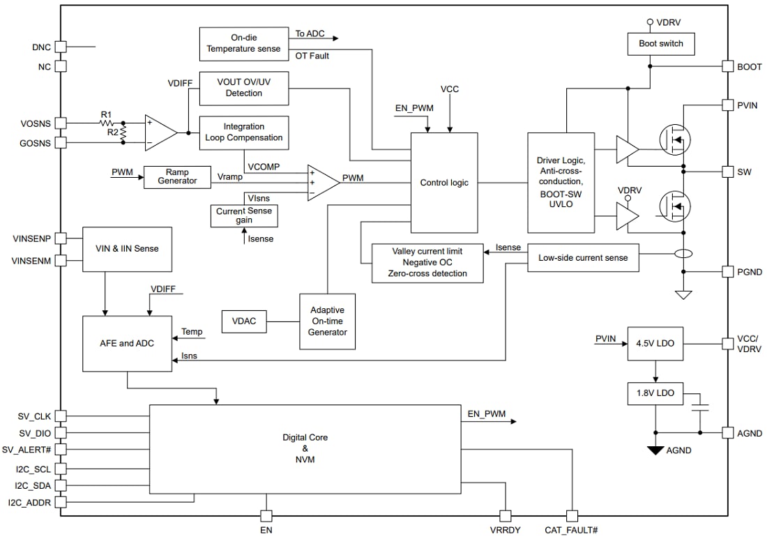
Schéma fonctionnel
Publié le: 2022-10-26
| Mis à jour le: 2023-05-02
