Texas Instruments Superviseur de tension TPS389006/TPS389006-Q1
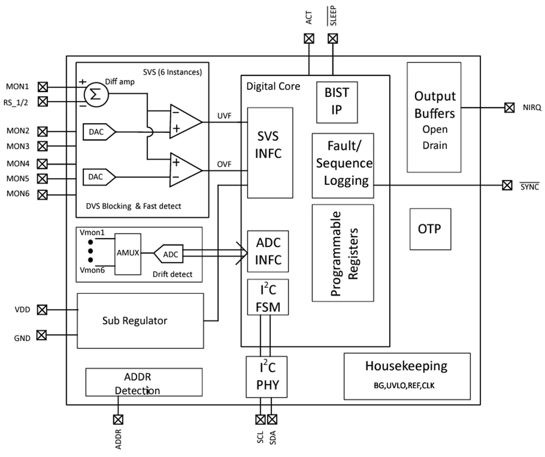
Les superviseurs de tension TPS389006/TPS389006-Q1 de Texas Instruments sont des CI de supervision de fenêtre à six canaux conformes SIL-3 avec deux broches de détection à distance disponibles dans un boîtier QFN de 3 mm x 3 mm à 16 broches. Ce superviseur de tension multicanal de haute précision est conçu pour les systèmes fonctionnant sur des rails d'alimentation basse tension et présentant des tolérances d'alimentation à marge étroite.Les broches de détection à distance permettent une mesure de tension très précise sur le rail central à courant élevé en tenant compte de la chute de tension sur les traces du PCB. La fonctionnalité I2C offre une flexibilité dans la sélection des seuils, des délais de réinitialisation, des filtres anti-parasites et de la fonctionnalité des broches. L'immunité interne contre les parasites et les filtres de bruit éliminent le besoin de composants RC externes pour réduire les fausses réinitialisations résultant des transitoires de puissance. De plus, le dispositif ne nécessite pas de résistances externes pour définir les seuils de réinitialisation de surtension et de sous-tension, ce qui optimise encore davantage la précision globale, le coût et la taille de la solution et améliore la fiabilité des systèmes de sécurité.
Cet appareil offre une vérification des erreurs CRC, un enregistrement de séquence pendant la mise sous tension ou hors tension, et un CAN intégré pour les lectures de tension pour une vérification redondante des erreurs. De plus, le TPS389006 offre une fonction de synchronisation pour marquer les rails au fur et à mesure que chacun apparaît. Le dispositif TPS389006/TPS389006-Q1 s'associe également au séquenceur d'alimentation TPS38700 de TI pour garantir une séquence de mise sous tension et une surveillance de tension appropriées pour la conformité au niveau SIL-3. Les dispositifs TPS389006-Q1 de Texas Instruments sont homologués AEC-Q100 pour les applications automobiles.
Caractéristiques
- Conforme à la sécurité fonctionnelle
- Objectif de développement pour les applications de sécurité fonctionnelle
- Documentation pour faciliter la conception du système IEC 61508
- Capacité systématique jusqu'à SIL-3
- Capacité matérielle jusqu'à SIL-3
- Surveillance des SOC de pointe
- Précision du seuil ±6 mV (de –40 °C à +125 °C)
- Plage de tension d'entrée de 2,5 V à 5,5 V
- Verrouillage de sous-tension (UVLO) 2,48 V
- Faible courant de repos en veille 200 µA
- Six canaux avec deux sens à distance
- Niveaux de seuil de fenêtre fixes
- Incréments de 5 mV de 0,2 V à 1,475 V
- Incréments de 20 mV de 0,8 V à 5,5 V
- Solution miniature et coût minimal des composants
- Boîtier QFN de 3 mm x 3 mm
- Immunité aux parasites réglable via I2C
- Niveaux de seuil de tension réglables par l'utilisateur via I2C
- Conçu pour les applications de sécurité :
- sortie NIRQ active-faible à drain ouvert
- CAN 8 bits intégré pour des lectures de tension en temps réel
- Vérification de redondance cyclique (CRC)
- Vérification des erreurs de paquets (PEC)
- Journalisation des séquences et des défauts
- Fonction de synchronisation pour l'étiquetage des rails
- Se connecte à un séquenceur multicanal pour la fonctionnalité de séquençage
Applications
- Robotique médicale
- Robotique industrielle
- Commutateurs de serveur
- Pilotes de moteur
Schéma fonctionnel
