Texas Instruments Commutateurs côté haut intelligents à canal double TPS2HB16-Q1
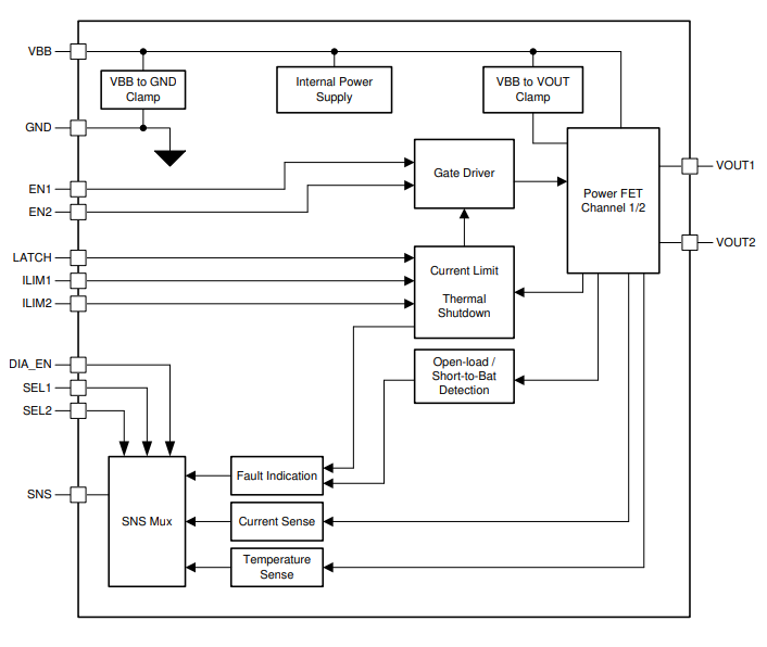
Les commutateurs côté haut intelligents à canal double TPS2HB16-Q1 de Texas Instruments sont destinés aux systèmes automobiles de 12 V. Ces commutateurs intègrent des caractéristiques de protection et de diagnostic robustes pour assurer la protection du port de sortie en cas d'événements nuisibles tels que des courts-circuits dans les systèmes automobiles. Les commutateurs TPS2HB16-Q1 protègent contre les défauts via une limite de courant fiable qui dépend de la variante du dispositif et est réglable de 4,1 A à 48,5 A.Les commutateurs côté haut à canal double fournissent une détection de courant analogique de haute précision qui permet d'améliorer les diagnostics de charge. Ces commutateurs TPS2HB16-Q1 permettent une maintenance prédictive et des diagnostics de charge qui améliorent la durée de vie du système en signalant le courant de charge et la température du composant à un microcontrôleur (MCU) du système. Les commutateurs TPS2HB16-Q1 de Texas Instruments sont disponibles dans un boîtier HTSSOP pour un encombrement réduit du circuit imprimé. Ces dispositifs TPS2HB16-Q1 sont qualifiés AEC-Q100 pour les applications automobiles. Les applications typiques comprennent les modules de système d'aide à la conduite (ADAS), les unités de contrôle de transmission, les modules de confort des sièges, les modules de contrôle de carrosserie et les modules d'affichage automobile.
Caractéristiques
- Homologué pour les applications automobiles
- Homologués AEC-Q100 avec les résultats suivants
- Température de composant de classe 1
- TA = Plage de température ambiante de fonctionnement de -40 °C à 125 °C
- Niveau 2 de classification de composant DES HBM
- Niveau C4B de classification d'appareil CDM ESD
- Résiste à la perte de charge de 40 V
- Température de composant de classe 1
- Commutateur côté haut intelligent à canal double avec RON (TJ = 25 °C) de 16 mΩ
- Améliorer la fiabilité au niveau du système grâce à une limitation de courant réglable
- La limite de courant est réglable de 4,1 A à 48,5 A et fixée en interne à 60 A
- Fournit une indication de défaut par l'intermédiaire de la broche SNS
- Détection de charge ouverte et de court-circuit à la batterie
- Solide protection de sortie intégrée
- Protection thermique intégrée
- Protection contre les courts-circuits à la terre/batterie
- Protection contre les événements inverses de la batterie, y compris la mise en marche automatique en cas de tension inverse
- Arrêt automatique en cas de perte de la batterie/de la terre
- Serre-câbles de sortie intégré pour démagnétiser les charges inductives
- Gestion des défauts configurable
- La sortie de détection analogique peut être configurée pour mesurer avec précision.
- Courant de charge
- Température du dispositif
Applications
- Module d'affichage automobile
- Modules de systèmes d'aide à la conduite automobile (ADAS)
- Module confort de siège
- Unité de commande de la transmission
- Module de contrôle du chauffage, de la ventilation et de la climatisation (HVAC)
- Module de commande de carrosserie
- Éclairage à incandescence et LED
