Texas Instruments Microcontrôleurs TMS320F280015x/TMS320F280015x-Q1 120 MHz
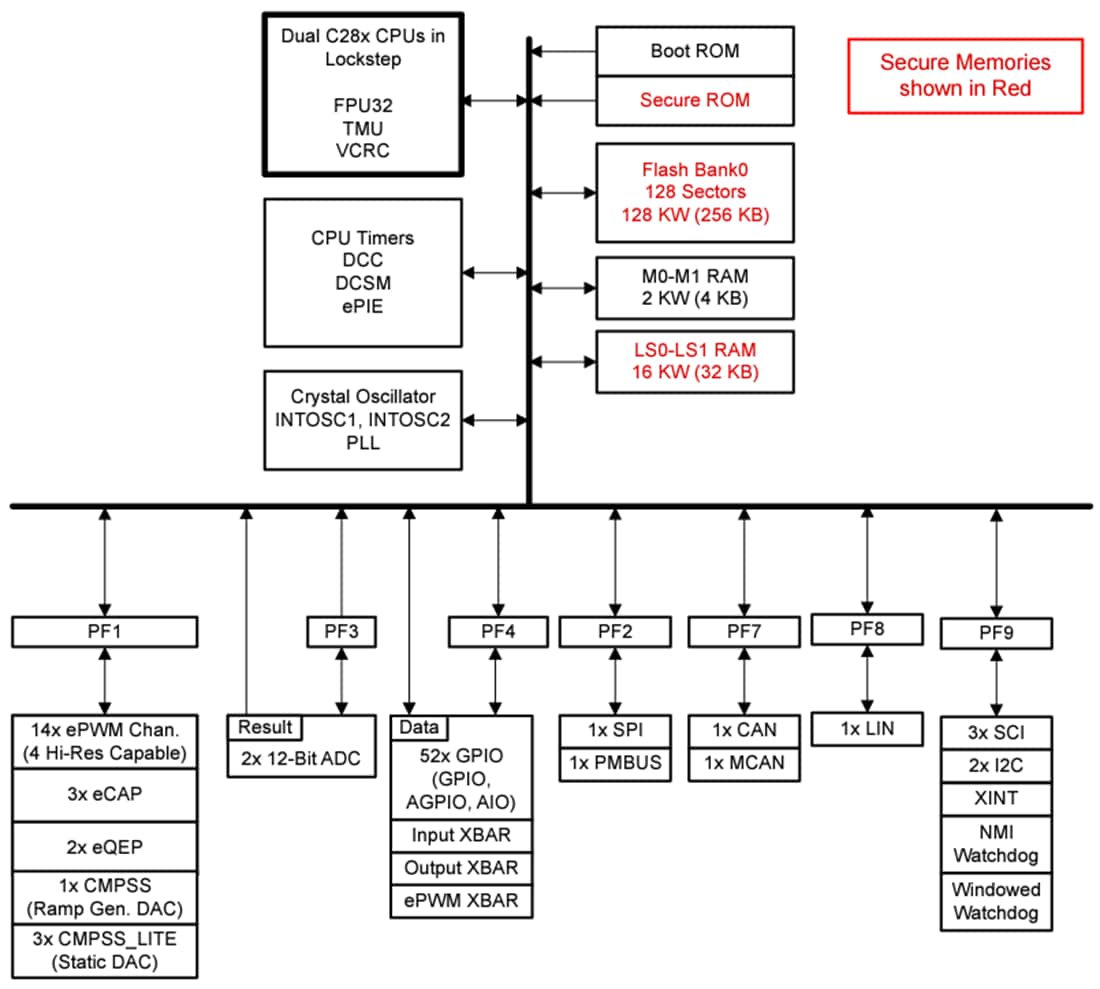
Les microcontrôleurs (MCU) 120MHz 32 bits TMS320F280015x/TMS320F280015x-Q1 de Texas Instruments disposent de doubles CPU C28x 32 bits en verrouillage, permettant au composant d’atteindre la classe de dispositif de sécurité fonctionnelle ASIL B sans frais importants liés aux logiciels. Le sous-système de contrôle en temps réel est basé sur le cœur DSP C28x 32 bits de TI, qui fournit des performances de traitement du signal à 120 MHz pour les codes à virgule fixe ou flottante exécutés à partir d’une mémoire flash sur puce ou d’une SRAM. Le CPU C28x est encore stimulé par les jeux d’instructions étendus d’unité de calcul trigonométrique (TMU) et VCRC (contrôle de redondance cyclique), accélérant ainsi la clé des algorithmes communs vers les systèmes de contrôle en temps réel.
Le TMS320F280015x/TMS320F280015x-Q1 de Texas Instruments prend en charge jusqu’à 256 Ko (128 kW) de mémoire flash. L'appareil dispose d'un maximum de 36 Ko (18 kW) de SRAM sur puce et est également disponible pour compléter la mémoire flash. Les blocs analogiques hautes performances sont intégrés dans le microcontrôleur en temps réel F280015x/F280015x-Q1 et sont étroitement couplés aux unités de traitement et MLI pour fournir des performances optimales de la chaîne de signaux en temps réel. Quatorze canaux MLI permettent de contrôler différents étages de puissance, de l'onduleur triphasé à la correction du facteur de puissance et autres topologies de puissance avancées à plusieurs niveaux.
L’interfaçage est pris en charge par divers ports de communication standard (PmBus, SPI, SCI, LIN, I2C, CAN et CAN FD) et offre de multiples options de mélange de broches pour un placement optimal des signaux. Les dispositifs TMS320F280015x-Q1 sont qualifiés AEC-Q100 pour les applications automobiles.
Caractéristiques
- Noyau dual-TMS320C28x à verrouillage 32 bits à 120 MHz
- Unité à virgule flottante (FPU) IEEE 754
- Unité de calcul trigonométrique (TMU)
- Moteur CRC et Instructions (VCRC)
- Mémoire sur puce
- 256 ko (128 kW) de mémoire flash à banc unique (protégé par ECC)
- 36 ko (18 kW) de RAM (protection ECC/parité)
- Sécurité à double zone
- Démarrage sécurisé et verrouillage JTAG
- Contrôle d'horloge et de système
- Deux oscillateurs internes de 10 MHz
- Oscillateur à quartz ou entrée d'horloge externe
- Module de minuteur watchdog fenêtré
- Circuit de détection d'horloge manquante
- Comparateur à double horloge (DCC)
- Cœur 1,2 V, conception e/s 3,3 V
- VREG interne pour génération de 1,2 V
- Circuit de réinitialisation de baisse de tension (BOR)
- Périphériques de système
- 52 broches d'entrée/sortie à usage général (GPIO) multiplexées programmables individuellement (11 partagées avec l'analogique)
- Dix entrées numériques sur broches analogiques
- Expansion améliorée de l'interruption périphérique (ePIE)
- Prise en charge de plusieurs modes basse consommation (LPM)
- Numéro d'Identification unique (UID)
- Périphériques de communication
- Une interface de bus de gestion d'alimentation (PMBus)
- Deux interfaces de circuit inter-intégré (I2C)
- Un port de bus CAN/DCAN (réseau de zone de contrôleur)
- Un réseau de zone de contrôleur avec port de bus CAN FD/MCAN (débit de données flexible)
- Un port SPI (interface périphérique série)
- Trois interfaces de communication série (SCI) compatibles UART
- Une interface de réseau d'interconnexion local (LIN) compatibles UART
- Système analogique
- Deux convertisseurs analogique-numérique (CAN) 12 bits 4 MS/s
- Jusqu'à 21 canaux externes (11 partagés avec des broches GPIO)
- Quatre blocs de post-traitement intégrés (PPB) par CAN
- Un comparateur fenêtré (CMPSS) avec des convertisseurs numérique-analogique (CNA) de référence à 12 bits
- Filtres à perturbations numériques
- COMPDACOUT (11 bits)
- Trois comparateurs fenêtrés (CMPSS_LITE) avec CNA de référence efficaces de 9,5 bits
- Deux convertisseurs analogique-numérique (CAN) 12 bits 4 MS/s
- Périphériques de contrôle améliorés
- 14 canaux ePWM avec quatre canaux dotés de capacités haute résolution (résolution 150 ps)
- Prise en charge intégrée de la bande morte
- Zones de déclenchement matérielles intégrées (TZ)
- Trois modules eCAP (capture améliorée)
- Deux modules Pulse d'encodeur Quadrature (eQEP) améliorés avec prise en charge des modes de fonctionnement CW/CCW
- Générateur de modèles intégrés (EPG)
- 14 canaux ePWM avec quatre canaux dotés de capacités haute résolution (résolution 150 ps)
- Clés CMAC (128 bits) pour AES logiciel
- Caractéristiques de diagnostic
- Alimentation mémoire sur auto-test (MPOST)
- Conforme à la sécurité fonctionnelle ciblée
- Développé pour les applications de sécurité fonctionnelle
- Une documentation sera disponible pour aider à la conception de systèmes CEI 61508 et ISO 26262
- Capacité systématique jusqu'à ASIL D et SIL 3 ciblé
- Capacité matérielle jusqu'à ASIL B et SIL 2 ciblée
- Certification liée à la sécurité
- Certification ISO 26262 et CEI 61508 jusqu'à ASIL B et SIL 2 par TÜV SÜD prévue
- Options de boîtier
- Quadruple Flatpack à profil mince (LQFP) à 80 broches [suffixe PN]
- 64 broches LQFP [suffixe PM]
- HTQFP (Thermally Enhanced Thin Quad Flatpack) PowerPAD™ à 48 broches [PHP suffix]
- VQFN (Very Thin Quad Flatpack No-Lead) 32 broches [suffixe RHB]
- Température ambiante (T A) (voir tableau d'informations sur les dispositifs et comparaison des dispositifs)
- Pièces F280015xS, F280015xQ : de -40 °C à 125 °C
- Pièces F280015xE : –40 °C à 150 °C
Applications
- Automobile
- ADAS
- ECU de radar
- LIDAR à balayage mécanique
- Éclairage et électronique de la carrosserie
- Module de porte
- Module de coffre
- Module à fenêtre
- Module de commande de corps (BCM)
- Module de compresseur HVAC
- Module de commande CVC
- Module de chauffage intérieur
- Phare
- Module confort de siège
- Position des sièges et module de pliage
- Commande de volant
- Onduleur CC/CA
- Convertisseur CC/CC de moyenne puissance
- ADAS
- Systèmes hybrides, électriques et de groupes motopropulseurs
- Système de gestion de batterie (BMS)
- Convertisseur CC-CC
- Contrôle d'onduleur et de moteur
- Chargeur embarqué (OBC) et sans fil
- Unité de contrôle de véhicule (VCU)
- Système audio de moteur virtuel (VESS)
- Ventilateur de moteur
- eTurbo/chargeur
- Pompe
- Transmission automatique
- Direction assistée électrique (EPS)
- Infodivertissement et groupe
- Affichage tête haute
- Unité de contrôle télématique
- Unité de lecture automobile
- Amplificateur audio après-vente
- Suppression active du bruit automobile
- Amplificateur automobile externe
- Système de gestion de batterie (BMS)
- Industriel
- Commandes de moteurs
- Module de contrôle de moteur CA
- Module d'étage de puissance moteur CA
- Module de commande de servomoteur
- Module d'étage de puissance servomoteur
- Automatisation et commande d'usine
- Commande de moteur robot mobile
- Alimentation des serveurs et télécoms
- CC/CC marchand
- PSU serveur et réseau de commerçants
- Redresseurs télécoms marchands
- ASI
- ASI triphasés
- Onduleurs monophasés en ligne
- Commandes de moteurs
Schéma fonctionnel
