Texas Instruments Amplis op de précision haute tension TLVx197-Q1
Les amplificateurs opérationnels (amplis op) de précision à haute tension TLVx197-Q1 de Texas Instruments font partie d’une nouvelle génération d’amplis op à bas coût, 36 V, qualifiés pour l’automobile. Le TLVx197-Q1 utilise une méthode de réglage au niveau du boîtier pour le décalage et la dérive de température du décalage mis en œuvre lors des dernières étapes de fabrication après le processus de moulage plastique. Cette méthode minimise l’influence de la désadaptation inhérente du transistor d’entrée, ainsi que les erreurs induites pendant le moulage du boîtier. Le TLVx197-Q1 de Texas Instruments présente une bonne précision CC et une bonne performance CA, incluant une entrée/sortie rail à rail, une structure de coût optimisée et une qualification AEC-Q100 classe 1. Cette caractéristique en fait un excellent choix pour les applications de détection de courant et de conditionnement du signal côté bas dans le domaine automobile.D’autres caractéristiques uniques incluent une plage de tension d’entrée différentielle vers le rail d’alimentation, un courant de sortie élevé (±65 mA), un pilote de charge capacitive élevée jusqu’à 1 nF et une vitesse de balayage élevée (20 V/µs). Ces caractéristiques font de ces composants un amplificateur opérationnel robuste à hautes performances pour les applications automobiles à haute tension. Les amplificateurs opérationnels TLVx197-Q1 sont disponibles en boîtiers standard et sont spécifiés de -40 °C à +125 °C.
Caractéristiques
- Homologué AEC-Q100 pour les applications automobiles
- Température TA classe 1 de -40 °C à +125 °C
- Faible tension résiduelle ±500 µV (maximum)
- Faible bruit 5,5 nV/√Hz à 1 kHz
- Réjection en mode commun élevée de 140 dB
- Faible courant de polarisation ±5 pA
- Entrée et sortie rail-à-rail
- Grande largeur de bande : 10 MHz GBW
- Vitesse de balayage élevée de 20 V/µs
- Faible courant de repos de 1 mA par amplificateur
- Large tension d'alimentation de ±2,25 V à ±18 V, 4,5 V à 36 V
- Entrées filtrées EMI/RFI
- Plage de tension d'entrée différentielle pour alimenter le rail
- Capacité de pilotage de charge capacitive élevée de 1 nF
- Boîtier aux normes du secteur
- Monocanal dans un très petit boîtier VSSOP 8 broches (TLV197-Q1)
- Double canal dans un VSSOP 8 broches (TLV2197-Q1)
- Quadruple canal dans un TSSOP 14 broches (TLV4197-Q1)
Applications
- Convertisseur et contrôle de moteur
- Convertisseur CC-CC
- Chargeur embarqué (OBC) et sans fil
- Système de gestion de batterie (BMS)
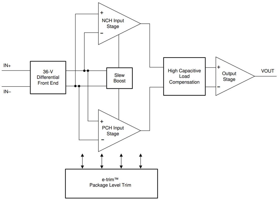
Schéma fonctionnel
Publié le: 2020-05-20
| Mis à jour le: 2025-03-10
