Texas Instruments Régulateurs linéaires à faible chute de tension 500 mA TLV766-Q1
Les régulateurs linéaires 500 mA à faible chute de tension (LDO) TLV766-Q1 de Texas Instruments sont des régulateurs de tension linéaire d'entrée larges qui prennent en charge une plage de tension d'entrée de 2,5 V à 16 V et un courant de charge pouvant atteindre 500 mA. La plage de sortie est de 0,8 V à 12 V ou jusqu'à 14,6 V avec la version réglable. La large plage de tension d'entrée fait du composant un bon choix pour le fonctionnement à partir de bobinages secondaires de transformateur et de rails régulés tels que 10 V ou 12 V. De plus, la large plage de tension de sortie permet au composant de générer la tension de polarisation pour les pilotes de grille et les microphones au carbure de silicium (SiC), ainsi que les microcontrôleurs de puissance (MCU) et les processeurs.Le TLV766-Q1 de Texas Instruments dispose d'une précision de sortie de 1% qui est nécessaire pour alimenter les charges numériques avec des exigences d'alimentation strictes. Le circuit de démarrage progressif interne réduit le courant d'appel pendant le démarrage, permettant ainsi une capacité d'entrée plus petite. Les performances PSRR large bande passante sont supérieures à 70 dB à 1 kHz et 46 dB à 1 MHz. Cette performance aide à atténuer la fréquence de commutation d'un convertisseur CC-CC en amont et minimise le filtrage post-régulateur. La haute réjection d'ondulation de 20 Hz à 20 kHz fait du composant un bon choix pour alimenter les composants audio. Le TLV766-Q1 est disponible en boîtier VSON (DRB) 8 broches, 3 mm × 3 mm avec des flancs mouillables et une faible résistance thermique.
Caractéristiques
- Certifié AEC-Q100 pour les applications automobiles
- –40°C à +125 C, ta classe de température 1
- Température de jonction : de -40°C à +150 C, TJ
- Plage de tension d'entrée de 2,5 V à 16 V (18 V max)
- Précision de sortie de 1% en surcharge et température
- Faible courant de repos (IQ)
- 50 µA (std) sans charge
- 4 µA (max .) lorsqu'il est désactivé
- PSRR élevé de 70 dB à 1 kHz, 46 dB à 1 MHz
- Plage de tension de sortie
- 0,8 V à 14,6 V (réglable)
- 1,2 V à 12 V (fixe)
- Durée de démarrage progressif interne 500 µs (standard)
- Limitation de courant de repli et protection thermique
- Stable avec un condensateur de 1 µF ou plus
- Boîtier WSON 8 broches, 3 mm × 3 mm avec flancs mouillables
- Faible résistance thermique 51,9°C/W (rð ja)
Applications
- Convertisseurs CC-CC
- Commandes d'onduleur et de moteur
- Chargeurs embarqués (OBC) et sans fil
- Unités pour l'automobile
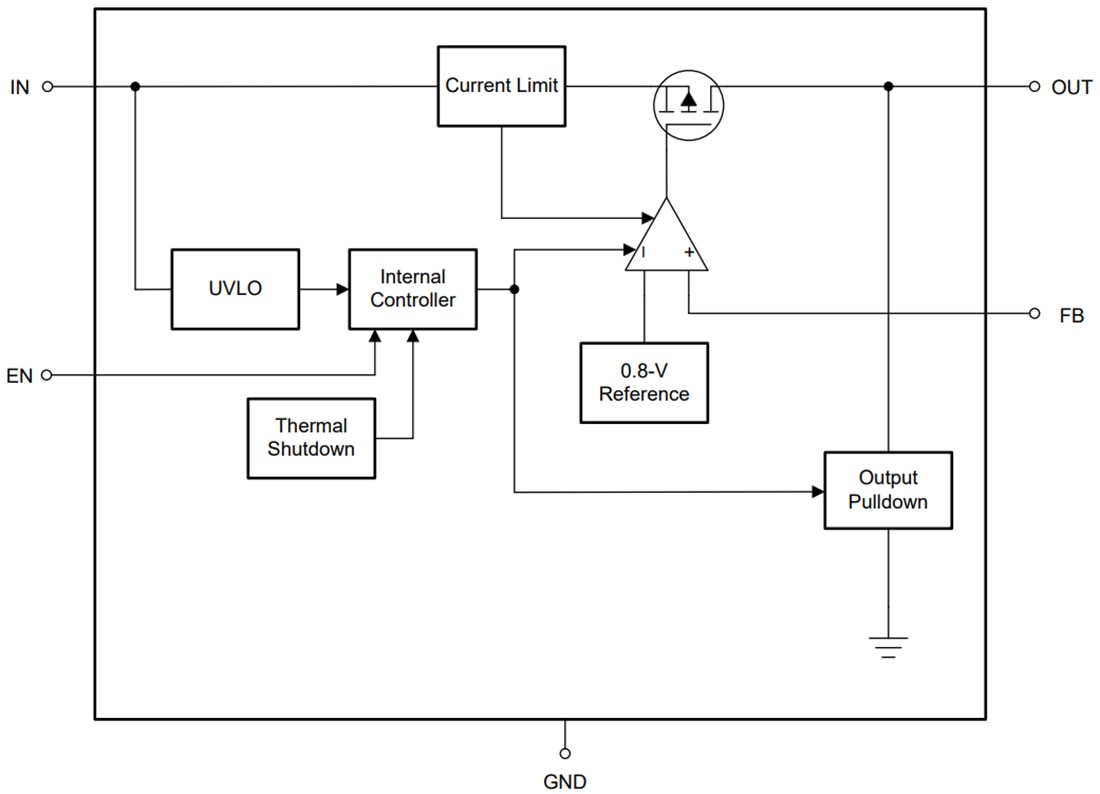
Schéma de principe fonctionnel
