Texas Instruments Extension d’E/S SMBus/Bus I2C TCAL9539R/TCAL9539R-Q1
L’extension d’E/S I SMBus/bus 2C TCAL9539R/TCAL9539R-Q1 de Texas Instruments fournit une expansion d’entrée parallèle et de sortie (E/S) à usage général pour le protocole bus I2C ou SMBus bidirectionnel à deux lignes et est conçu pour une exploitation de 1,08 V à 3,6 V VCC. Le dispositif prend en charge les fréquences d’horloge de 100 kHz (mode standard), 400 kHz (mode rapide) et 1 MHz (mode rapide plus) et I2C. Les extensions d’E/S TCAL9539R/TCAL9539R-Q1 offrent une solution simple lorsque des E/S supplémentaires sont nécessaires pour les capteurs, les commutateurs, les boutons-poussoirs, les LED, les ventilateurs, etc.Le TCAL9539R/TCAL9539R-Q1 de Texas Instruments dispose de ports d’E/S agiles, qui incluent des fonctionnalités supplémentaires conçues pour améliorer les performances d’E/S en termes de consommation d’énergie, de vitesse et d’EMI. Les fonctionnalités supplémentaires incluent des résistances programmables pull-up et pull-down, une puissance de commande de sortie programmable, des entrées verrouillables, un registre d’état d’interruption, une interruption masquable et des sorties programmables à drain ouvert ou push-pull. La broche RÉINITIALISATION réinitialise uniquement la machine d’état I2 C lorsqu’elle est bloquée pour retrouver l’accès à I2C. Les broches d’E/S et les registres compliqués conservent le dernier état configuré pendant que l’I2C est réinitialisé. Les dispositifs TCAL9539R-Q1 sont qualifiés AEC-Q100 pour les applications automobiles.
Caractéristiques
- Plage de tension d’alimentation en fonctionnement de 1,08 V à 3,6 V
- Faible consommation de courant de veille de 1 µA standard à 1,8 V
- Bus I2C et mode rapide de 1 MHz
- La broche d’adresse matérielle permet d’avoir deux dispositifs sur le même bus I2C, SMBus
- Entrée de réinitialisation active basse (/RÉINITIALISATION)
- Les registres compliqués conservent les valeurs lorsque le dispositif est réinitialisé avec /RÉINITIALISATION
- La machine d’état fonctionnelle I2C est réinitialisée
- Interruption de sortie active basse à drain ouvert (/INT)
- Registre de configuration d’entrée ou de sortie
- Registre d'inversion de polarité
- Résistance d'entraînement de sortie de broche E/S configurable
- Registre de configuration des résistances pull-up et pull-down
- Réinitialisation interne de l'alimentation
- Filtre de bruit sur les entrées SCL ou SDA
- Sorties verrouillées avec capacité de pilotage de courant élevé maximale pour piloter directement les LED
- La performance de verrouillage dépasse 100 mA selon JESD 78, catégorie II
- La protection DES dépasse JESD 22
- Modèle corps humain 4 000 V (A114-A)
- Modèle de dispositif chargé de 1 000 V (C101)
Applications
- Serveurs
- Routeurs (équipement de commutation de télécom)
- Ordinateurs personnels
- Appareils électroniques personnels
- Automatisation industrielle
- Consoles de jeux
- Produits avec processeurs de broches GPIO limitées
Schéma simplifié
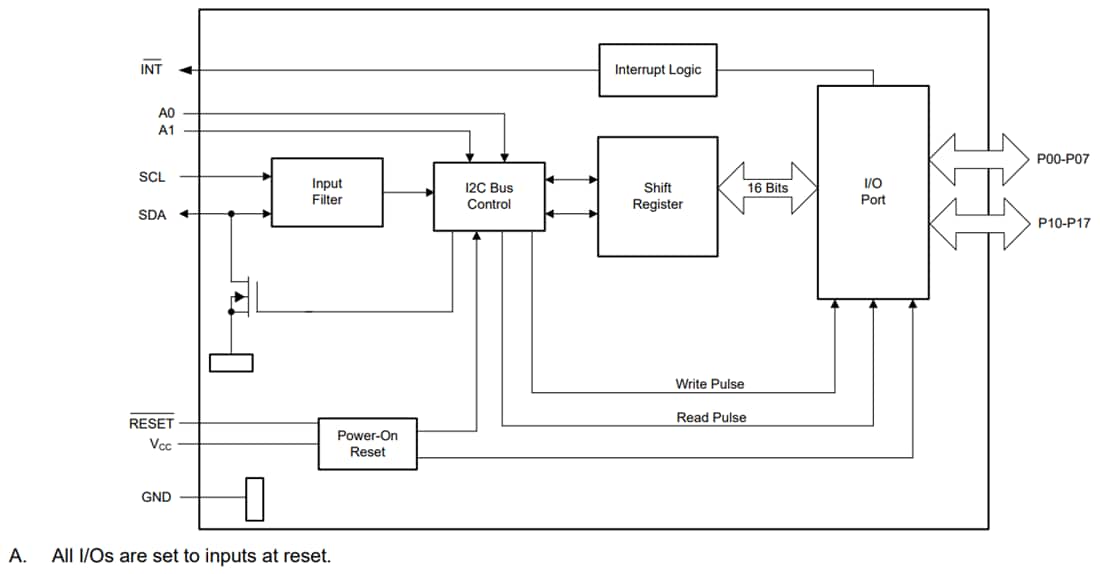
Schéma fonctionnel
