Texas Instruments Extension d'E/S I²C et SMBus 4 bits à distance TCA9537
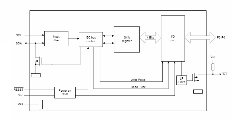
L'extension d'E/S I2C et SMBus 4 bits à distance TCA9537 de Texas Instruments offre un fonctionnement de 1,65 V à 5,5 V VCC et une extension d'E/S à usage général via l'interface I²C. Le contrôleur du système active les E/S en tant qu'entrées ou sorties en écrivant sur les bits du registre de configuration des E/S. Les données de chaque entrée ou sortie sont stockées dans le registre d'entrée ou de sortie correspondant. La polarité du registre du port d'entrée peut être inversée à l'aide du registre d'inversion de polarité.L'extension d'E/S TCA9537 de TI fournit une sortie d'interruption à drain ouvert (INT) qui est activée lorsque toute entrée diffère de l'état de registre de son port d'entrée correspondant et est utilisée pour indiquer au contrôleur du système qu'un état d'entrée a changé. Le processeur système peut réinitialiser le TCA9537 en cas de dépassement de délai ou d'autre opération incorrecte en utilisant une commande de réinitialisation logicielle I2C, qui place les registres dans un état par défaut ou en utilisant la broche RESET.
Caractéristiques
- Extension I2C à GPIO
- Plage de tension d'alimentation de fonctionnement de 1,65 V à 5,5 V
- Ports d'E/S tolérants à 5 V
- Réinitialisation logicielle par appel général I2C
- Broche d'entrée RESET pour contrôle de réinitialisation externe
- Sortie INT dédiée
- Mode rapide 1 MHz plus bus I2C
- Registre de configuration d'entrées et de sorties
- Registre d'inversion de polarité
- Réinitialisation interne de l'alimentation
- Démarrage avec toutes les voies configurées comme des entrées
- Filtre de bruit sur les entrées SCL et SDA
- Sorties verrouillées avec capacité de pilotage de courant élevé maximale pour piloter directement les LED
- La protection ESD dépasse JESD 22
- Modèle corps humain 2 000 V (A114-A)
- Modèle appareil chargé 1 000 V (C101)
Applications
- Appareils électroniques personnels
- Appareils portables
- Téléphones mobiles
- Consoles de jeux
- Serveurs
- Routeurs
Schéma simplifié
Schéma logique
Publié le: 2022-04-10
| Mis à jour le: 2022-06-02
