Texas Instruments Extension d'E/S 4 bits TCA9536
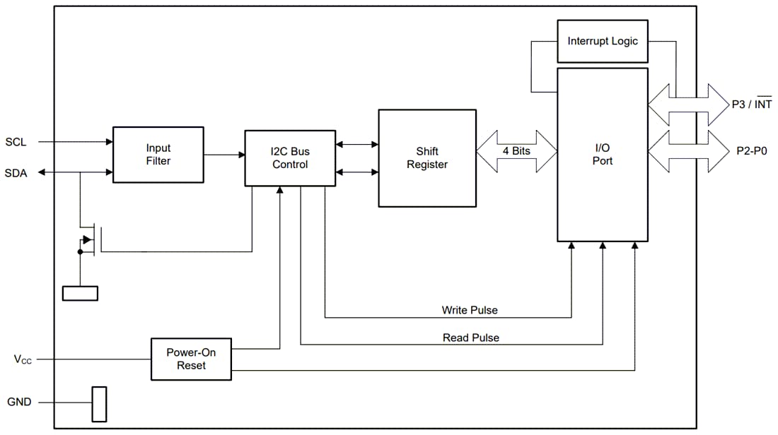
L’extension d’E/S 4 bits TCA9536 de Texas Instruments est conçue pour le bus I2C et est conçue pour un fonctionnement 1,65 à 5,5 V VCC. Il fournit une extension d’E/S à distance à usage général pour la plupart des familles de microcontrôleurs via l’interface I2C.Le contrôleur système peut activer les E/S en tant qu’entrées ou sorties en écrivant sur les bits de registre de configuration E/S. Les données pour chaque entrée ou sortie sont conservées dans le registre d'entrée ou de sortie correspondant. La polarité du registre du port d’entrée peut être inversée avec le registre d’Inversion de polarité. Un registre de fonction spéciale supplémentaire peut être utilisé pour désactiver les résistances d’excursion internes et le contrôle prioritaire P3 vers une sortie INT.
La sortie d’interruption à drain ouvert TCA9536 de Texas Instruments (lorsque P3 est configurée comme INT dans le registre de fonction spéciale) est activée quand une entrée diffère de son état de registre de Port d’entrée correspondant. Elle est utilisée pour indiquer au contrôleur du système qu'un état d'entrée a changé.
Le processeur système peut réinitialiser le TCA9536 en cas d’expiration ou d’autre fonctionnement inapproprié à l’aide d’une commande de réinitialisation logicielle I2C, qui met les registres à l’état par défaut du registre.
Caractéristiques
- Extension I2C vers GPIO
- Plage de tension d’alimentation de fonctionnement de 1,65 à 5,5 V
- Ports d'E/S tolérants 5 V
- Réinitialisation logicielle via l’appel général I2C
- Résistances pull-up intégrées activées par logiciel sur les ports P
- P3 peut être reconverti en sortie INT
- Mode rapide 1 MHz plus bus I2C
- Registre de configuration entrée et sortie
- Registre d'inversion de polarité
- Réinitialisation interne de l'alimentation
- Mise sous tension avec tous les canaux configurés comme des entrées
- Filtre de bruit sur les entrées SCL et SDA
- Sorties verrouillées avec capacité de pilotage de courant élevé maximale pour piloter directement les LED
- La protection ESD dépasse JESD 22
- Modèle corps humain 2000 V (A114-A)
- Modèle de dispositif chargé 1000 V (C101)
Applications
- Électronique personnelle
- Wearables
- Téléphones portables
- Consoles de jeux
- Serveurs
- Routeurs
Schéma fonctionnel
