Texas Instruments Amplificateur audio de classe D TAS6424MS-Q1
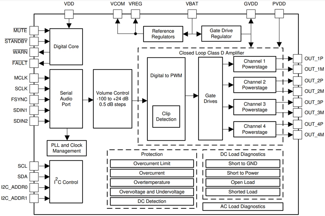
L’amplificateur audio de classe D TAS6424MS-Q1 de Texas Instruments est un amplificateur audio de classe D à entrée numérique à quatre canaux qui met en œuvre une fréquence de commutation PWM de 2,1 MHz. Cette caractéristique permet une solution à coût optimisé dans une petite taille de carte de circuit imprimé, un fonctionnement complet pouvant descendre à 4,5 V pour les événements de démarrage/arrêt et une qualité sonore exceptionnelle avec une bande passante audio pouvant atteindre 40 kHz. La fréquence de commutation de sortie peut être définie soit au-dessus de la bande AM, ce qui élimine les interférences de bande AM et réduit le filtrage et le coût de sortie, soit en dessous de la bande AM pour optimiser le rendement.Le TAS6424MS-Q1 de Texas Instruments dispose d’une fonction de diagnostic de charge intégrée pour détecter et diagnostiquer les sorties mal connectées et les tweeters couplés CA, pour aider à réduire le temps de test pendant le processus de fabrication. L’amplificateur audio de classe D TAS6424MS-Q1 est conçu pour les unités de tête automobiles et les modules amplificateurs externes.
Caractéristiques
- Homologué AEC-Q100 pour les applications automobiles
- Température de classe 1 : de -40°C à +125 °C, TA
- Diagnostics de charge avancés
- Les diagnostics CC fonctionnent sans horloges d'entrée
- Diagnostic CA pour la détection de haut-parleur d'aigus avec impédance et réponse de phase
- Se conforme facilement aux spécifications CEM CISPR25-L5
- Entrées audio
- Entrée TDM à 4 canaux I2S ou 4/8 canaux
- Taux d’échantillonnage d’entrée de 44,1 kHz, 48 kHz et 96 kHz
- Formats d’entrée I2S de 16 bits à 32 bits et TDM
- Sorties audio
- Charge liée au pont (BTL) à quatre canaux
- BTL parallèle à deux canaux (PBTL)
- Fréquence de commutation de sortie jusqu'à 2,1 MHz
- 27 W, THD 10 % en 4 Ω à 14,4 V BTL
- 45 W, THD 10 % en 2 Ω à 14,4 V BTL
- 80 W, THD 10 % en 2 Ω à 18 V PBTL
- Performances audio en 4 Ω à 14,4 V BTL
- THD+N < 0,02 % à 1 W
- Bruit de sortie de 42 ° µVRMS
- Diaphonie -90 dB
- Diagnostics de charge
- Sortie ouverte et charge en court-circuit
- De la sortie à la batterie ou court-circuit de mise à la terre
- Détection de sortie de ligne jusqu'à 6 kΩ
- Fonctionnement indépendant de l'hôte
- Protection
- Limitation du courant de sortie et protection contre les courts-circuits
- Perte de charge 40 V
- Tolérant à la mise à la terre ouverte et à l'alimentation
- Décalage CC
- Surchauffe
- Sous-tension et surtension
- Fonctionnement général
- Tension d’alimentation de 4,5 V à 18 V
- Contrôle I2C avec quatre options d’adresse
- Détection de pince verrouillée et non verrouillée
Applications
- Unité de lecture automobile
- Amplificateur automobile externe
Schéma de principe fonctionnel
Publié le: 2020-12-01
| Mis à jour le: 2025-02-27
