Texas Instruments Amplificateurs audio de classe D TAS5822M
Les amplificateurs audio de classe D TAS5822M de Texas Instruments offrent une haute efficacité et une entrée numérique pour piloter les haut-parleurs dans l'électronique grand public, commerciale et industrielle. Ces dispositifs offrent une architecture en boucle fermée de haute performance et une large gamme de fréquences de commutation qui réduit la taille de la solution en diminuant les composants passifs et en minimisant la taille de l'inductance dans la plupart des applications.Les amplificateurs audio de classe D TAS5822M de TI sont dotés d'un processeur audio intégré avec une architecture allant jusqu'à 96 kHz pour prendre en charge les flux de processus avancés. Le dispositif prend en charge la modulation 1SPW à haute efficacité avec une largeur de bande de boucle de classe D réglable pour une bonne performance audio.
Caractéristiques
- E/S audio flexibles
- Prend en charge des taux d'échantillonnage de 32, 44,1, 48, 88,2 et 96 kHz
- I2S, LJ, RJ, TDM
- SDOUT pour la surveillance audio, le sous-canal ou l'annulation d'écho
- BVP intégré, supporte l'interface audio numérique 3 fils (pas de MCLK nécessaire)
- Prend en charge les charges pontées stéréo ou les charges pontées parallèles mono (BTL et PBTL)
- Fonctionnement efficace en classe D avec > 90 % d'efficacité énergétique, RDSon de 90 mΩ
- Prend en charge plusieurs configurations de sortie
- 2 × 35 W en Mode 2.0 (8 Ω, 24 V, THD+N=1 %)
- 2 × 22 W en mode 2.0 (6 Ω, 18 V, THD+N = 1 %)
- Excellente performance audio
- THD+N ≤ 0,06 % à 1 W, 1 kHz, PVDD = 24 V
- SNR ≥ 110 dB (pondéré A), ICN ≤ 40 μV RMS
- Traitement audio amélioré :
- Convertisseur de taux d'échantillonnage
- Échantillonnage de processeur 96 kHz
- Blocage CC, 2 × 14 BQ, gestionnaire THD
- DPEQ, contrôle du volume
- Mixeur d'entrée, barre transversale de sortie
- DRC 2 bandes+AGL de 4e ordre
- Repli de surchauffe
- Configurations d'alimentation flexibles
- PVDD de 4,5 V à 26,4 V
- DVDD 1,8 V ou 3,3 V et E/S
- Excellente autoprotection intégrée
- Erreur de surintensité (OCE)
- Avertissement de surchauffe (OTW)
- Erreur de surchauffe (OTE)
- Verrouillage de sous-tension/surtension (UVLO/OVLO)
- Intégration facile du système
- Contrôle logicieI I2C
- Solution de taille réduite
- Moins de composants passifs sont nécessaires par rapport aux dispositifs à boucle ouverte
- Très faible EMI avec la technologie EMI actuelle
- Aucune inductance de grande taille n'est nécessaire pour la plupart des applications
Applications
- Barres de son, audio pour PC
- Haut-parleurs Bluetooth® sans fil
- Moniteurs DTV, HDTV, UHD et polyvalents
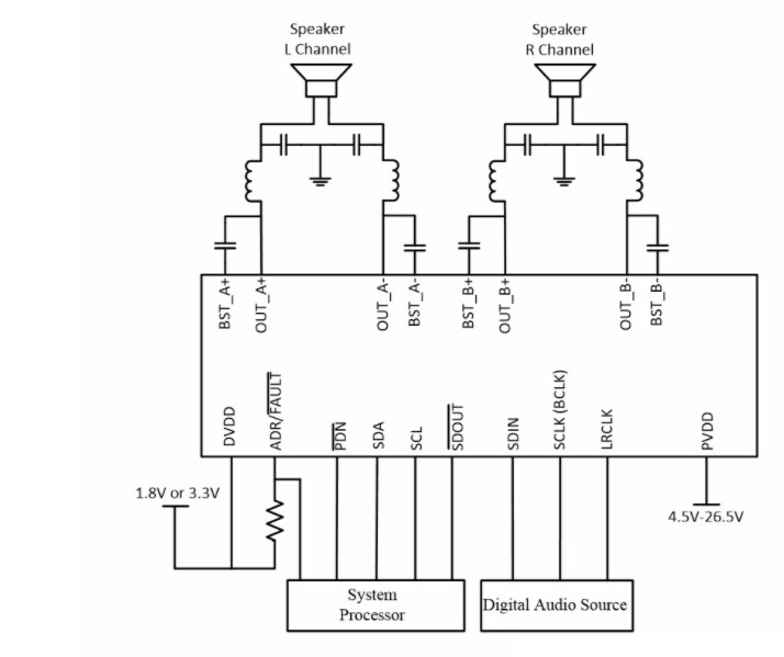
Schéma de commutation
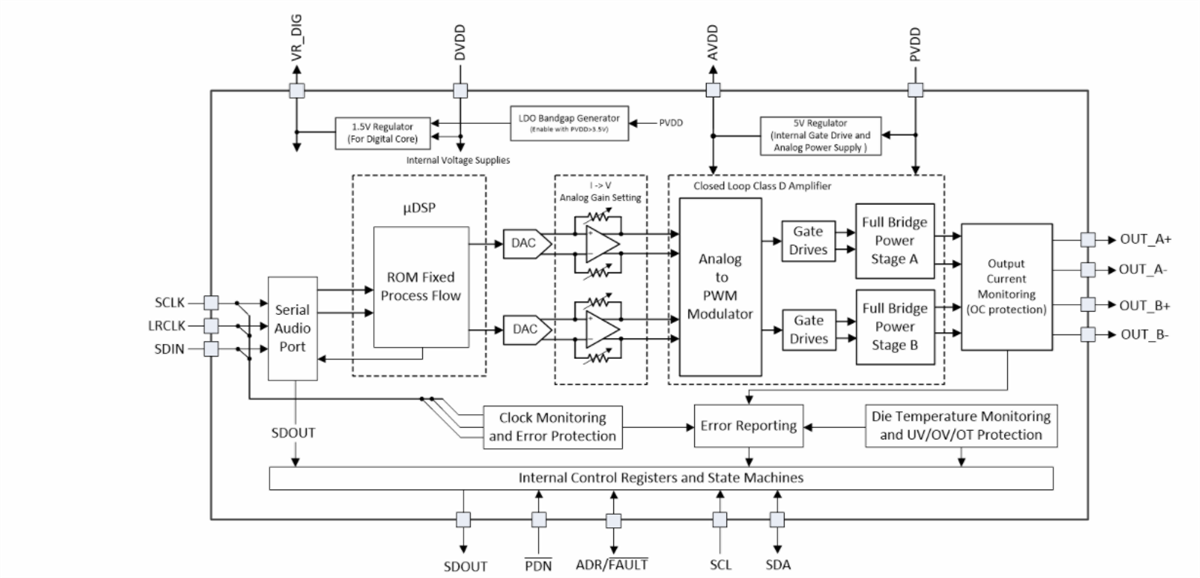
Schéma fonctionnel
Publié le: 2020-12-29
| Mis à jour le: 2024-10-30
