Texas Instruments Amplificateur audio mono de classe D TAS5441-Q1
L’amplificateur audio mono de classe D TAS5441-Q1 de Texas Instruments s'avère idéal pour des applications automobiles d’urgence (eCall), de télématique, de groupes d’instruments et d’info-divertissement. Le dispositif fournit jusqu’à 22 W en 4 Ω à moins de 10 % THD+N à partir d’une batterie automobile à 14,4 VCC. Le TAS5441-Q1 de Texas Instruments présente une large plage de tensions de fonctionnement et d’un excellent rendement, ce qui le rend idéal pour la prise en charge de démarrage/arrêt ou pour le fonctionnement à partir d’une batterie de secours si nécessaire. La protection intégrée contre les pertes de charge réduit le coût et la taille de limitation de tension externe et les diagnostics embarqués de charge indiquent l’état du haut-parleur via I2C.Caractéristiques
- Homologué AEC-Q100 pour les applications automobiles
- TA de -40 à 125 °C, classe thermique 1
- Amplificateur de puissance numérique mono BTL
- 22 W de puissance de sortie à 10 % THD+N en 4 Ω
- Plage de fonctionnement de 4,5 V à 18 V
- Rendement de 85 % en 4 Ω
- Entrée analogique différentielle
- Protection des enceintes Speaker Guard™ avec limiteur de puissance réglable.
- Rapport de réjection de l'alimentation électrique (PSRR) de 75 dB
- Fonctions de diagnostic de charge
- Charge de sortie ouverte et en court-circuit
- Court-circuit sortie-alimentation et sortie-terre
- Fonctions de protection et de surveillance
- Protection contre les courts-circuits
- Protection contre la perte de charge 40 V conformément à la norme ISO-7637-2
- Détection du niveau CC de sortie pendant la lecture de la musique
- Protection contre la surchauffe
- Protection contre les surtensions et les sous-tensions
- Boîtier HTSSOP (PWP) à 16 broches endurci thermiquement avec boîtier PowerPAD™ (plaquette vers le bas)
- Conçu pour les exigences CEM automobiles
- Certifié ISO9000: 2002 TS16949
- Protection contre les pertes de charge à 40 V en veille
- I2C non bloquant en veille
Applications
- Amplificateur d'appel d'urgence automobile (eCall)
- Systèmes télématiques
- Systèmes de grappes d'instruments
- Audio d'info-divertissement
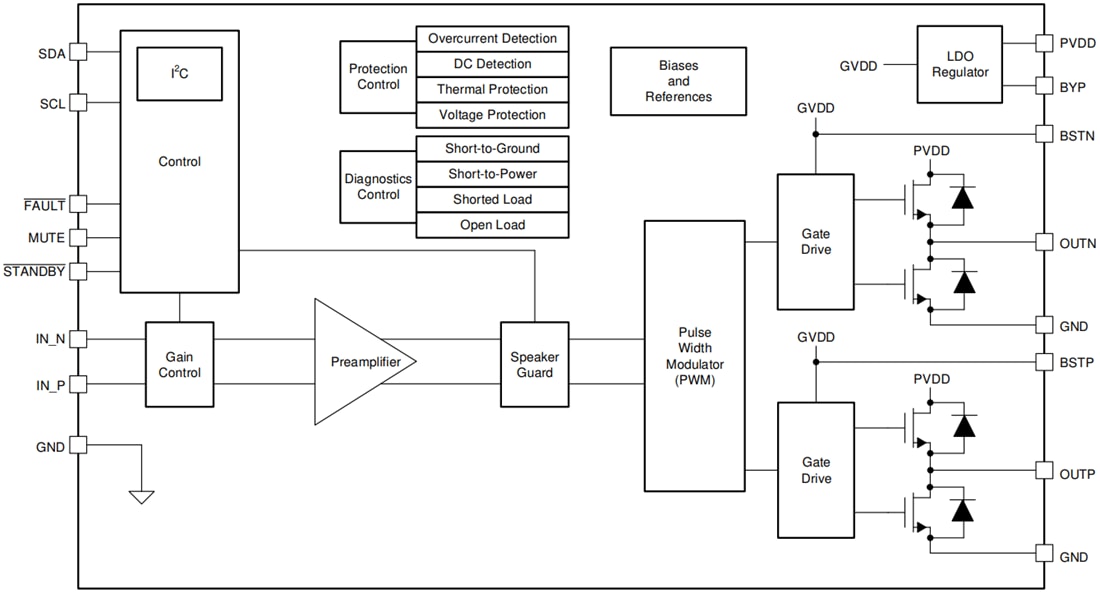
Schéma fonctionnel
Publié le: 2020-08-11
| Mis à jour le: 2025-03-05
