Texas Instruments Tampons/pilotes octaux SN74ACT244/SN74ACT244-Q1
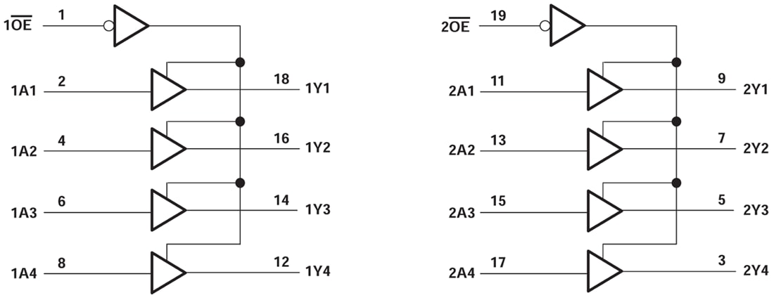
Les pilotes/tampons octaux et pilotes de ligne SN74HCT244/SN74HCT244-Q1 de Texas Instruments sont conçus pour améliorer les performances et la densité des pilotes d'adresse mémoire à 3 états, des pilotes d'horloge et des récepteurs et émetteurs orientés bus. Les dispositifs SN74ACT244/SN74ACT244-Q1 sont organisés en deux tampons 4 bits et pilotes avec des entrées OE (activation de sortie) séparées. Lorsque l'OE est à l'état bas, le composant passe des données non inversées des entrées A aux sorties Y. Lorsque l'entrée d'activation de sortie (OE) est à l'état haut, les sorties sont en état d'impédance élevée. Les dispositifs SN74ACT244-Q1 de Texas Instruments sont qualifiés AEC-Q100 pour les applications automobiles.Caractéristiques
- Exploitation de 4,5 V à 5,5 V VCC
- Les entrées acceptent des tensions jusqu'à 5,5 V
- Max tpd de 9,5 ns à 5 V
- Les entrées sont compatibles TTL
Applications
- Serveurs et commutateurs de réseau
- Affichages LED
- Infrastructure de télécommunications
- Cartes de contrôle de moteurs
Schéma logique
Publié le: 2023-10-27
| Mis à jour le: 2025-04-29
