Texas Instruments Convertisseurs analogique-numérique audio PCM6xx0-Q1
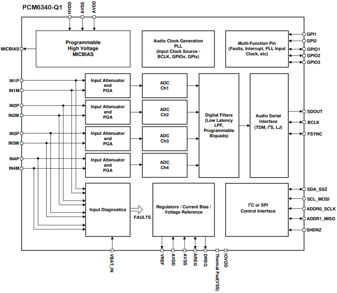
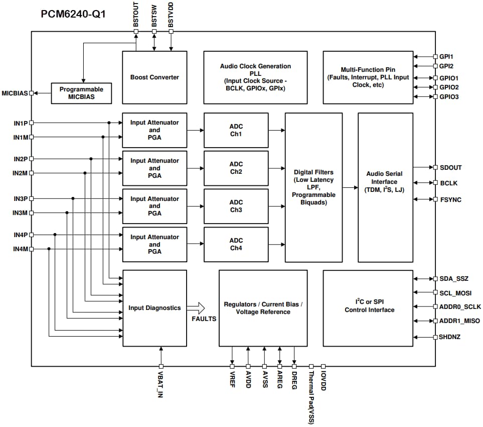
Les convertisseurs analogique-numérique (CAN) audio PCM6xx0-Q1 de Texas Instruments sont des convertisseurs analogique-numérique (CAN) audio hautes performances à 4 canaux (PCM6240-Q1, PCM6340-Q1) et 6 canaux (PCM6260-Q1, PCM6360-Q1). Ces dispositifs prennent en charge les signaux d'entrée analogiques jusqu'à 10 V RMS. Le PCM6xx0-Q1 prend en charge les entrées de ligne et de microphone, ce qui permet des configurations d'entrées asymétriques ou différentielles. Ces dispositifs intègrent une polarisation de microphone programmable à haute tension et une circuiterie de diagnostic d'entrée. Cette circuiterie connecte directement les systèmes automobiles basés sur microphone avec une capacité complète de diagnostic des défauts pour les entrées à couplage direct.Le PCM62x0-Q1 intègre un convertisseur élévateur efficace pour générer une polarisation de microphone haute tension en utilisant une alimentation basse tension externe de 3,3 V. Le PCM63x0-Q1 utilise une alimentation haute tension externe (HVDD), facilement disponible dans le système, pour générer la polarisation haute tension programmable du microphone. Le PCM6xx0-Q1 intègre le gain de canal programmable, le contrôle numérique du volume, une boucle à verrouillage de phase (BVP) à faible vacillement et un filtre passe-haut (HPF) programmable. Ceux-ci comprennent également des modes de filtres bi-quadratiques et à faible latence et permettent des taux d'échantillonnage allant jusqu'à 768 kHz. Le PCM6xx0-Q1 de Texas Instruments prend en charge les formats audio de multiplexage par répartition dans le temps (MRT), I 2S ou aligné à gauche (LJ) et peut être contrôlé par l'interface I2C ou SPI. Ces caractéristiques intégrées de haute performance et un fonctionnement avec une alimentation unique de 3,3 V font de la famille PCM6xx0-Q1 un excellent choix pour les systèmes automobiles à espace restreint.
Caractéristiques
- Homologué AEC-Q100 pour les applications automobiles
- Classe thermique 1 de –40 °C ≤ TA ≤ +125 °C
- Performance du CAN
- Plage dynamique d'entrée différentielle de ligne 110 dB
- Plage dynamique d'entrée différentielle de microphone 110 dB
- -95 dB THD+N
- Le mode somme des canaux prend en charge un SNR élevé
- Tension d'entrée du CAN
- Entrées différentielles pleine échelle de 10 VRMS
- Entrées asymétriques pleine échelle de 5 VRMS
- Taux d'échantillonnage du CAN (fS) = 8 kHz à 768 kHz
- Paramètres de canal programmables
- Gain de canal de 0 dB à 42 dB (incréments de 1 dB)
- Contrôle numérique du volume de -100 dB à 27 dB
- Étalonnage du gain avec une résolution de 0,1 dB
- Étalonnage de phase avec une résolution de 163 ns
- Polarisation de microphone programmable (5 V à 9 V)
- Avec un convertisseur élévateur intégré efficace (PCM62x0-Q1)
- Avec une alimentation HVDD haute tension externe (PCM63x0-Q1)
- Diagnostic de défaut d'entrée de microphone programmable
- Entrées ouvertes ou entrées en court-circuit
- Court-circuit à la terre, MICBIAS ou VBAT
- Protection contre les surintensités de polarisation de microphone
- Sélection du filtre de traitement du signal à faible latence
- Filtres numériques programmables bi-quadruples et HPF
- Contrôles I2C ou SPI
- Interface de données série audio
- Format : MRT, I2S ou aligné à gauche (LJ)
- Longueur de mot 16 bits, 20 bits, 24 bits ou 32 bits
- Interface maître ou esclave
- Fonctionnement en alimentation simple, 3,3 V
- Fonctionnement d'alimentation E/S 3,3 V ou 1,8 V
- Consommation d'énergie < 20 mW/canal à 48 kHz
Applications
- Suppression active du bruit automobile
- Unités pour l'automobile
- Unités de traitement de cockpit numérique
- Amplificateurs automobile externes
