Texas Instruments Microcontrôleurs à signal mixte MSP430F643x
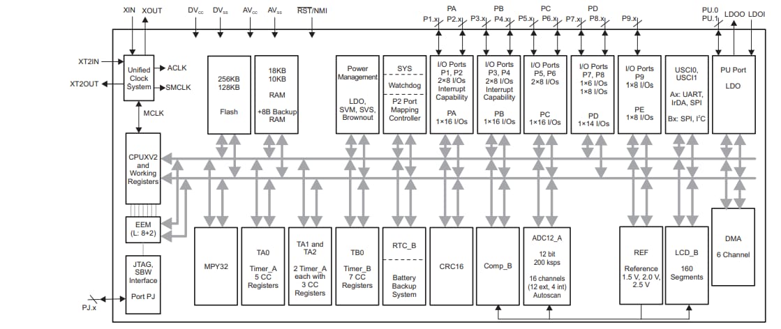
Les microcontrôleurs à signal mixte MSP430F643x de Texas Instruments comprennent plusieurs dispositifs intégrant différents ensembles de périphériques ciblés pour diverses applications. La combinaison de l’architecture avec cinq modes basse consommation optimise la durée de vie de la batterie étendue dans les applications de mesure portables. Le MSP430F643x dispose d’un CPU RISC 16 bits puissant, de registres 16 bits et de générateurs constants, contribuant à une efficacité maximale du code. Les MCU offrent également un oscillateur contrôlé numériquement (DCO) qui permet au composant de passer des modes à faible puissance au mode actif en 3 µs (standard).Les microcontrôleurs à signal mixte MSP430F643x de TI disposent d'un LDO 3,3 V intégré, d'un CAN 12 bits haute performance, d'un comparateur, de deux USCI, d'un multiplicateur matériel, d'un DMA, de quatre minuteurs 16 bits, d'un module RTC avec des capacités d'alarme, d'un pilote LCD et de jusqu'à 74 broches d'E/S.
Caractéristiques
- Plage de tension d'alimentation basse : 1,8 V à 3,6 V
- Très faible consommation électrique
- Mode actif (AM) :
- Toutes les horloges du système actives à 270 µA/MHz à 8 MHz, 3,0 V, exécution du programme flash (standard)
- Mode veille (LPM3) :
- Watchdog avec quartz et superviseur d’alimentation opérationnel, rétention RAM complète, réveil rapide 1,8 µA à 2,2 V, 2,1 µA à 3,0 V (standard)
- Mode arrêt horloge en temps réel (RTC) (LPM3.5), 1,1 µA en mode d’arrêt 3,0 V (standard), RTC actif avec quartz
- Mode arrêt (LPM4.5) : 0,3 µA à 3,0 V (standard)
- Mode actif (AM) :
- Sortie de mode veille en 3 µs (standard)
- Architecture RISC 16 bits, mémoire étendue, horloge système jusqu'à 20 MHz
- Système de gestion d'alimentation souple
- LDO entièrement intégré avec tension d'alimentation cœur régulée programmable
- Supervision, surveillance et réduction de la tension d'alimentation
- Système d'horloge unifié
- Boucle de contrôle FLL pour stabilisation de fréquence
- Source d'horloge interne à basse consommation et à basse fréquence (VLO)
- Source de référence interne écrêtée basse fréquence (REFO)
- Quartz 32 kHz (XT1)
- Quartz haute fréquence jusqu'à 32 MHz (XT2)
- Quatre minuteurs 16 bits avec 3, 5 ou 7 registres de capture/comparaison
- Deux interfaces de communication série universelles (USCI)
- USCI_A0 et USCI_A1 supportant chacune : l'UART amélioré qui prend en charge la détection automatique du débit en bauds, l'encodeur et le décodeur IrDA, le SPI synchrone
- Les USCI_B0 et USCI_B1 prennent chacun en charge l’I2C et le SPI synchrone
- Système d’alimentation de 3,3 V intégré
- Convertisseur analogique-numérique (CAN) 12 bits avec référence partagée interne, échantillonnage et balayage automatique
- Doubles convertisseurs numérique-analogique (CNA) 12 bits avec synchronisation
- Comparateur de tension
- Pilote d'affichage à cristaux liquides (LCD) intégré avec contrôle de contraste pour jusqu'à 160 segments
- Multiplicateur matériel prenant en charge des opérations sur 32 bits
- Programmation en série sur carte, aucune programmation externe de tension nécessaire
- DMA interne à 6 canaux
- Module RTC avec commutateur de secours de tension d'alimentation
Applications
- Systèmes de capteurs numériques et analogiques
- Contrôle de moteur numérique
- Commandes à distance
- Thermostats
- Chronomètres numériques
- Chronomètres portatifs
Schéma fonctionnel MSP430F6433/35
Schéma fonctionnel MSP430F6436/38
Publié le: 2020-10-20
| Mis à jour le: 2025-04-16
