Texas Instruments Microcontrôleurs à signal mixte MSP430F552x/MSP430F551x
Les microcontrôleurs (MCU) à signaux mixtes Texas Instruments MSP430F552x/MSP430F551x sont des MCU à très faible consommation configurés à USB intégré et à PHY permettant l'USB 2.0 et quatre temporisateurs de 16 bits. Ces dispositifs comprennent un convertisseur analogique-numérique (CAN) 12 bits à hautes performances, deux USCI, un multiplicateur matériel, un accès direct à la mémoire (DMA) et un module d'HTR à capacités d'alarme. Les microcontrôleurs MSP430F5528, MSP430F5526, MSP430F5524 et MSP430F5522 Comprennent tous ces périphériques mais comptent 47 broches d'E/S. Le Texas Instruments MSP430F552x/MSP430F551x présente un puissant processeur RISC de 16 bits, de registres 16 bits et de générateurs de constantes qui contribuent à une efficacité maximale de codage. L'oscillateur à commande numérique (DCO) permet aux dispositifs de passer du mode basse consommation au mode actif en 3,5 µs (standard).Caractéristiques
- Plage de tension d'alimentation basse de 3,6 V pouvant descendre à 1,8 V
- Très faible consommation d'énergie
- Mode actif (AM)
- Toutes les horloges du système sont actives
- 290 µA/MHz à 8 MHz, 3,0 V, exécution du programme flash (standard)
- 150 µA/MHz à 8 MHz, 3,0 V, exécution du programme RAM (standard)
- Toutes les horloges du système sont actives
- Mode veille (LPM3)
- Horloge en temps réel (RTC) avec cristal, watchdog et superviseur d'alimentation opérationnel, rétention complète de la RAM, réveil rapide
- 1,9 µA à 2,2 V, 2,1 µA à 3,0 V (standard)
- Oscillateur faible puissance (VLO), compteur à usage général, watchdog et superviseur d'alimentation opérationnel, rétention complète de la RAM, réveil rapide
- 1,4 µA à 3,0 V (standard)
- Horloge en temps réel (RTC) avec cristal, watchdog et superviseur d'alimentation opérationnel, rétention complète de la RAM, réveil rapide
- Mode arrêt (LPM4)
- Rétention complète de la RAM, superviseur d'alimentation opérationnel, réveil rapide
- 1,1 µA à 3,0 V (standard)
- Rétention complète de la RAM, superviseur d'alimentation opérationnel, réveil rapide
- Mode de mise à l'arrêt (LPM4.5)
- 0,18 µA à 3,0 V (standard)
- Mode actif (AM)
- Réveil de mode veille mode en 3,5 µs (standard)
- Architecture RISC de 16 bits, mémoire étendue, horloge système jusqu'à 25 MHz
- Système de gestion d'alimentation souple
- LDO entièrement intégré avec tension d'alimentation cœur régulée programmable
- Supervision, surveillance et réduction de la tension d'alimentation
- Système d'horloge unifié
- Boucle de contrôle FLL pour stabilisation de fréquence
- Source d'horloge interne à basse consommation et à basse fréquence (VLO)
- Source de référence interne écrêtée basse fréquence (REFO)
- 32 kHz cristaux de montre (XT1)
- Cristaux à haute fréquence pouvant atteindre 32 MHz (XT2)
- Registre d'horloge 16 bits TA0, minuteur Timer_A avec cinq registres de capture/comparaison
- Minuteur 16 bits TA1, minuteur Timer_A avec trois registres de capture/comparaison
- Minuteur 16 bits TA2, minuteur Timer_A avec trois registres de capture/comparaison
- Minuteur 16 bits TB0, minuteur Timer_B avec sept registres d'ombre de capture/comparaison
- Deux interfaces de communication série universelles (USCI)
- USCI_A0 et USCI_A1 prenant chacun en charge :
- L'UART amélioré prend en charge la détection automatique de la vitesse de transmission.
- Encodeur et décodeur IrDA
- SPI synchrone
- USCI_B0 et USCI_B1 prenant chacun en charge :
- I2C
- SPI synchrone
- USCI_A0 et USCI_A1 prenant chacun en charge :
- Bus série universel (USB) à pleine vitesse
- USB-PHY intégré
- Système d'alimentation USB intégré 3,3 V et 1,8 V
- USB-BVP intégrée
- Huit points de terminaison d'entrée et huit points de sortie
- Convertisseur analogique-numérique (ADC) 12 bits (MSP430F552x uniquement) avec fonctionnalités de référence interne, échantillonneur-bloqueur et balayage automatique
- Comparateur :
- Multiplicateur matériel prenant en charge des opérations sur 32 bits
- Programmation en série sur carte, aucune programmation externe de tension nécessaire
- DMA interne à trois canaux
- Minuteur de base avec fonction RTC
Applications
- Systèmes de capteurs analogiques et numériques
- Enregistreurs de données
- Connexion aux hôtes USB
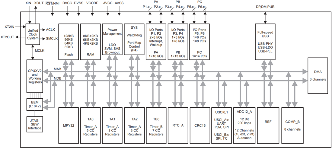
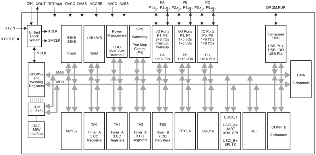
MSP430F551x Diagramme de bloc du boîtier PN
MSP430F551x Schéma fonctionnel du boîtier ZXH ZQE RGC
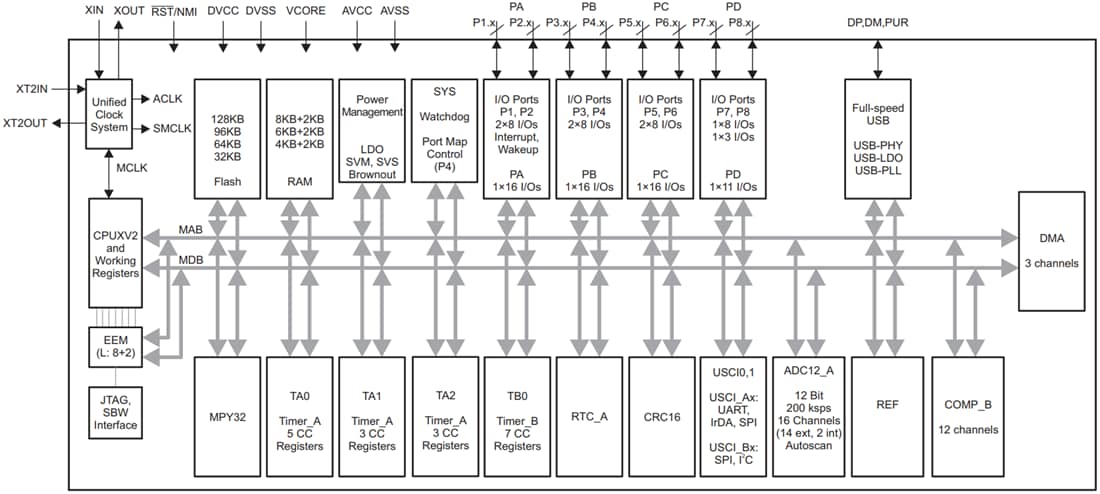
MSP430F552x Diagramme de bloc du boîtier PN
MSP430F552x Schéma fonctionnel du boîtier ZXH ZQE RGC
Publié le: 2020-09-29
| Mis à jour le: 2025-04-16
