Texas Instruments Microcontrôleurs (MCU) de signaux mixtes MSP430F261x/MSP430F241x
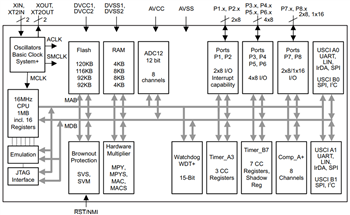
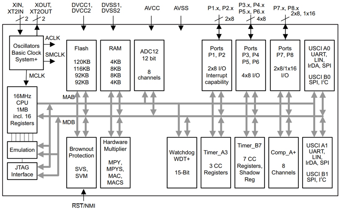
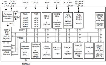
Les microcontrôleurs à signaux mixtes (MCU) MSP430F261x/MSP430F241x de Texas Instruments font partie de la famille MSP430™ de microcontrôleurs (MCU) à ultra-faible puissance. Ces microcontrôleurs (MCU) sont constitués de plusieurs dispositifs, comportant différents ensembles de périphériques destinés à diverses applications. L’architecture, combinée à cinq modes à consommation faible, est optimisée pour prolonger la durée de vie de la batterie dans les applications de mesure portables. Les séries MSP430F261x / MSP430F241x de Texas Instruments sont des configurations MCU avec deux minuteurs 16 bits intégrés, un CAN 12 bits rapide, un comparateur, deux CNA 12 bits, quatre modules USCI, DMA et jusqu'à 64 broches E/S. Les composants MSP430F241x sont identiques aux composants MSP430F261x, sauf que les DAC12 et les modules DMA ne sont pas mis en œuvre. Le boîtier LQFP-64 est également disponible en boîtier non magnétique pour les applications d'imagerie médicale.Caractéristiques
- Plage de tension d’alimentation basse de 1,8 V à 3,6 V
- Consommation d’énergie ultra-faible
- 365 µA à 1 MHz, en mode actif de 2,2 V
- mode veille (VLO) de 0,5 µA
- Mode hors tension (rétention de la RAM) de 0,1 µA
- Réveil à partir de mode veille en moins de 1 µs
- Architecture RISC de 16 bits, durée du cycle d’instruction de 62,5 ns
- DMA interne à trois canaux (uniquement pour MSP430F261x)
- Convertisseur analogique-numérique (CAN) de 12 bits avec référence interne, échantillonnage et maintien et caractéristique de balayage automatique
- Deux convertisseurs numériques-analogiques (CAN) de 12 bits avec synchronisation (uniquement pour MSP430F261x)
- Minuteur Timer_A de 16 bits avec trois registres de capture/comparaison
- Minuteur Timer_B de 16 bits avec sept registres de capture/comparaison avec registres masqués
- Comparateur sur puce
- Superviseur et moniteur de tension d’alimentation avec détection de niveau programmable
- Quatre interfaces de communication série universelles (USCI)
- USCI_A0 et USCI_A1
- UART amélioré prenant en charge la détection automatique du débit en bauds
- Encodeur et décodeur IrDA
- SPI synchrone
- USCI_B0 et USCI_B1
- I2C
- SPI synchrone
- USCI_A0 et USCI_A1
- Détection de baisse de tension
- Chargeur d’amorçage (bootloader) (BSL)
- Programmation en série sur carte, aucune tension de programmation externe nécessaire, protection du code programmable par fusible de sécurité.
- Disponible sous forme de boîtier plat quadruple (LQFP) à 80 broches, LQFP à 64 broches et réseau à billes (nFBGA) à 113 broches.
Applications
- Systèmes de capteurs
- Applications de contrôle industriel
- Chronomètres portatifs
- Applications d’imagerie médicale
Publié le: 2020-05-27
| Mis à jour le: 2025-04-16
