Texas Instruments Convertisseur Buck CC-CC quadriphasé LP875761-Q1
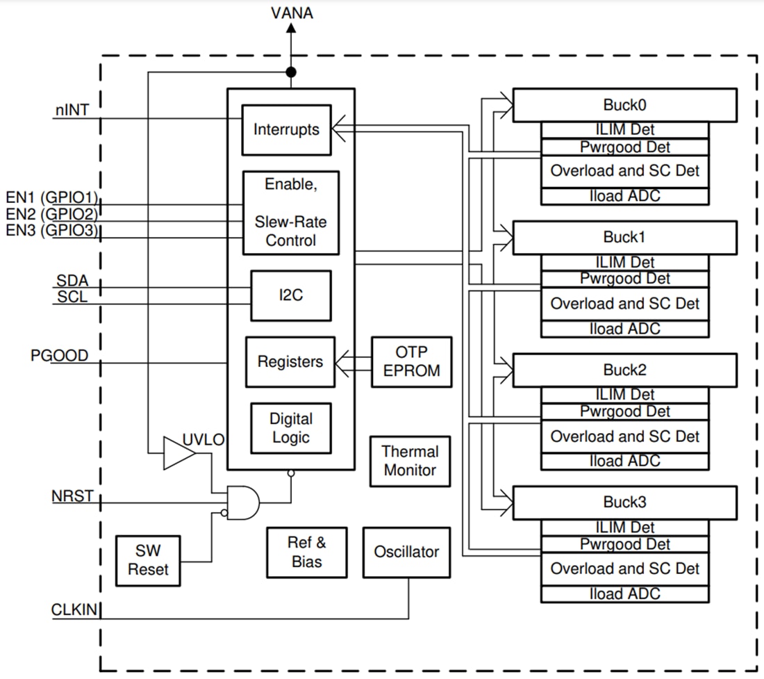
Le convertisseur Buck CC-CC quadriphasé LP875761-Q1 de Texas Instruments est conçu pour répondre aux exigences de gestion d'alimentation des tous derniers processeurs et plateformes dans diverses applications d'alimentation automobile. Le dispositif contient quatre cœurs de convertisseurs CC-CC abaisseurs, configurés en tant que sortie quadriphasée en mode MLI forcé. Le dispositif est contrôlé par une interface série compatible I2C et par des signaux d'activation. Le LP875761-Q1 prend en charge la détection de tension différentielle à distance pour les sorties multiphasées afin de compenser la chute IR entre la sortie du régulateur et le point de charge (POL), ce qui améliore la précision de la tension de sortie. L'horloge de commutation peut être forcée en mode MLI et également synchronisée avec une horloge externe pour minimiser les perturbations.Le LP875761-Q1 de Texas Instruments prend en charge la mesure du courant de charge sans ajout de résistances externes de détection de courant. Le composant LP875761-Q1 prend également en charge les délais de démarrage et d'arrêt programmables et les séquences synchronisées pour activer les signaux. Les séquences peuvent également inclure des signaux GPIO pour contrôler les régulateurs externes, les commutateurs de charge et la réinitialisation du processeur. Pendant le démarrage, le dispositif contrôle la vitesse de balayage en sortie pour minimiser le dépassement de la tension de sortie et le courant d'appel.
Caractéristiques
- Homologué pour les applications automobiles
- Certifiés AEC-Q100 avec les résultats suivants :
- Température de classe 1 de fonctionnement ambiante de -40° C à +125° C
- Niveau 2 de classification d'appareil HBM ESD
- Niveau de classification d'appareil CDM ESD C4B
- Plage de tension d'entrée de 2,8 V à 5,5 V
- Tension de sortie de 1,0 V
- Quatre cœurs de convertisseurs abaisseurs CC-CC à haut rendement
- Courant de sortie maximal 16 A (4 A par phase)
- Fréquence de commutation de 3 MHz
- Mode à spectre étendu et entrelacement de phase
- E/S universelles configurables (GPIO)
- Une interface compatible I2C qui prend en charge les modes standard (100 kHz), rapide (400 kHz), rapide+ (1 MHz) et haut débit (3,4 MHz)
- Fonction d'interruption avec masquage programmable
- Signal de bonne alimentation programmable (PGOOD)
- Protection contre les courts-circuits et les surcharges de sortie
- Avertissement de surchauffe et protection
- Protection contre les surtensions (OVP) et verrouillage de sous-tension (UVLO)
Applications
- Systèmes d'info-divertissement automobiles
- Groupe
- Radar
- Applications d'alimentation de caméra
Schéma de principe fonctionnel
Publié le: 2021-02-10
| Mis à jour le: 2022-03-11
