Texas Instruments CI de gestion d'alimentation LP8733xx/LP8733xx-Q1
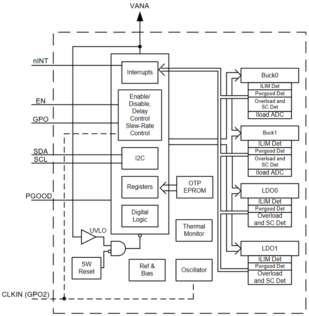
Les CI de gestion d'alimentation (PMIC) LP8733xx-Q1/LP8733xx-Q1 de Texas Instruments sont conçus pour répondre aux exigences de gestion d'alimentation dans les applications automobiles. Chaque composant possède deux convertisseurs CC/CC abaisseurs qui peuvent être configurés comme un seul régulateur biphasé ou comme deux régulateurs monophasés et deux régulateurs linéaires, ainsi que des signaux de sortie numériques à usage général. Chaque composant est contrôlé par une interface série compatible I2C et par un signal d'activation.Le fonctionnement automatique MLI/PFM (mode AUTO), associé à l'addition/délestage automatique des phases, maximise le rendement sur une large plage de courant de sortie. Le LP8733xx/LP8733xx-Q1 prend en charge la détection de tension à distance (différentielle en configuration biphasée) pour compenser la chute IR entre la sortie du régulateur et le point de charge (POL). Cela améliore la précision de la tension de sortie. L'horloge de commutation peut également être forcée au PWM mode et synchronisée avec une horloge externe pour minimiser les perturbations.
Le LP8733xx/LP8733xx-Q1 de Texas Instruments prend en charge les délais de démarrage et d'arrêt programmables et les séquences, y compris les signaux GPO synchronisés avec le signal d'activation. Pendant le démarrage et le changement de tension, le dispositif contrôle la vitesse de balayage en sortie pour minimiser le dépassement de la tension de sortie et le courant d'appel. Les dispositifs LP8733xx-Q1 sont homologués AEC-Q100 pour les applications automobiles.
Caractéristiques
- Plage de tension d'entrée de 2,8 V à 5,5 V
- Deux convertisseurs Buck CC/CC à haut rendement
- Tension de sortie : 0,7 V à 3,36 V
- Courant maximal de sortie de 3 A par phase
- Ajout/délestage de phase automatique et opérations multi-phase de force en configuration biphasée
- Détection de tension de rétroaction différentielle à distance en configuration biphasée
- Vitesse de balayage en tension de sortie programmable de 0,5 mV/µs à 10 mV/µs
- Fréquence de commutation de 2 MHz
- Mode à spectre étalé et entrelacement de phase pour la réduction des EMI
- Deux régulateurs linéaires
- Tension d'entrée de 2,5 V à 5,5 V
- Tension de sortie : 0,8 V à 3,3 V
- Courant maximal de sortie de 300 mA
- Signaux de sortie universels configurables (GPO, GPO2)
- Fonction d'interruption avec masquage programmable
- Signal de bonne alimentation programmable (PGOOD)
- Protection contre les courts-circuits et les surcharges de sortie
- Avertissement de surchauffe et protection
- Protection contre les surtensions (OVP) et verrouillage de sous-tension (UVLO)
- Boîtier VQFN à 28 broches de 5 mm ×5 mm avec flancs mouillables
Applications
- Unité principale et groupe automobile
- Module de caméra automobile
- Système ECU vue panoramique
- ECU de système radar
Fiches techniques
Schéma de principe fonctionnel
