Texas Instruments Double convertisseur & régulateur Buck LP87334ERHDR
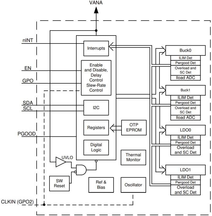
Le double convertisseur et régulateur Buck LP87334ERHDR Texas Instruments est conçu pour répondre aux exigences de gestion de l'énergie dans les applications industrielles. L'appareil comprend deux convertisseurs CC/CC abaisseurs (peuvent être configurés comme un seul régulateur biphasé/deux régulateurs monophasés), deux régulateurs linéaires et deux signaux de sortie numérique à usage général. Le double convertisseur abaisseur à courant élevé LP87334ERHDR et le double régulateur linéaire sont contrôlés par une interface série compatible I²C et un signal d'activation. Ce convertisseur abaisseur prend en charge les délais et séquences de démarrage et d'arrêt programmables, y compris les signaux GPO synchronisés avec le signal d'activation. Le régulateur LP87334ERHDR offre une protection contre les courts-circuits et les surcharges de sortie, un avertissement et une protection contre les surchauffes, une protection contre les surtensions (OVP) et un verrouillage contre les sous-tensions (UVLO). Ce régulateur convient aux applications industrielles d’équipements de test et de mesure.Caractéristiques
- Deux convertisseurs Buck CC/CC à haut rendement :
- Tension de sortie de 0,7 V à 3,36 V
- Courant de sortie maximal de 3 A
- Vitesse de montée de tension de sortie programmable de 0,5 mV/µs à 10 mV/µs
- Fréquence de commutation de 2 MHz
- Mode à spectre étalé et entrelacement de phase pour la réduction des EMI
- Deux régulateurs linéaires
- Tension d'entrée de 2,5 V à 5,5 V
- Tension de sortie de 0.8V à 3.3V
- Courant de sortie maximal de 300 mA
- Plage de tension d'entrée de 2,8 V à 5,5 V
- Signaux de sortie à usage général configurables (GPO, GPO2)
- Fonction d'interruption avec masquage programmable
- Signal de bonne alimentation programmable (PGOOD)
- Protection contre les courts-circuits et les surcharges de sortie
- Avertissement de surchauffe et protection
- Protection contre les surtensions (OVP) et verrouillage contre les sous-tensions (UVLO)
- Boîtier VQFN à 28 broches, 5 mm × 5 mm avec flancs mouillables
Applications
- Appareils industriels
- Test et mesure
- Applications industrielles
Schéma fonctionnel
Schéma
Publié le: 2024-01-09
| Mis à jour le: 2024-01-18
