Texas Instruments Synchroniseur de réseau et nettoyeur de gigue LMK5B33216
Le synchroniseur de réseau et nettoyeur de gigue LMK5B33216 de Texas Instruments est conçu pour répondre aux exigences strictes des applications réseau Ethernet avec une précision de synchronisation < 5 ns (classe D). Le synchroniseur réseau intègre trois DPLLs pour fournir une commutation sans incident. Il dispose également d'une atténuation de vacillement, d'une bande passante de boucle programmable et d'aucun filtre de boucle externe. Cette caractéristique maximise la flexibilité et la facilité d'utilisation. Chaque phase DPLL verrouille un APLL apparié à une entrée de référence. Le APLL3 est doté d'une BVP ultra hautes performances avec la technologie propriétaire Bulk Acoustic Wave (BAW) de TI. Il peut générer des horloges de sortie de 312,5 MHz avec une gigue RMS typique maximale de 42 fs/60 fs, quelles que soient la fréquence d'entrée de référence DPLL et les caractéristiques de gigue. Les APLL2 et APLL1 fournissent des options pour un domaine de seconde ou troisième fréquence et/ou de synchronisation.Les circuits de validation de référence surveillent les horloges de référence DPLL et effectuent un basculement sans-à-coups entre elles lors de la détection d'un événement de commutation. Aucun retard et une construction progressive peuvent être activés pour contrôler la relation de phase de l'entrée à la sortie. Le composant est entièrement programmable via une interface I2C ou SPI. L'EEPROM embarquée peut être utilisée pour personnaliser les horloges de démarrage du système. Le LMK5B33216 de Texas Instruments dispose également de profils ROM par défaut en usine comme options de secours.
Caractéristiques
- Horloges Ethernet VCO BAW à vacillement ultra-faible
- Vacillement RMS standard de 42 fs/60 fs maximum à 312,5 MHz
- Vacillement RMS standard de 47 fs/65 fs maximum à 156,25 MHz
- Trois boucles à verrouillage de phase numériques (DPLL) hautes performances avec des boucles à verrouillage de phase analogiques (APLL) appariées.
- Largeur de bande de la boucle DPLL programmable de 1 mHz à 4 kHz
- Taille du pas de réglage de la fréquence DCO < 1 ppt
- Deux entrées DPLL différentielles ou asymétriques
- Fréquence d'entrée de 1 Hz (1 PPS) à 800 MHz
- État holdover numérique et commutation sans contact
- 16 sorties différentielles avec formats de sortie HSDS/LVPECL, LVDS et HSCL programmables
- Jusqu'à 20 sorties de fréquence totale lorsqu'elles sont configurées avec 6 sorties de fréquence LVCMOS
- Fréquence de sortie de 1 Hz (1 PPS) à 1 250 MHz avec oscillation programmable et mode commun
- Conforme PCIe Gen 1 à 6
- Interface I2C ou SPI 3 fils/4 fils
Applications
- Réseau câblé
- Interconnexion inter/intra CC
- Carte de chronométrage
- Carte de ligne
- Carte fixe (boîte à pizza)
- SyncE (G.8262), SONET/SDH (Stratum 3/3E, G.813, GR-1244, GR-253), horloge secondaire PTP IEEE 1588
- Nettoyage de vacillement, atténuation de déclenchement et génération d'horloge de référence pour 56 g/112 g PAM-4 SerDes
- Commutateurs de centre de données 100G-800G, routeurs de cœur, routeurs de bord, WLAN
- Centre de données et informatique d'entreprise
- Carte d'interface réseau intelligente (NIC)
- Réseaux de transport optique (OTN G.709)
- Accès de ligne fixe large bande
- Industriel
- Test et mesure
- Imagerie médicale
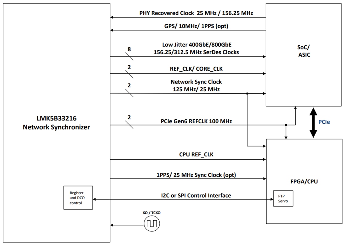
Schéma de principe du système
Publié le: 2022-09-06
| Mis à jour le: 2024-01-08
