Texas Instruments Correcteurs de câble SDI 12 G LMH12x9
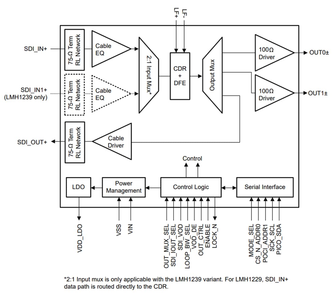
Les correcteurs de câble SDI 12 G LMH12x9 de Texas Instruments sont des correcteurs de câble adaptatifs à longue portée avec un minuteur intégré, des deux sorties et une sortie en boucle de 75 Ω. Le dispositif est conçu pour corriger les données transmises sur un câble coaxial de 75 Ω et fonctionne sur les débits de données SMPTE allant de 125 Mbps à 11,88 Gbps. Le correcteur adaptatif à l'entrée SDI permet une compensation automatique des pertes pour une portée de câble Belden jusqu'à 100 m de 1694 A dans les applications vidéo 4K/8K où 12G-SDI (11,88 Gbps) est utilisé. Le minuteur intégré atténue le vacillement haute fréquence et régénère complètement les données en utilisant une horloge propre et à faible vacillement. Le filtre de boucle du minuteur est réglable avec un condensateur externe en option pour réduire la largeur de bande de la boucle CDR.Pour une simplicité de routage et un débogage, le LMH12x9 dispose d'un multiplexeur de sortie 1:3 composé de deux ventilateurs 100 Ω avec contrôle VOD et désaccentuation et d'une sortie SDI de boucle 75 Ω. La sortie en boucle 75 Ω est fournie pour étendre la portée du signal ou permettre des diagnostics au niveau du système. Le LMH12x9 est doté de réseaux internes de perte de retour intégrés qui répondent aux strictes spécifications SMPTE pour tous les débits de données. Le LMH12x9 dispose également d'un moniteur interne d'ouverture des yeux et d'une broche programmable pour l'indication de verrouillage CDR, la détection de porteuse d'entrée, la détection de défaut de câble ou les interruptions matérielles pour prendre en charge les diagnostics du système et la mise en marche de la carte.
Lorsqu'il est utilisé dans des applications de correction de câble, le LMH1229 de Texas Instruments est compatible au niveau de la broche avec le LMH1297 (12 G E/S bidirectionnelle UHD-SDI avec minuteur intégré). Le LMH1239 est proposé avec un multiplexeur d'entrée SDI intégré supplémentaire pour la redondance au niveau du système.
Caractéristiques
- Correcteur de câble adaptatif avec minuteur intégré
- Prend en charge les normes ST-2082-1 (12 G), ST-2081-1 (6 G), ST-424 (3 G), ST-292 (HD) et ST-259 (SD)
- Compatible avec DVB-ASI et AES10 (MADI
- Le minuteur sans référence intégré se verrouille sur les débits SMPTE de 11,88 Gbps 5,94 Gbps 2,97 Gbps et 1,485 Gbps, ou les sous-débits divisés par 1,001 de 270 Mbps
- Portée standard du câble (Belden 1694 A), motif PRBS-9
- 100 m à 11,88 Gbps (4Kp60 UHD)
- 150 m à 5,94 Gbps (UHD)
- 220 m à 2,97 Gbps (FHD)
- 300 m à 1,485 Gbps (HD)
- 600 m à 270 Mbps (SD)
- Portée standard du câble (Belden 1694 A), modèle pathologique
- 90 m à 11,88 Gbps (4Kp60 UHD)
- 140 m à 5,94 Gbps (UHD)
- 220 m à 2,97 Gbps (FHD)
- 300 m à 1,485 Gbps (HD)
- 600 m à 270 Mbps (SD)
- Réseau de terminaison et de compensation de perte de retour 75 Ω sur puce
- Caractéristiques de correcteur de câble d'entrée et du minuteur
- Amélioration de la portée du câble avec des motifs de stress
- Paramètres de largeur de bande de la boucle CDR programmables
- Multiplexeur d'entrée 2:1 75 Ω (uniquement LMH1239)
- Caractéristiques du pilote de sortie
- Sortie 1:2 de 100 Ω avec désaccentuation
- Sortie de boucle 75 Ω avec minuteur et avec détection de défaut de câble (jusqu'à 600 m)
- Générateur et vérificateur PRBS intégrés
- Moniteur d'ouverture des yeux interne
- Alimentation unique 2,5 V
- Faible puissance de 350 mW (standard)
- Mode d'économie d'énergie de 70 mW
- Configurable par les broches de contrôle, l'interface SPI ou SMBus
- Boîtier WQFN de 5 mm × 5 mm, 32 broches
- Plage de température de fonctionnement : -40°C à +85 °C
Applications
- Interface numérique série compatible SMPTE
- Routeurs vidéo de diffusion, commutateurs, amplificateurs de distribution et moniteurs
- Vidéo UHDTV/4K/8K/HDTV/SDTV
- Traitement et édition de vidéo numérique
Ressources supplémentaires
Vidéos
Schéma fonctionnel
