Texas Instruments FET GaN 700 V 220 mΩ LMG3626
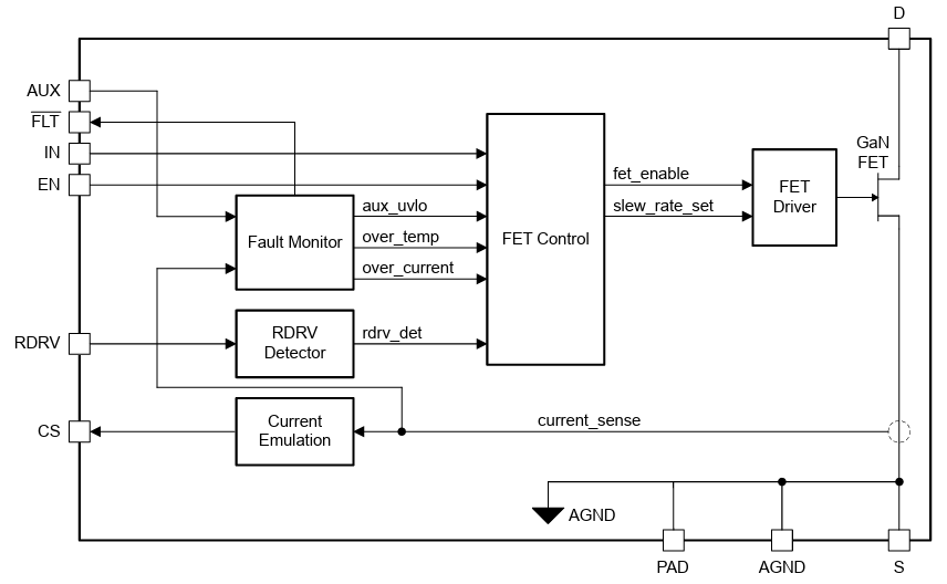
Le FET GaN 700 V 220 mΩ LMG3626 de Texas Instruments est conçu pour être utilisé dans les applications d'alimentation à découpage (SMPS). Ce circuit intégré prend en charge les exigences d'efficacité à charge légère du convertisseur et une exploitation en mode rafale avec de faibles courants de repos et des temps de démarrage rapides. Le LMG3626 combine une commande de grille, une protection et une détection de courant. Les caractéristiques de protection de ce FET GaN incluent un verrouillage de sous-tension (UVLO), une limite du courant cycle par cycle et une protection contre la surchauffe. Le FET GaN LMG3626 prend en charge les hautes tensions rencontrées dans les applications de commutation d'alimentation électrique hors ligne. Le FET GaN est proposé dans un boîtier QFN de 8 mm x 5,3 mm avec une plaquette thermique. Le LMG3626 est idéal pour les adaptateurs et chargeurs CA/CC, la conception de chargeur mural mobile, les prises de courant murales USB, les alimentations auxiliaires, les alimentations électriques SMPS pour téléviseurs et les alimentations LED.Caractéristiques
- FET de puissance GaN de 700 V, 220 mΩ
- Pilote de grille intégré avec des retards de propagation faibles et un contrôle de taux d'accroissement ajustable lors de la mise sous tension
- Émulation de détection de courant avec une largeur de bande élevée et une haute précision
- Protection contre les surintensités cycle par cycle
- Protection contre la surchauffe avec signalisation de la broche FLT
- Courant de repos AUX de 240 μA
- Courant de repos AUX en mode veille de 50 μA
- Tension de broche logique d'entrée et d'alimentation maximale de 26 V
- Plage de température de fonctionnement de -40 °C à 125 °C
- Boîtier QFN de 8 mm x 5,3 mm avec plaquette thermique
Applications
- Adaptateurs et chargeurs CA/CC
- Conception de chargeur mural portable
- Prise de courant murale USB
- Alimentations Auxiliary-power
- Alimentation électrique SMPS pour téléviseurs
- Alimentations LED
Schéma fonctionnel
Publié le: 2025-09-19
| Mis à jour le: 2025-09-30
