Texas Instruments Capteur radar à ondes millimétriques IWRL1432
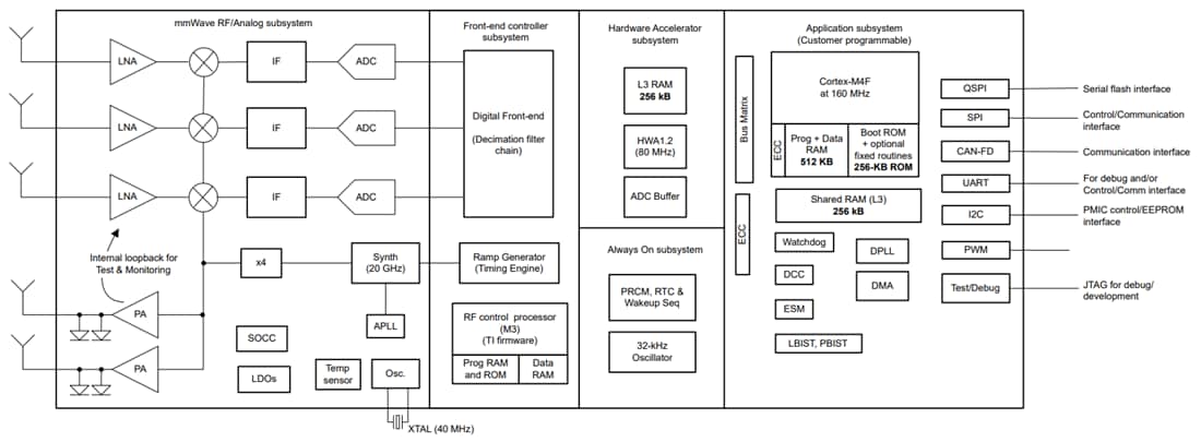
Le capteur de radar à ondes millimétriques IWRL1432 de Texas Instruments est un capteur mmWave intégré à puce unique basé sur la technologie radar FMCC. Le dispositif peut fonctionner dans la bande 76 GHz à 81 GHz et est divisé en quatre domaines de puissance (sous-système RF/analogique, sous-système de contrôle frontal (FECSS), sous-système d'application (APPSS) et accélérateur matériel (HWA)).En fonction des exigences des cas d'utilisation, IWRL1432 dispose de commandes distinctes pour chaque domaine d'alimentation afin de contrôler les états de l'appareil (marche ou arrêt). Il peut exercer divers états de faible consommation comme le sommeil profond et le sommeil, où le mode de sommeil à faible consommation est obtenu par la synchronisation de l'horloge et la mise hors tension des blocs IP internes de l'appareil. Dans ce cas, l'appareil conserve une partie de son contenu, comme l'image de l'application ou le profil RF.
En outre, le dispositif est construit avec le processus CMOS RF 45 nm à faible consommation de TI dans un facteur de forme extrêmement petit et permet des niveaux d'intégration sans précédent. IWRL1432 est conçu pour les systèmes radar à faible consommation d'énergie, autosurveillés et ultraprécis dans le domaine industriel (et de l'électronique personnelle). Ils sont idéaux pour les applications de sécurité commerciale/résidentielle, l'automatisation des bâtiments/usines, l'électronique personnelle, la détection de présence/mouvement et la détection/reconnaissance des gestes pour les interfaces homme-machine.
Caractéristiques
- Émetteur-récepteur FMCW
- BVP, émetteur, récepteur, bande de base et CAN intégrés
- Couverture de 76 GHz à 81 GHz avec bande passante continue de 5 GHz
- Trois canaux de réception et deux canaux de transmission
- Courte portée
- Puissance de sortie typique par Tx 11 dBm
- Facteur de bruit typique 14 dB
- -89dBc/Hz Bruit de phase typique à 1 MHz
- Fonctionnement FMCW
- Largeur de bande IF de 5 MHz, canaux Rx réels uniquement
- Moteur chirp ultra-précis basé sur une PLL fractionnaire N
- Déphaseur binaire par émetteur
- Éléments de traitement
- Cœur Arm® M4F avec FPU à précision unique (160 MHz)
- Accélérateur matériel TI Radar (HWA 1,2) pour les opérations FFT, Log Magnitude et CFAR (80 MHz)
- Prise en charge de plusieurs modes de faible consommation
- Mode veille et mode sommeil profond
- Gestion de l'alimentation
- Prise en charge E/S 1,8 V et 3,3 V
- Réseau LDO intégré pour un PSRR amélioré
- Modes optimisés en termes de nomenclature et de puissance
- Un ou deux rails d'alimentation pour le mode ES 1,8 V, deux ou trois rails d'alimentation pour le mode ES 3,3 V
- Taille de l'emballage du dispositif FCCSP 6,45 mm x 6,45 mm
- Étalonnage et auto-test intégrés
- Micrologiciel intégré (ROM)
- Système d'étalonnage autonome sur puce
- Interface hôte
- UART
- CAN FD
- SPI
- RDIF (Radar Data interface) pour la capture d'échantillons ADC bruts
- Autres interfaces disponibles pour l'application utilisateur
- QSPI
- I2C
- JTAG
- GPIO
- Interface PWM
- Mémoire interne
- 1 Mo de RAM sur puce
- Mémoire partagée L3 configurable pour le cube radar
- RAM de données et de code de (512/640/768 ko)
- Cible conforme à la sécurité fonctionnelle
- Développé pour les applications de sécurité fonctionnelle
- Intégrité du matériel jusqu'à SIL 2 ciblé
- Boîtier FCCSP avec 12 x 12, 102 balles BGA
- Source d'horloge
- Cristal 40,0 MHz pour l'horloge primaire
- Prise en charge d'une horloge externe (carrée/sinusoïdale) à 40,0 MHz
- Oscillateur interne 32 kHz pour les opérations à faible consommation d'énergie
- Prend en charge la plage de température de fonctionnement
- Plage de température de jonction opérationnelle de -40 °C à 105 °C
Applications
- Porte automatisée
- Détecteur de mouvement
- Capteur industriel pour mesurer la plage, la vitesse et l’angle
- Radar d’interrogation au niveau du réservoir
- Détection de déplacement
- Surveillance du trafic
- Détection de proximité
- Surveillance et sécurité
- Protecteurs de sécurité pour l'automatisation des usines
- Détection de niveau
- Vélos électriques
- Barrière de stationnement
- Véhicules tout-terrain
- Trottinette électrique
- Transporteur personnel auto-équilibré
Ressources supplémentaires
- Recommandations concernant le flux du chargeur de démarrage et la réinitialisation à chaud xWRLx432
- Étalonnages dans les capteurs radar à ondes millimétriques de faible puissance de TI
- Améliorer les conceptions industrielles et de transport grâce aux capteurs radar à faible consommation d'énergie de 77 GHz
- Des capteurs radar à 77 GHz pour les applications automobiles et industrielles
Schéma fonctionnel
