Texas Instruments Émetteur-récepteur FMCW monopuce IWR6243
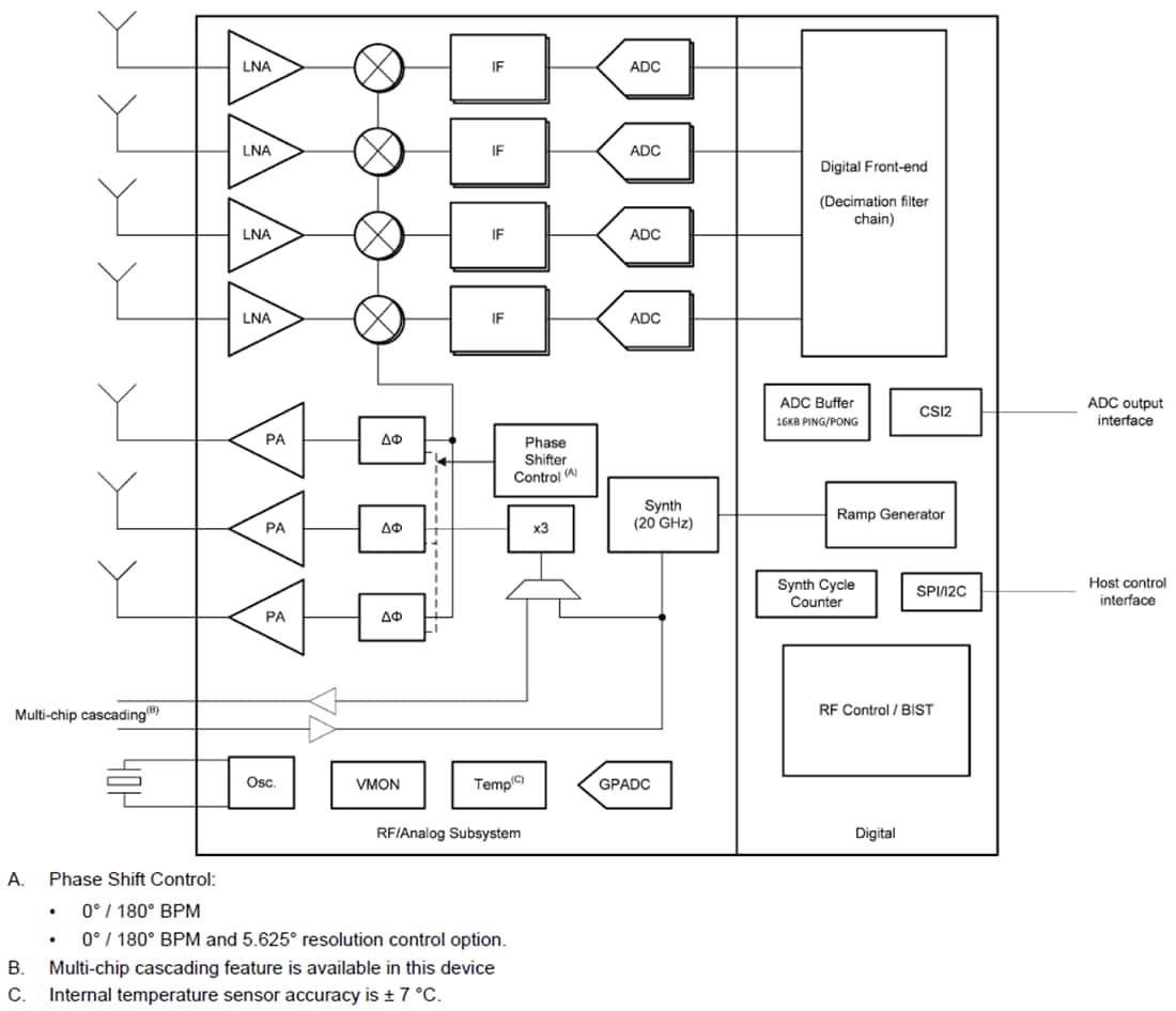
L'émetteur-récepteur FMCW monopuce IWR6243 de Texas Instrument peut fonctionner dans la bande de 57 GHz à 64 GHz. L'appareil permet des niveaux d'intégration sans précédent dans un format extrêmement réduit. L'IWR6243 est une solution idéale pour les systèmes radar basse consommation, auto-surveillés et ultra-précis dans l'espace industriel.L'IWR6243 est une solution monopuce d'émetteur-récepteur FMCW autonome qui simplifie la mise en œuvre des capteurs radar. Il est construit sur le processus RFCMOS 45 nm basse consommation de TI, qui permet une implémentation monolithique d'un système 3TX, 4RX avec des convertisseurs CAN et PLL intégrés. De simples modifications du modèle de programmation peuvent permettre diverses implémentations de capteurs (court, moyen, long) avec la possibilité de reconfiguration dynamique pour la mise en œuvre d'un capteur multimode.
Caractéristiques
- Émetteur-récepteur FMCW
- BVP, émetteur, récepteur, bande de base et CAN intégrés
- Couverture dde 57 GHz à 64 GHz avec bande passante disponible de 7 GHz
- Quatre canaux de réception
- Trois canaux d'émission
- Prend en charge le déphaseur 6 bits pour la formation de faisceaux d'émission
- Moteur chirp ultra-précis basé sur PLL n-fractionnée
- Puissance d'émission 12 dBm
- Facteur de bruit de réception 10 dB
- Bruit de phase à 1 MHz
- -93dBc/Hz
- Étalonnage et auto-test intégrés
- Système d'auto-étalonnage sur l'ensemble de la fréquence et de la température
- Interface hôte
- Interface de contrôle avec un processeur externe via interface SPI ou I2C
- Interface de données avec un processeur externe sur MIPI D-PHY, CSI2 v1.1 et LVDS (uniquement pour le débogage)
- Interruptions pour rapport de défauts
- Conforme à la sécurité fonctionnelle
- Développé pour les applications de sécurité fonctionnelle
- Documentation disponible pour faciliter la conception de systèmes de sécurité fonctionnelle CEI 61508 jusqu'à SIL-3
- Intégrité matérielle jusqu'à SIL-2
- Certification liée à la sécurité
- Certifié CEI 61508 jusqu'à SIL-2 par TUV SUD
- Caractéristiques avancées de l'IWR6243
- Autosurveillance intégrée avec implication limitée du processeur hôte
- Architecture de bande de base complexe
- Possibilité de mettre en cascade plusieurs appareils pour augmenter le nombre de canaux
- Capacité de détection d'interférences intégrée
- Gestion de l'alimentation
- Réseau LDO intégré pour un PSRR amélioré
- Les E/S prennent en charge la double tension 3,3 V/1,8 V
- Source d'horloge
- Prend en charge l'horloge pilotée en externe (carré/sinusoïdal) à 40 MHz
- Prend en charge une connexion à quartz de 40 MHz avec des condensateurs de charge
- Conception matérielle simple
- Pas de 10,65 mm, boîtier BGA à puce retournée de 10,4 mm × 10,4 mm à 161 broches pour un assemblage facile et une conception PCB économique
- Petite taille de solution
- Conditions de fonctionnement
- Plage de température de jonction de –40 °C à +105 °C
Applications
- Capteur industriel pour la mesure de la distance, la vitesse et l'angle
- Automatisation des bâtiments
- Détection de déplacement
- Reconnaissance des gestes
- Robotique
- Surveillance du trafic
- Détection de proximité et de position
- Surveillance et sécurité
- Protections de sécurité pour l'automatisation d'usine
- Comptage de personnes
- Détection de mouvement
- Détection d'occupation
Schéma fonctionnel
Publié le: 2024-01-19
| Mis à jour le: 2024-02-15
